SIGNATURE HARDWARE 464496 Stanburn 8-in W 1-Light Aged Brass Modern/Contemporary Wall Sconce

Product Information
STANBURN SKU: 464496
The STANBURN SKU: 464496 is an electric fixture designed for installation in sinks and counter tops. It comes with a circular strap, outlet box screws, mounting screws, and ball nuts. The product is made by Signature Hardware and can be purchased through their website or authorized retailers.
Product Installation Precautions
- Consult a professional if you are unfamiliar with installing electric fixtures.
- Observe all local plumbing and building codes.
- Inspect the product for shipping damage before installation.
- Signature Hardware accepts no liability for any damage to the faucet, plumbing, sink, counter top, or for personal injury during installation.
Product Care Instructions
- To clean, wipe the fixture with a soft cloth.
- Clean the glass with a mild soap.
- Do not use abrasive materials such as scouring pads or powders, steel wool or abrasive paper.
Product Additional Questions?
If you have any questions regarding the product or installation, please check out Signature Hardware’s Help Center on their website or contact their customer service through live chat or email.
Product Usage Instructions
- Gather all the required materials for installation including safety goggles, wire cutters, and a Phillips screwdriver. Consult a professional if needed.
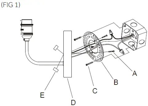
- Thread the mounting screws (A) into the matching holes in the circular strap (B).
- Secure circular strap (B) to the outlet box with outlet box screws (C).
- Connect the black or red supply wire (lead wire) to the black wire and the white supply wire (neutral wire) to the white wire. If using parallel wires, connect the ridged wire to the neutral wire and the smooth wire to the other wire.
- Tuck the wires carefully inside the outlet box.
- Raise the front plate (D) allowing for the mounting screws (A) to protrude through the holes on the front plate (D), and secure with the ball nuts (E).
- If you have any electrical questions, consult your local electrical code for approved grounding methods.
After installation, follow the care instructions to ensure proper maintenance of the fixture.
BEFORE YOU BEGIN
We recommend consulting a professional if you are unfamiliar with installing electric fixtures. Signature Hardware accepts no liability for any damage to the faucet, plumbing, sink, counter top, or for personal injury during installation. Observe all local plumbing and building codes. Unpack and inspect the product for shipping damage. If any damage is found, contact our Customer Relations team via live chat at www.signaturehardware.com or by emailing [email protected].
GETTING STARTED
- Ensure that you have gathered all the required materials that are needed for the installation.
FOR YOUR SAFETY
WARNING: Be sure the electricity to the wires you are working on is shut off, either the fuse is removed or the circuit breaker is shut off. You don’t need special tools to install this fixture. Be sure to follow the steps in the order given. Under no circumstances should a fixture be hung on house electrical wires, nor should a swag type fixture be installed on a ceiling which contains a radiant type heating system. Read instructions carefully. If you are unclear as to how to proceed, consult a qualified electrician.
CARE INSTRUCTIONS
To clean, wipe fixture with a soft cloth. Clean glass with a mild soap. Do not use abrasive materials such as scouring pads or powders, steel wool or abrasive paper.
TOOLS AND MATERIALS


SAVE THIS MANUAL: RETAIN FOR CONSUMER’S USE.
READ THESE INSTRUCTIONS COMPLETELY BEFORE
INSTALLING THE PRODUCT: FOR PRODUCT OR INSTALLATION QUESTIONS PLEASE CALL CUSTOMER SERVICE AT 1-800-221-3379.

INSTALLATION

- Secure circular strap (B) to the outlet box with outlet box screws (C).
- Connect the white wire from the fixture to the white wire from the outlet box and the black wire from the fixture to the black wire from the outlet box. Cover the two wire connections using the two provided wire connectors. Wrap the two wire connections with electrical tape for a more secure connection. Attach the grounding wire connections with electrical tape for a more secure connection. Connect the copper ground wires from the fixture and from the outlet box to the ground screw on the circular strap.
- Note: If you have electrical questions, consult your local electrical code for approved grounding methods.
- After wires are connected, tuck them carefully inside outlet box. Raise the front plate (D) allowing for the mounting screws (A) to protrude through the holes on front plate (D), and secure with the ball nuts (E).

- Place the metal shade (G) over the socket (F) and se cure with the socket ring (H).
CONTACT
- 1.855.715.1800
- signaturehardware.com
REVISED: 11/29/2021
CODES: PHWL3391




















