Sunnydaze DECOR QX-4LR 4-Foot Log Rack

Thank you for choosing Sunnydaze Decor. We stand behind our brand and the quality of the items we sell. Replacement parts or products will be sent at our discretion within the 1-year warranty period. Proof of purchase, with the date of purchase as well as photos of the merchandise defect, must be provided. Photos are used to determine the cause of defects and for future quality control. Register your warranty at https://tiny.cc/SunnydazeWarranty
If you have any questions, comments or concerns, feel free to contact us by phone at 833-982-1977, by email: [email protected] , or via our contact us page at https://tiny.cc/SunnydazeContact
Inspect packaging to ensure all parts are accounted for before disposing of packing materials.

WARNING CHOKING HAZARD — This item contains small parts that can be swallowed. Keep children and pets away during assembly.
WARNING: Manufacturer and seller expressly disclaim any and all liability from personal injury, property damage or loss, whether direct or indirect, or incidental, resulting from the incorrect attachment, improper use, inadequate maintenance, or neglect of this product.
ASSEMBLY
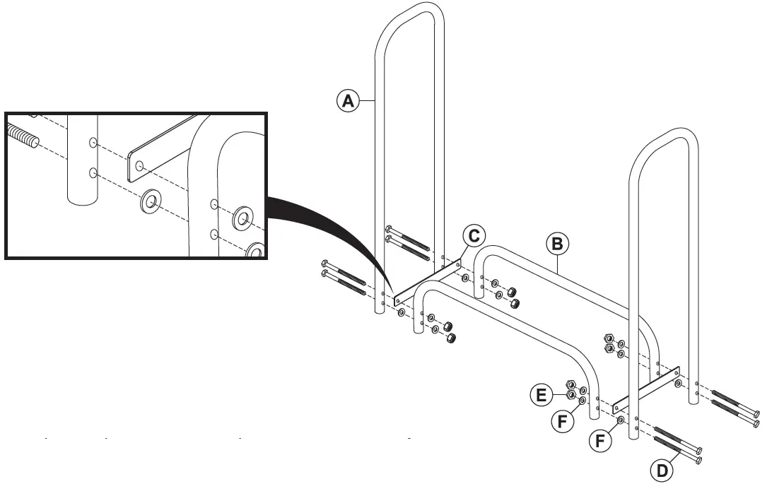
HELPFUL HINT: When installing a lock nut, make sure the raised center portion faces outward; the flat surface goes on first. Hand-tighten until you feel resistance, which is caused by the nylon insert.
After all components have been loosely assembled, use the included spanners to tighten the lock nuts.
- Place two M6x75mm Bolts (D) through the mounting holes on one side of Side Panel (A).
Then, slide one Washer (F) onto the bottom bolt, and Brace (C) onto the top bolt. - Align Rail (B) with the bolts. Place one washer onto each bolt. Hand-tighten one Lock Nut (E) onto each bolt.
- Repeat this process until all components have been loosely attached.
- Tighten all hardware using included Spanners (G).
TIP: To tighten the hardware more quickly, turn the spanner on the bolt head clockwise while simultaneously turning the spanner on the lock nut counterclockwise.

SAFETY STATEMENTS & WARNINGS
- Place log rack on a hard, dry surface.
- Do not overload the log rack — holds up to 1/2 face-cord of firewood.
- Ensure fittings are tight before use. Periodically check and tighten hardware as necessary.
- Protect the unit from outdoor elements with a cover. Cover not included.
- Do not allow children to play with or around the log rack.
Any modification to the product or failure to follow recommended care will void the product warranty.
WARNING!
Manufacturer and seller expressly disclaim any and all liability from personal injury, property damage or loss, whether direct or indirect, or incidental, resulting from the incorrect attachment, improper use, inadequate maintenance, or neglect of this product.












