HOTPOINT NSWA 845C WW Freestanding Washing Machine
CONTROL PANEL
- ON/OFF button
- KEY LOCK button
- EXTRA TOUCH button
- EXTRA TOUCH indicator lights
- START/PAUSE button and indicator light
- OPTION button and indicator light
- DELAY START button
- SPIN button
- TEMPERATURE button
- WASH CYCLE SELECTOR KNOB

WASH CYCLE TABLE
The cycle duration indicated on the display or instruction manual is an estimate based on standard conditions. The actual duration may vary in relation to several factors, such as the temperature and pressure of the incoming water, ambient temperature, amount of detergent, load quantity and type, load balancing and any additional options selected. The values given for programmes other than the Eco 40-60 programme are indicative only. Eco 40-60 – Test wash cycle in compliance with EU Ecodesign regulation 2019/2014. The most efficient programme in terms of energy and water consumption for washing normally soiled cotton laundry.
Note: spin speed values shown on the display can slightly differs from the values stated in the table.
For all testing institutes:
- Long cotton cycle: set programme Cotton at temperature 40°C.
- Long synthetics cycle: set cycle Synthetics at a temperature of 40°C.
- By selecting the Spin & Drain cycle and excluding the spin cycle, the washing machine will drain only.
- The duration of the wash cycles can be checked on the display.
- After programme end and spinning with maximum selectable spin speed, in default programme setting.
- The display will show the suggested spin speed as default value.
- If “Steam Hygiene” option is set, the duration of the wash cycles will increase.
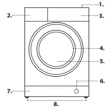
PRODUCT DESCRIPTION
- Top
- Detergent dispenser drawer
- Control panel
- Handle
- Porthole door
- Drain pump (behind the plinth)
- Plinth (removable)
- Adjustable feet (2)

DETERGENT DISPENSER DRAWER
Compartment *:
Do not insert detergent in this compartment.
Compartment 1: Washing detergent (powder or liquid)
If liquid detergent is used, the removable plastic partition A (supplied) should be used for proper dosage. If powder detergent is used, place the partition into slot B.
Compartment 2: Additives (fabric softeners, etc.)
- The fabric softener must not exceed the “MAX” level.
- Use powder detergent for white cotton garments, for pre-washing, and for washing at temperatures over 60°C.
- Follow the instructions given on the detergent packaging.
WASH CYCLES
Follow the instructions on the symbols of the garment’s wash care label. The value indicated in the symbol is the maximum recommended temperature for washing the garment.
Mixed
For washing lightly to normally soiled resistant garments in cotton, linen, synthetic fibres and mixed fibres.
Eco 40-60
For washing normally soiled cotton garments declared to be washable at 40 °C or 60 °C, together in the same cycle. This is the standard cotton programme and the most efficient in terms of water and energy consumption.
Cotton
Suitable for washing towels, underwear, table cloths, etc. made of resistant linen and cotton that are moderately to heavily soiled.
Synthetics
Suitable for washing moderately soiled garments made of synthetic fibres (e.g. polyester, polyacrylic, viscose, etc.) or mixed synthetic-cotton fibres.
Delicates
Suitable for washing lightly soiled garments made of synthetic fibres (e.g. polyester, polyacrylic, viscose, etc.) or mixed synthetic-cotton fibres.
Wool – Woolmark Apparel Care – Green:
The “Wool” wash cycle is approved by the Woolmark Company for washing wool garments classified as “hand-washable”, provided that the wash complies with the instructions appearing on the garment’s label and with those provided by the manufacturer of this washing machine
Anti Allergy
Suitable for removing major allergens such as pollen, mites and cat or dog hair.
Spin & Drain
Spins the load then empties the water. For resilient garments. If you exclude the spin cycle, the machine will drain only.
Rinse & Spin
Rinses and then spins. For resilient garments.
Baby
Use the special wash cycle to remove the soiling typically caused by babies, while removing all traces of detergent from nappies in order to prevent the delicate skin of babies from suffering allergic reactions. The cycle has been designed to reduce the amount of bacteria by using a greater quantity of water and optimising the effect of special disinfecting additives added to the detergent.
20°C
For washing lightly soiled cotton garments, at a temperature of 20 °C.
Duvet
Suitable for washing clothing padded with goose down, such as single duvets (weighing under 3,5 kg), cushions or down jackets. Duvets should be loaded into the drum with their edges folded inwards and no more than ¾ of the total drum volume should be used up. For best results, it is advisable to use liquid detergent to be poured into the detergent drawer.
White
For heavily soiled whites and resistant colours.
30 min
For washing lightly soiled garments in a short time. Not suitable for wool, silk and garments to be washed by hand.
Full Load 45 min
Suitable for washing a full load of cotton clothes moderately soiled in 45 minutes.
Anti Stain 40°
the programme is suitable to heavily-soiled garments with resistant colours. It ensures a washing class that is higher than the standard class (A class). When running the programme, do not mix garments of different colours. We recommend the use of powder detergent. Pre-treatment with special additives is recommended if there are particularly obstinate stains.
DISPLAY
The display is useful when programming the washing machine and provides plenty of information. The duration of the available wash cycles and the remaining time of a running cycle appear (the display will show the maximum duration of the cycle chosen, which may decrease after several minutes, since the effective duration of the programme varies depending on the wash load and the settings chosen); if the DELAY START option has been set, the countdown to the start of the selected wash cycle will appear. Pressing the corresponding button allows you to view the maximum spin speed and temperature values attained by the machine during the set wash cycle, or the values selected most recently, if these are compatible with the set wash cycle.
Locked door indicator
When lit, the symbol indicates that the door is locked. To prevent any damage, wait until the symbol turns off before opening the door. To open the door while a cycle is in progress, press the START/PAUSE button
; if the
symbol is off, the door can be opened.
FIRST-TIME USE
Once the appliance has been installed, and before it is used for the first time, run a wash cycle with a very little detergent and no laundry, by setting the “Auto-Clean” cycle. (see “CARE AND MAINTENANCE”)
DAILY USE
- Prepare the laundry by following the suggestions appearing under the “TIPS AND SUGGESTIONS” section.
- Press the ON/OFF button
; the indicator light relative to START/PAUSE
will flash slowly green. - Open the door. Load the laundry while making sure not to exceed the maximum load quantity indicated in the wash cycle table.
- Pull out the detergent dispenser drawer and pour the detergent into the relevant compartments, as described in the “DETERGENT DISPENSER DRAWER” section.
- Close the door.
- Select the desired wash cycle.
- Pressing the
button gradually reduces the temperature down to the cold wash “OFF” setting. Pressing the
button gradually reduces the spin speed until it is completely excluded (“OFF” setting). Pressing the buttons further restores the maximum allowed values for the selected cycle. - Select the desired options.
STARTING CYCLE
Press the START/PAUSE
button. The machine will lock the door (
symbol on) and the drum will start to rotate; the door will be unlocked (
symbol OFF) and then locked again (
symbol on) as preparation phase of each washing cycle. The “Clicking” noise is part of the door locking mechanism. Water will enter the drum and start the washing phase once the door is locked.
PAUSING A CYCLE
To pause the wash cycle, press the START/PAUSE
button again; the indicator light will flash amber. To start the wash cycle from the point at which it was interrupted, press the START/PAUSE
button again.
OPENING THE DOOR, IF NECESSARY
Once a cycle starts, the
symbol turns on to signal that the door cannot be opened. While a wash cycle is running, the door remains locked. To open the door while a cycle is under way, for example, to add or remove garments, press the START/PAUSE
button to pause the cycle; the indicator light will flash amber. If the
symbol is not lit, the door may be opened. Press the START/PAUSE
button again to continue the cycle.
CHANGING A RUNNING WASH CYCLE
To change a wash cycle while it is in progress, pause the washing machine using the START/PAUSE
button (the relative indicator light will flash amber), then select the desired cycle and press the START/PAUSE
button again. To cancel a cycle that has already begun, press and hold the ON/OFF
button. The cycle will be stopped and the machine will switch off.
AT THE END OF THE WASH CYCLE
This will be indicated by the word “END” on the display; when the
symbol switches off, the door may be opened. Open the door, unload the laundry and switch off the machine. If you do not press “ON/OFF”
button, the washing machine will switch off automatically after about a 10 minutes.
OPTIONS
If the selected option is not compatible with the set wash cycle, the indicator light will flash and the option will not be activated.
Extra Rinse
Selecting this option allows for enhancing rinsing efficiency and fully removing the detergent. It is particularly useful for sensitive skin.
Extra Touch
After pushing the button for the 1st time, option “Rapid Option”
is selected and the cycle duration will be reduced. After pushing the button for the 2nd time, option “Steam Hygiene”
enhances washing performance by generating steam during the wash cycle to remove any bacteria from the fibres, which are treated at the same time. The steam generated during the operation of the washing machine may cause the porthole door to become hazy
Delay
To set a delayed start for the selected cycle, press the corresponding button repeatedly until the desired delay period is reached. When this option has been activated, the symbol lights up on the display. To remove the delayed start setting, press the
button until “OFF” appears on the display.
Temperature
Each wash cycle has a pre-defined temperature. To modify the temperature, press the button. The value will appear on the display.
Spin
Each wash cycle has a pre-defined spin speed. To modify the spin speed, press the button
. The value will appear on the display.
KEY LOCK
To activate the control panel lock, press and hold the
button for approximately 2 seconds. When the
symbol is lit, the control panel is locked (except for the ON/OFF
button). This will prevent accidental modifications to wash cycles, especially when children are at home. To deactivate the control panel lock, press and hold the
button for approximately 2 seconds.
TIPS AND SUGGESTIONS
Divide the laundry according to:
Type of fabric (cotton, mixed fibres, synthetics, wool, garments to be hand-washed). Colour (separate coloured garments from whites, wash new coloured garments separately). Delicates (small garments – such as nylon stockings – and items with hooks – such as bras: insert them in a fabric bag).
Empty the pockets:
Objects such as coins or lighters can damage the washing machine and the drum. Check all buttons.
Follow the dosage recommendation/additives
It optimizes the cleaning result, it avoids irritating residues of surplus detergent in your laundry and it saves money by avoiding waste of surplus detergent
Use low temperature and longer duration
The most efficient programmes in terms of energy consumption are generally those that perform at lower temperatures and longer duration.
Observe the load sizes
Load your washing machine up to the capacity indicated in the “PROGRAMME CHART” table to save water and energy.
Noise and remaining moisture content
They are influenced by the spinning speed: the higher the spinning speed in the spinning phase, the higher the noise and the lower the remaining moisture content.
CARE AND MAINTENANCE
For any cleaning and maintenance, switch off and unplug the washing machine. Do not use flammable fluids to clean the washing machine. Clean and maintain your washing machine periodically (at least 4 times per year).
Cutting off the water and electricity supplies
Close the water tap after every wash. This will limit wear on the hydraulic system inside the washing machine and help to prevent leaks. Unplug the washing machine when cleaning it and during all maintenance work.
Cleaning the washing machine
- The outer parts and rubber components of the appliance can be cleaned using a soft cloth soaked in lukewarm soapy water.
- Do not use solvents or abrasives.
- The washing machine has a “Auto-Clean” cycle for its internal parts; it must be run without any load in the drum.
- To optimise this cycle, it is possible to use either detergent (10% of the quantity specified for lightly soiled garments) or special additives to clean
the washing machine. - We recommend running a cleaning cycle every 40 wash cycles.
- To start the programme, close the door, turn the machine ON and press button for 5 seconds.
- The cycle will start automatically and will run for about 70 minutes. To stop the cycle, press the START/PAUSE button.
Cleaning the detergent dispenser drawer
Remove the dispenser drawer by lifting and pulling it outwards. Wash it under running water; this procedure should be effected regularly.
Caring for the door and drum
Always leave the porthole door ajar in order to prevent unpleasant odours from forming.
Cleaning the pump
The washing machine is fitted with a self-cleaning pump that does not require any maintenance. Small items (such as coins or buttons) may sometimes fall into the protective pre-chamber situated at the base of the pump Make sure that the wash cycle has ended and unplug the appliance.
To access the pre-chamber:
- remove the covering panel on the front side of the machine by inserting a screwdriver in the centre and sides of the panel and using it as a lever;
- loosen the drainage pump cover by turning it anti-clockwise: it is normal for some water to leak out;
- clean the inside thoroughly;
- screw the cover back on;
- put the panel back in place, making sure the hooks slot in place before pushing the panel onto the appliance.
Checking the water inlet hose
Check the water inlet hose at least once a year. If it is cracked or broken, it must be replaced: during wash cycles, the high pressure of the water could suddenly split the hose open. Never use hoses that have already been used.
LOAD BALANCING SYSTEM
Before every spin cycle, to avoid excessive vibrations before every spin and to distribute the load in a uniform manner, the drum rotates continuously at a speed which is slightly greater than the washing rotation speed. If, after several attempts, the load is not balanced correctly, the machine spins at a reduced spin speed. If the load is excessively unbalanced, the washing machine performs the distribution process instead of spinning. To encourage improved load distribution and balance, we recommend small and large garments are mixed in the load.
ACCESSORIES
Contact our Technical Assistance Service to check whether the following accessories are available for this washing machine model. Stacking kit With this accessory you can secure the tumble dryer to the upper part of your washing machine to save space and facilitate loading and unloading of the tumble dryer.
TRANSPORT AND HANDLING
Do not lift the washing machine by gripping it from the upper section. Unplug the appliance and close the water tap. Check that the door and detergent dispenser drawer are tightly closed. Detach the filling hose from the water tap then detach the drain hose. Empty all the water remaining in the hoses and secure the latter so that they do not get damaged during transport. Apply the transport bolts back on. Repeat, in reverse order, the transport bolt removal procedure described in the “Installation instructions”.
TROUBLESHOOTING
| Anomalies | Possible causes / Solution |
| The washing machine does | The appliance is not plugged into the socket fully, or not enough to make contact. |
| not start. | There is no power in the house. |
|
The wash cycle does not start. | The washing machine door is not closed properly. |
| The ON/OFF button has not been pressed. | |
| The START/PAUSE button has not been pressed. | |
| The water tap has not been opened. | |
| A delay has been set for the start time. | |
|
The washing machine does not fill with water (“H2O” appears on the display). | The water inlet hose is not connected to the tap. |
| The hose is bent. | |
| The water tap has not been opened. | |
| There is no water supply in the house. | |
| The pressure is too low. | |
| The START/PAUSE button has not been pressed. | |
|
The washing machine continuously loads and unloads water. | The drain hose is not fitted between 65 and 100 cm from the floor. |
| The free end of the hose is immersed in water. | |
| The wall drainage system is not fitted with a breather pipe.
If the problem persists even after these checks, turn off the water tap, switch the appliance off and contact the Technical Assistance Service. If the home is on one of the upper floors of a building, there may be problems relating to back-siphonage, causing the washing machine to fill with water and drain continuously. Special anti-siphon valves are available in shops and help to prevent this inconvenience. | |
| The washing machine does not drain or spin. | The cycle does not include drainage: with certain cycles it must be started manually. |
| The drain hose is bent. | |
| The drainage duct is clogged. | |
| The washing machine vibrates a lot during the spin cycle. | The drum was not unlocked correctly during installation. |
| The washing machine is not level. | |
| The washing machine is tucked between furniture cabinets and the wall. | |
| The washing machine leaks. | The water inlet hose is not screwed on properly. |
| The detergent dispenser drawer is obstructed. | |
| The drain hose is not properly attached. | |
| The “Options” and START/ PAUSE indicator lights flash rapidly and the display visualises an error code (e.g.: F-01, F-…). | Switch off the machine and unplug it, wait for approximately 1 minute and then switch it back on again. If the problem persists, contact the Technical Assistance Service. |
| There is too much foam. | The detergent is not suitable for machine washing (it should display the text “for washing machines” or “hand and machine wash”, or the like). |
| Too much detergent was used. | |
| After pressing START/PAUSE button, the drum turns but the washing machine does not fill water and no error on display. | See “DEMO MODE” |
DEMO MODE: to deactivate this function, switch the washing machine OFF. Than press and hold “Start/Pause” button, within 5 seconds press also “ON/OFF” button and hold both buttons for 2 seconds.
Policies, standard documentation, ordering of spare parts and additional product information can be found by:
- Visiting the website http://docs.hotpoint.eu. and parts-selfservice.whirlpool.com
- Using the QR code.
- Alternatively, contact our Technical Assistance Service (the telephone number is indicated in the warranty booklet). When contacting the Technical Assistance Service, provide the codes shown on the adhesive label applied to the inside of the door.
Repair & Maintenance
For User’s Repair & Maintenance Information visit: www.hotpoint.eu.
The model information can be retrieved using the QR-Code reported in the energy label. The label also includes the model identifier that can be used to consult the portal of the registry at https://eprel.ec.europa.eu






















