BLZ-SSRF126 4.5 Electric Refrigerator and Beverage Cooler
Instruction Manual
www.blazegrills.com
Blaze® 4.5 Electric Refrigerator and Beverage
Cooler BLZ-SSRF126
BEFORE USE, PLEASE READ AND FOLLOW ALL SAFETY
RULES AND OPERATING INSTRUCTIONS.
-Save these instructions-
PARTS & FEATURE

Part
| 1 | Interior Light Cover | 8 | Can Dispenser |
| 2 | Temperature Control Knob | 9 | Condiment Bar |
| 3 | Wire Shelves | 10 | Door |
| 4 | Glass Shelf | 11 | Bottom Hinge |
| 5 | Drawer | 12 | Top Hinge |
| 6 | Leveling Leg | 13 | Top Hinge Cover |
| 7 | Door Bar (2) |
REFRIGERATOR SAFETY
Your safety and the safety of others are very important.
We have provided many important safety messages in this manual for your appliance. Always read and obey all safety messages.
This is the Safety Alert Symbol. This symbol alerts you to potential hazards that can kill or injure you and others. All safety messages will follow the Safety Alert Symbol and either the words ” DANGER”, “WARNING” or “CAUTION”.
| Danger means that failure to heed this safety statement may result in severe personal injury or death. | |
| A warning means that failure to heed this safety statement may result in extensive product damage, serious personal injury, or death. | |
| Caution means that failure to heed this safety statement may result in minor or moderate personal injury, property, or equipment damage. |
All safety messages are for your safety or to alert you to potential hazards, tell you how to reduce the chance of injury, and let you know what can happen if the instructions are not followed.
Prop. 65 Warning for California Residents
WARNING: This product can expose you to chemicals including [Lead], which is known to the State of California to cause cancer, and [Bisphenol A], which is known to the State of California to cause birth defects or other reproductive harm. For more information go to www.P65Warnings.ca.gov.
IMPORTANT SAFETY GUIDELINES
Before the refrigerator is used, it must be properly positioned and installed as described in this manual, so read the manual carefully. To reduce the risk of fire, electrical shock, or injury when using the refrigerator, follow these basic precautions, including the following:
![]()
- Plug into a grounded 3-prong outlet, do not remove the grounding prong, do not use an adapter, and do not use an extension cord. If the SUPPLY CORD is damaged, it must be replaced by the manufacturer, its service agent, or similarly qualified persons in order to avoid a hazard.
- It is recommended that a separate circuit, serving only your refrigerator be provided. Use receptacles that cannot be turned off by a switch or pull chain.
- Never clean refrigerator parts with flammable fluids. These fumes can create a fire hazard or explosion. And do not store or use gasoline or other flammable vapors and liquids in the vicinity of this or any other appliance. The fumes can create a fire hazard or explosion.
- Before proceeding with cleaning and maintenance operations, make sure the power line of the unit is disconnected.
- Do not connect or disconnect the electric plug when your hands are wet.
- Unplug the refrigerator or disconnect the power before cleaning or servicing. Failure to do so can result in electrical shock or death.
- Do not attempt to repair or replace any part of your refrigerator unless it is specifically recommended in this manual. All other servicing should be referred to a qualified technician. Consult the repair manual or owner’s guide before attempting to service this product. All safety precautions must be followed.
- DANGER: Risk of child entrapment. Before you throw away your old refrigerator or freezer:
* Take off the doors.
* Leave the shelves in place so that children may not easily climb inside.
![]()
- Use two or more people to move and install refrigerators. Failure to do so can result in back or another injury.
- The refrigerator must be installed with all electrical, water, and drain connections in accordance with state and local codes. A standard electrical supply (115 V AC only, 60 Hz), properly grounded in accordance with the National Electrical Code and local codes and ordinances is required.
- Do not kink or pinch the power supply cord of the refrigerator.
- The fuse (or circuit breaker) size should be 15 amps.
- It is important for the refrigerator to be leveled in order to work properly. You may need to make several adjustments to level it.
- All installations must be in accordance with local plumbing code requirements.
- Make certain that the lines are not pinched, kinked, or damaged during installations.
- Check for leaks after connection.
- Never allow children to operate, play with or crawl inside the refrigerator.
- Do not use solvent-based cleaning agents or abrasives on the interior. These cleaners may damage or discolor the interior.
- Do not use this apparatus for other than its intended purpose.
- To ensure proper ventilation for your refrigerator, the front of the unit must be completely unobstructed. Choose a well-ventilated area with temperatures above 60°F (16°C) and below 90°F (32°C). This unit must be installed in an area protected from the element, such as wind, rain, water spray or drips.
The appliance should be installed in accordance with local electrical code requirements. It should also be placed in a location that is strong enough to support its total weight, keeping in mind that it will weigh substantially more when fully loaded than when empty.
Before you plug the appliance into a power supply, be sure to let it stand upright for at least 24 hours to allow the compressor’s oils to settle.
WARNING: Use two or more people to move and install the appliance. Failure to do so can result in back or another injury. Carefully remove the packaging materials. Remove any shipping tape and glue from your appliance before using it. Do not use sharp instruments, rubbing alcohol, flammable fluids, or abrasive cleaners to remove tape or glue. These products can damage the surface of your appliance.
Location and Installing Your appliance
- Remove interior and exterior packaging prior to installation. Wipe the outside of the appliance with a soft, dry cloth and the inside with a lukewarm wet cloth.
- Place the appliance on a floor that is strong enough to support it when it is fully loaded.
- Do not place the appliance in direct sunlight or near sources of heat, such as a stove or heater, as this can increase electrical consumption. Extreme cold ambient temperatures may also cause the appliance to perform improperly.
- Do not use the appliance near water, for example in a wet basement or near a sink.
- Before connecting the appliance to a power source, let it stand upright for approximately 24 hours. This will reduce the possibility of a malfunction in the cooling system from handling during transportation.
(A) Before Using Your Unit
- Check to be sure you have all of the following parts:
- 3 Shelves
- 1 Glass Lid
- 1 Crisper
- 1 Instruction Manual.
- Clean the interior surface with lukewarm water using a soft cloth.
(B) Installing Your Unit
- This appliance is designed to be free-standing only, and should not be recessed or built-in. Allow 5 inches of space between the back and sides of the unit, which allow proper air circulation to cool the compressor and condenser.
- Place your unit on a floor that is strong enough to support the unit when it is fully loaded. To level your unit, adjust the two leveling legs at the bottom of the unit.
- Locate the unit away from direct sunlight and sources of heat (stove, heater, radiator, etc.). Direct sunlight may affect the acrylic coating and heat sources may increase electrical consumption. Extreme cold ambient temperatures may also cause the unit not to perform properly.
- Avoid locating the unit in moist areas.
- Plug the unit into an exclusive, properly installed-grounded wall outlet. Do not under any circumstances cut or remove the third (ground) prong from the power cord. Any
questions concerning power and/or grounding should be directed toward a certified electrician or an authorized Products service center. - After plugging the appliance into a wall outlet, allow the unit to cool down for 2-3 hours before placing the container in the refrigerator compartment.
(C) Electrical Connections
![]()
Improper use of the grounded plug can result in the risk of electrical shock. If the power cord is damaged, have it replaced by an authorized service center.
– This unit should be properly grounded for your safety. The power cord of this unit is equipped with a three-prong plug which mates with standard three-prong wall outlets to
minimize the possibility of electrical shock.
– Do not under any circumstances cut or remove the third ground prong from the power cord supplied. For personal safety, this appliance must be properly grounded.
– This unit requires a standard 115 Volt AC /60Hz electrical outlet with three-prong ground.
Have the wall outlet and circuit checked by a qualified electrician to make sure the outlet is properly grounded. When a standard 2-prong wall outlet is encountered, it is your responsibility and obligation to have it replaced with a properly grounded 3-prong wall outlet.
– The cord should be secured behind the unit and not left exposed or dangling to prevent accidental injury.
– The unit should always be plugged into its own individual electrical outlet which has a voltage rating that matches the rating label on the appliance. This provides the best performance and also prevents overloading house wiring circuits that could cause a fire hazard from overheating. Never unplug the unit by pulling the power cord. Always grip the plug firmly and pull it straight out from the receptacle. Repair or replace immediately all power cords that have become frayed or otherwise damaged. Do not use a cord that shows cracks or abrasion damage along its length or at either end. When moving the unit, be careful not to damage the power cord.
(D) Extension Cords
Because of potential safety hazards under certain conditions, it is strongly recommended that you do not use an extension cord with this unit. However, if you must use an extension cord it is absolutely necessary that it be a 3-wire grounding type appliance extension cord having a grounding type plug and outlet and that the electrical rating of the cord be 120 volts and at least 15 amperes.
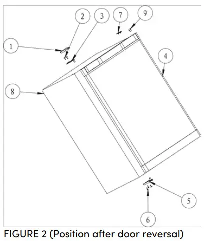
(E) Reversing the Door Swing of Your Appliance
- This refrigerator can be opened either from the left or right side. The default way of opening the door is from the right side. If you want to open the door from the left side, please follow the instructions below.
NOTE: All the removed parts must be well-kept for the reinstallation of the door
- Remove the three screws (6) that hold the lower door hinge (5), and keep the hinge for later use.
- Remove the door from the upper pin (3), and keep the padded surface upwards to prevent scratching.
- Remove the upper hinge cover (1), remove the two screws (2), hold the upper hinge(3), and save the hinge for later use.
- Remove the hole cover (1) and transfer it to the same location on the opposite side.
(D) Reversing the Door Swing of Your Appliance Cont’

| 1 – Upper hinge cover | 6 – Screw |
| 2 – Screw | 7 – Hole cover |
| 3 – Upper hinge | 8 – Cabinet |
| 4 – Door | 9 – Pin cap |
| 5 – Lower Door Hinge |
- Insert the lower door hinge on the right side, and fix the lower right hinge by tightening all the screws.
- Remove the pin cap (9) from the right side of the upper frame of the door, and then transfer it to the same location on the opposite side.
- Put the door on the Lower Door Hinge (5), keep the door level, and then fix the upper hinge (3) to the body (4) by the screws
- Put on the upper hinge cover (1).
OPERATING YOUR UNIT
Setting Temperature Control
- Your unit has only one control for regulating the temperature in the compartment. The temperature control is located on the upper right-hand side of the compartment.
- The first time you turn the unit on, set the temperature control to “6”.
- The range of the temperature control is from position “OFF” to “6”. After 24 to 48 hours, adjust the temperature control to the setting that best suits your needs. The setting of “3” should be appropriate for home or office use.
- To turn the appliance off, turn the temperature control to ”OFF”.
NOTE:
- Turning the temperature control to the “OFF” position stops the cooling cycle but does not shut off the power to the unit.
- If the unit is unplugged, has lost power, or is turned off, you must wait for 3 to 5 minutes before restarting the unit. If you attempt to restart before this time delay, the unit will to start.
CARE AND MAINTENANCE
Do not use boiling water because it may damage the plastic parts. In addition, never use a sharp or metallic instrument to remove frost as it may damage the cooling system and will void the warranty. We recommend using a plastic scraper.
(A) Cleaning Your Unit
- Turn the temperature control to “OFF”, unplug the unit, and remove the contents, shelf, and tray.
- Wash the inside surfaces with warm water and baking soda solution. The solution should be about 2 tablespoons of baking soda to a quart of water.
- Wash the shelf and tray with a mild detergent solution.
- The outside of the unit should be cleaned with mild detergent and warm water.
- Wring excess water out of the sponge or cloth before cleaning the area of the controls, or any electrical parts.
- Wash the outside cabinet with warm water and mild liquid detergent. Rinse well and wipe dry with a clean soft cloth.
Failure to unplug the unit could result in electrical shock or personal injury.
(B) Power Failure
Most power failures are corrected within a few hours and should not affect the temperature of your unit if you minimize the number of times the door is opened. If the power is going to be off for a longer period of time, you need to take the proper steps to protect your contents.
(C) Vacation Time
- Short vacations: Leave the unit operating during vacations of less than three weeks.
- Long vacations: If the appliance will not be used for several months, remove all content and unplug the power cord. Clean and dry the interior thoroughly. To prevent odor and mold growth, leave the door open slightly: blocking it open if necessary.
(D) Moving Your Unit
- Remove all contents.
- Securely tape down all loose items inside your unit.
- Turn the leveling legs up to the base to avoid damage.
- Tape the door shut.
- Be sure the unit stays secure in an upright position during transportation. Also, protect the outside of the unit with a blanket or similar item.
(D) Energy-Saving Tips
- The unit should be located in the coolest area of the room, away from heat-producing appliances, and out of direct sunlight.
- Let hot items cool to room temperature before placing them in the unit. Overloading the unit forces the compressor to run longer.
- Wipe containers dry before placing them in the unit. This cuts down on frost build-up inside the unit.
- Unit storage bins should not be lined with aluminum foil, wax paper, or paper toweling. Liners interfere with cold air circulation, making the unit less efficient.
- Organize and label contents to reduce door openings and extended searches. Remove as many items as needed at one time, and close the door as soon as possible.
TROUBLESHOOTING GUIDE
| PROBLEM | POSSIBLE CAUSE |
| The unit does not operate. | Not plugged in. The circuit breaker tripped or a blown fuse. The unit temperature control is set at the “OFF” position. |
| Turns on and off frequently. | The room temperature is hotter than normal. A large number of items were added to the unit. The door is opened too often. The door is not closed completely. The temperature control is not set correctly. The door gasket does not seal properly. The clearance apart from other high heat the appliance is less than 10 inches |
| Vibrations. | Check to assure that the unit is level. |
| The unit seems to make too much noise. | The rattling noise may come from the flow of the refrigerant, which is normal. As each cycle ends, you may hear gurgling sounds caused by the flow of refrigerant in your unit. Contraction and expansion of the inside walls may cause popping and crackling noises. The unit is not level. |
| The door will not close properly. | The unit is not level. The door was reversed and not properly installed. The gasket is dirty or bent. The shelves, bins, or baskets are out of position. |
PROBLEMS WITH YOUR REFRIGERATOR?
You can solve many common unit problems easily, saving you the cost of a possible service call. Try the suggestions below to see if you can solve the problem before calling the servicer.

LIMITED WARRANTY
Manufacturer warrants to the original purchaser at the original site of delivery with proof of purchase of each Refrigerator that when subject to normal residential use, it is free from defects in workmanship and material for the periods specified below. This warranty excludes refrigerators used in rental or commercial applications. It does not cover labor or labor-related charges. There will be a shipping and handling charge for the delivery of the warranty part(s).
1 Year Warranty
Our obligation under this warranty is limited to repair or replacement, at our option, of the product during the warranty period. The extent of any liability of the Manufacturer, under this warranty, is limited to repair or replacement. This warranty does not cover normal wear of parts, damage resulting from any of the following: negligent use or misuse of the product, use contrary to operating instructions, or alteration by any person other than our factory service center. The warranty period is not extended by such repair or replacement.
Warranty claim procedure: If you require parts for your refrigerator, please contact your dealer for assistance. Our hours of operation are 8 AM to 5 PM CST. Our phone number is 866-976-9510. Please direct all correspondence to: BLAZE OUTDOOR PRODUCTS, 6620 Greenwell Springs Rd, Baton Rouge, LA 70805. ATTN: Warranty Service Center
ATTENTION International Customers: Please consult your selling dealer or distributor for specifics pertaining to your product warranty and procedure.
Product repair as provided under this warranty is your exclusive remedy. The manufacturer shall not be liable for any incidental or consequential damages for breach of any express or implied warranty on its products. Except to the extent prohibited by applicable law, any implied warranty or merchantability or fitness for a particular purpose on this product for the duration of the above warranty. Some states do not allow the exclusion or limitation of incidental or consequential damages or allow limitations on how long an implied warranty lasts, so the above limitations or exclusions may not apply to you. This warranty gives you specific legal rights, and you may have other rights, which vary from state to state.




















