ASHLEY B73374 Lettner Queen Storage Footboard User Manual


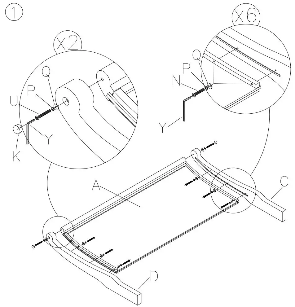
⚠ NOTE: UNIT SHOULD BE ASSEMBLED BY TWO OR MORE PEOPLE. DO NOT TIGHTEN ANY BOLTS UNTIL ALL BOLTS HAVE BEEN STARTED!





Turn adjustable leveller on the bottom of the Cross-Slat Support Leg leaving 6mm space between leveller and the floor.

NOTE: Always disassemble the bed prior to moving to a new location.



















