FOX 32ATV100C LED Television

Safety Information
CAUTION
RISK OF ELECTRIC SHOCK DO NOT OPEN
High voltages are used in the operation of this product.to reduce the risk of electric shock,do not remove cover of the cabinet, refer servicing to qualified service personal
If the TV any changes or coarse adjustment, electric shocks to be hurt, do not attempt to open a machine-maintenance, customer contact centres needed overhaul.
The exclamation point within an equilateral triangle is intended to alert the user to the presence of important operting in the literature accompanying the appliance.
Warning
The lightning flash with arrowhead symbol within an equilateral triangle,is inten ded to alert the user to the presence of uninsulated dangerous voltage within the products enclosure that may be of sufficient magnitude to constitute a risk of electric shock to persons.
Important Safety Precautions
- Read these instructions.
- Keep these instructions.
- Heed all warnings.
- Follow all instructions.
- Do not use this apparatus near water.
- Clean only with dry cloth.
- Do not block any ventilation openings. Install in accordance with the manufacturer’s instructions.
- Do not install near any heat sources such as radiators, heat registers, stoves, or other apparatus (including amplifiers) that produce heat.
- Do not defeat the safety purpose of the polarized or grounding-type plug. A polarized plug has two
blades with one wider than the other. A grounding type plug has two blades and a third grounding prong. The wide blade or the third prong are provided for your safety, If the provided plug does not fit into your outlet, consult an electrician for replacement of the obsolete outlet. - Protect the power cord from being walked on or pinched particularly at Plugs, convenience receptacles, and the point where they exit from the apparatus.
- Only use attachments /accessories specified by the manufacturer.
- Use only with the cart, stand, tripod, bracket, or table specified by the manufacturer, or sold with the apparatus. When a cart is used caution when moving the cart/apparatus combination to avoid injury tip-over.
- Unplug this apparatus during lightning storms or when unused for long periods of time.
Caution: - To reduce the risk of fire or electric shock, do not expose this apparatus to rain or moisture.
- The mains plug is used as disconnect device, the disconnect device shall remain readily operable.
- The socket-out shall be installed near the equipment and shall be easily accessible.
- This product should never be placed in a built-in installation such as a bookcase or rack unless proper ventilation is provided or the manufacture’s instructions have been adhered to.
- The apparatus shall not be exposed to dripping or splashing and that no objects filled with liquid, such as vases, shall be placed on the apparatus.
- Do not place any sources of danger on the apparatus (e.g. liquid filled objects, lighted candles).
- Wall or Ceiling Mounting – The appliance should be mounted to a wall or ceiling only as recommended by the manufacturer.
- Never place the TV, remote control or batteries near naked flames or other heat sources, including direct sunlight. To prevent the spread of fire, keep candles or other flames away from the TV, remote control and batteries at all times.
- The USB terminal should be loaded with 0.5A under normal operation.
These servicing instructions are for use by qualified service personnel only. To reduce the risk of electric shock do not perform any servicing other than that contained in the operating instructions. unless y o u are qualified to do so. - The battery shall not be exposed to excessive heat such as sunshine, fire or the like.
- This equipment is a Class II or double insulated electrical appliance. It has been designed in such a way that it does not require a safety connection to electrical earth
- The maximum using environment temperature is 45 degrees.
The Maximum using altitude is 2000 meters
TV Bracket assemble
FixtheTVonthewall
- First,put the TV on the table smoothly and put some soft cloth on the table to avoid scratching the screen.
- User the screw driver to take off the screws which are fixed on the bottom stand (the direction of the arrow, refer to the ptoto1 ).And take off the bottom stand(please take off the screws and bottom stand carefully).
- Make one bracket which can fix on the wall according to the size of arrow direction of photo2 and photo3.
- Drill four holes properly on the wall (the size only for reference) and put into four screws. (optional parts) Drill four holes properly on the wall (the size only for reference) and put into four screws.(optional parts)
- according to the step 4,use the screwdriver to lock the screw on the back of the TV. then hang the TV on the wall.

Note:
- The bracket fixed on the wall is optional part.
- when you assemble the TV, there should be no other articles on the around and front and please keep the distance from other articles.
- When assemble the TV, please ask the career man to fix in order to avoid the danger.
- The fixing picture is only for reference.
- Please follow the use manual about bracket assemble to fix the TV.
- Attach the mounting bracket from the VESA compatible wall mounting kit.
NOTE:
IF YOUR PROGRAM ON TV WILL BE INCLUDED BY CABLE TELEVISIONS, PLEASE CHECK YOUR EARNING AND POTENTIAL EVALUATION ON THE CABLE OF YOUR CABLE OPERATOR.
FOR THIS INFORMATION CONTACT YOUR CABLE OPERATOR.
TV Buttons And Terminal Interface
TV Buttons
Note: The key instructions are subject to below.

Display \ Hide key Icon: When there is no button icon popping up, press the key, the key icon will pop up like the picture shows above, the key icon will automatically tum off after 5
seconds of inactivity.
Icon selectlon: Short press the button, move the loop to the right, select the icon.
Icon function selectlon: Long press the key to achieving the function of the selected icon.
Icon Descriptio:n
Power off Icon: Corresponding to the “POWER” button of remote .
Menu Icon: Corresponding to the “MENU” button of remote.
Source Icon: Corresponding to the “SOURCE” button of remote.
CH+ Icon: Corresponding to the “CH+” button of remote.
CH- Icon: Corresponding to the “CH-” button of remote.
Volume+ Icon: Corresponding to the “VOL+” button of remote.
Volume- Icon: Corresponding to the ‘VOL-” button of remote.
Terminal Interface
Note: The following are the various terminal interface, the actual position and arrangement, the number of different models may be different.

External device connection diagram

Install And Connect TV

Set your TV
To put your TV in a firm place which can bear the weight of the TV.
To avoid danger, please don’t expose the TV near water or heating place (such as light, candle, heating machine),do not block the ventilation at the back of TV.
Connect antenna and power
- Connect the antenna cable to the antenna socket on the back of the TV.
- To plug the power cord ofTV (AC 100-240V- 50/60Hz).
Turn on TV - 3. Press the power button of the TV the indication light will turn to green. if it is on standby mode (the light is red),press the power button on the remote control to turn on the TV.

Note:Picture for reference purposes only.
TV Stand Installation Instructions
- Open the carton and remove the TV and scattered accessories and base (some models without base).
- to avoid the injury of the TV, covered with a soft mattress, put it on the table, face down on a soft mattress, the base of the neck is fixed on the TV with screws.
- screw the base and connected to the TV. 4. the installation is complete.
Note:
Picture for reference purposes only.
TV Menu
Input Source
Note: The above is for reference only, to prevail any kind
- Press SOURCE to display the input source list.
- Press
to highlight the input source and press ENTER to confirm. - Press EXIT to hide the On-Screen menu.
Channel Menu
NTSC Channel Menu
Note: The Channel Menu is available only in TV mode, and the item is the default when pressing MENU, if you want view the Picture/Sound/Time/Option Menu, please press ◄/► to select.
Tune Type Cable/Air
Auto Tuning
Auto Tuning will search for available channels and programs. Press’fff/Jt,,,. to select Auto Tuning, then press Enter to start auto search. If you want to stop searching, press MENU or EXIT.
ATV Manual Tuning
- Current CH
Set the channel number - Color system
Select the color system(PAL/SECAM) - Sound System
Select the sound system(DK/BG/1) - Fine-Turn
Adjust thefrequencyof the channel finely. - AFC
Automatic Fine tuning. - Search
Please press◄/► to select.
Programm Edit
The four colored key is the shortcut key for programming the channel.
First press
to highlight the channel you want to delete or rename or move or skip, then:
Press the Red button to delete the channel. Press the Green button to enter the rename state, then press ◄/► to select the word you want to change, and T / Ji,,. to select word.
Press the Yellow button to set the channel to moving state.then press
to move it to the position you want to put.
Press the Blue button to skip the select channel.
Fav Add or Delete the channel to your faver ate list.
Picture Menu
Picture Mode
Highlight the item and Press ENTER or ◄/► to enter the sub-menu, that shows the picture mode you can choose: Dynamic/Standard/Mild/User
Press PMODE on the remote control to select picture mode directly. Contrast
Adjust the white level of the picture. Brightness
Adjust darkness of black sections in the picture.
Color
Adjust the color intensity of the picture. Tint
Adjust the hue(Red, Green,Blue) of the picture.
Sharpness
Object edges are enhanced for picture d etail.
Color Temperature
Select the color temperature that you feel comfortable.
Noise Reduction
Off/Low/M idd le/High
You can clear up the input signal by setting the item.
Sound Menu
Sound Mode
Standard/Music/Movie/Sports/User/Only in this mode, Treble and Bass can be adjusted)
Treble
Adjust the high-frequency sounds.
Bass
Adjust the low-frequency sounds.
Balance
Adjust the level of sound coming from the left and right speakers.
Auto Volume
Press ◄/► select ON or OFF. Auto Volume.
SPDIF MODE
Press ENTER/RIGHT button to enter,then press UP/DOWN button to select Off I Auto/ PCM.
Time Menu

Sleep Timer
Select the time in minutes(off, 10min, 20min,30min,60min,90min, 120min, 180min,240min) that you want the
TV to shut off automatically after you set the time. Cancel by setting it to Off .
Auto Sleep
Select the time in hours(off,3h,4h,5h) that you want the TV to remain on after your last operation. Cancel by setting it to Off.
OSD Timer
Select the time in seconds(5s, 1 Os, 15s, 20s,25s,30s,) that you want the OnScreen Men remain display after your last operation.
Option Menu

OSD Language
Set the OSD display language.
Aspect Ratio
Select the suitable aspect Ration. Blue Screen
Set the background color to blue or black when having no input signal.
Key Lock
Set to prevent it from being used by young children, or other unexpected using. Caption{NTSC)
Select from below closed-caption modes. CC1 ,2,3,4 Displays corresponding caption
channels of a analog program. (Usually be set to Cc1 for most programs.) Text1 ,2,3,4 Displays corresponding text service channel of a analog program.
Parent Control{NTSC)

Set Password
First you should enter the correct old password then enter new password twice.
Lock System
Set the lock system ON or OFF.
TV

- TV-Y General audience
- TV-Y7 Parental guidance suggested
- TV-G Parents strongly cautioned
- TV-PG Restricted
- TV-14 No one 17 and under admitted
- TV-MA Adult audience only.
- FV Fantasy violence
- D Suggestive dialogue
- L Strong language
- S Sexual situations
- V Violence
- MPAA This system defines the rating control which come from MPAA rules.
- G General audience. All ages admitted
- PG Parental guidance
- PG-13 Parents strongly cautioned.
Some material may be inappropriate for children under 13. - R Restricted. Children under 17 require accompanying parent or adult guardian.
- NC-17 No one 17 and under a admitted.
- X Adult audience only
- N/A Not available
Canada English The ratings are for programs which are using English rating system. - C Children
- CB+ Children 8 years and older
- G General programming
- PG Parental guidance
- 14+ Viewers 14 and older
- 18+ Adult programming
- E Exempt
Canada French The ratings are for programs which are using French rating system. - G General
- 8 ans+ Not recommended for younger children
- 13 ans+ Not recommended for children under age 13
- 16 ans+ Not recommended for ages under16
- 18 ans+ This program is restricted to adults
- E Exempt
- Reset Recall the default setting.
- Software Update(USB) Update your
TV set.Select the software inthe root of your USB memory.and pressENTER.
PC Menu
Screen Menu j

Auto Adjust
Automatically adjust Clock, Phase,
H-Position, and V-Position settings.
Horizontal Pos.
Shift the screen up or down.
Vertical Pos.
Shift the screen left or right.
Clock
Adjust the internal sampling clock rate.
Phase
Adjust the internal signal phase.
Media Menu
The color of the icon means whether your TV has detected a USB memory or not. Buie: Yes; Gray: No;

Press◄/► to select Photo/Music/ Movie/Text icon and ENTER to enter the USB memory.
Help
| No Power | Check the AC cord of TV is plus in or not. If still no power, please Pull out the plug and replug in after60 seconds. And open the TV again |
| Signal receive not properly | • To cause double image or phantom if there has high building or high mountain round TV. You can adjust image effect by manually operation: consult instruction of vernier regulation or change the direction of external antenna. • If you use the indoor antenna. under certain circumstance, receive will be more difficult .So you can change the direction of the antenna to adjust the image effect. If can’t change image receiving effect either, youhave to use external antenna. |
| No picture | • Check the antenna at the back of TV is connected properly or not. • Try to select other channels and check whether the TV problem itself or not |
| but,Video is ok without audio | • Increase the volume. • Check the TV is in mute mode or not, andplease press the mute button to make sound resume. |
| Audio is ok, but color error or no picture. | • Increase contrast and brightness. |
| snow statics picture and noise | Check the antenna at the back of TV is connected or not· |
| Level broken line | vacuum, such as hair drier, Maybe has electrical appliance interfere· please turn off these kinds of electrical appliance, cleaner and so on. |
| Image or-Dual “simulacrum” The TV no response with the Remote. | • Perhaps the location for the antenna is not good.Use the tall beamed antenna can be improved quality of the display image. • Operate the remote direct to the remote sensor on the TV.If still no response for the TV, please check if the plastic bag on the remote take or not. And check if the location for the battery is correct.Change the new battery. • The TV will shift to the STAND BY if no response from the remote in the few minutes. |
| .NO Video In (PC Mode) | • Please check if the display cable connect to the VGA correcte . • Please check if there has the bend on the display cable. |
| Vertical twinkling (PC Mode) | • Enter the main menu, Use the clock regulator for the Video display noise to eliminate the vertical line. |
| horizontal ripping (PC Mode) | • Adjust the Audio sound horizontal in the main menu to clear the horizontal ripping line. |
| The screen is too bright or too dark (PC Mode) | • Adjust the contrast ratio or brightness in the main menu. |
| PC Function no response | • Check the computer setting in the state of compatible display resolution |
| Ripping line in RCA connecting | • Please use good quality connecting cable. |
| Problem still exist | • Unplug the power cable and wait for 30 seconds, then connect.If there is some problem with our TV, do not repair it by yourself, please contact with the customer service center. |
There will be complete picture and the brightness will come down if the TV is in: Note So please do not keep the TV in a state of same, the static picture for too long time Menu or same picture that has much difference in brightness and contrast ratio for too long time.
Machine Technical Specifications
| Screen Size | TV System | Preset Channels | Speaker Output |
| 16″ | PAL/NTSC | PAL:0-199,NTSC:AIR 2-69 CABLE1-125 | 3W+3W |
| 19″ | PAL/NTSC | PAL:0-199,NTSC:AIR 2-69 CABLE1-125 | 3W+3W |
| 20″ | PAL/NTSC | PAL:0-199,NTSC:AIR 2-69 CABLE1-125 | 3W+3W |
| 22″ | PAL/NTSC | PAL:0-199,NTSC:AIR 2-69 CABLE1-125 | 3W+3W |
| 24″ | PAL/NTSC | PAL:0-199,NTSC:AIR 2-69 CABLE1-125 | 3W+3W |
| 28″ | PAL/NTSC | PAL:0-199,NTSC:AIR 2-69 CABLE1-125 | 5W+5W |
| 32″ | PAL/NTSC | PAL:0–199,NTSC:AIR 2-69 CABLE1-125 | 8W+8W |
| 39″/40″ | PAL/NTSC | PAL:0-199 NTSC:AIR 2-69 CABLE1-125 | 8W+8W |
| 42″ | PAL/NTSC | PAL:0-199,NTSC:AIR 2-69 CABLE1-125 | 8W+8W |
| 43″ | PAL/NTSC | PAL:0-199,NTSC:AIR 2-69 CABLE1-125 | 8W+8W |
| 46″ | PAL/NTSC | PAL:0-199,NTSC:AIR 2-69 CABLE1-125 | 8W+8W |
| 50″ | PAL/NTSC | PAL:0-199,NTSC:AIR 2-69 CABLE1–125 | 8W+8W |
| 65″ | PAL/NTSC | PAL:0-199,NTSC:AIR 2-69 CABLE1-125 | 8W+8W |
| Screen Size | power Consumption | Main accessories |
| 16″ | 24W |
User’s manual x1 Remote controller x1 Power cord x1 AAA Batteries x2 |
| 19″ | 36W/48W | |
| 20″ | 36W/48W | |
| 22″ | 36W/48W | |
| 24″ | 36W/48W | |
| 28″ | 36W | |
| 32″ | 56W/65W/100W | |
| 39″/40″ | 60W/70W/76W | |
| 42″ | 67W/70W/95W/100W | |
| 43″ | 70W/80W | |
| 50″ | 100W/108W/135W | |
| 55″ | 100W/135W/140W/160W | |
| 65″ | 159W/165W/195W * |
Remote Controller 
Descriptions of television remote control
- POWER: Turn on the TV or enter standby mode.
- MUTE: Turn off the sound and turn on when press again.
- 0-9: Figures “0-9” are used to directly input channel number.
- – /- – Press this button to enter a program number for a different digit. eg. -/ – – / —
- S.MODE: Select the different sound mode directly.
- MTS: Press to select the MTS mode.(for example,Nicam ,BTSC,MONO,STEREO .eg )
- P.MODE: Select the different picture mode directly.
- MENU: Start system menu and return to upper menu.
- SOURCE: Input source conversion button .
- .A. T ◄ ► Press T • button to select items.
Press ◄ ► button to adjust it. - ENTER: To confirm the choice with the highlighted menu item.
- EXIT: Press to exit the OSD menu.
- MIX: TV and TXT pictures are mixed together (transparent background)
Battery Installation:
Remove the battery compartment lid on the rear of the remote control by sliding the lid down, then off. Put two AAA batteries inside the battery compartment with their+ and – ends aligned as indicated. Do not mix old and new batteries or different types of batteries Replace the battery compartment lid.
Slide the lid until you hear it click into place.
Using the Remote Control:
Unless stated otherwise, the remote control can operate all the features of the TV.
Always point the remote control directly at the remote sensor in the front of the TV.
CAUTION:
Batteries installed in the unit should not be exposed to excessive heat such as sunshine, fire and the like. - VOL+: Increase the volume.
- VOL-: Decrease the volume.
- FR: Press to fast reverse in the USB mode.
FAV: Press to add or remove your favorite channels under TV menu - PLAY/PAUSE: Press to PLAY /PAUSE in the USB mode.
start recording and PAUSE ,in USB mode. - CANCEL: When a page is selected in the mode of text, it may take some time before it becomes available, pressing the CANCEL key will return to the TV mode. When the required page is found , the page number will appear at the top of the TV picture, press the CANCEL key to return to the mode of text for you to browse this page.
- PREV: Press to skip the backward in the USB mode.
- STOP: Press to STOP in the USB mode.
- INDEX: Request the Index page in Teletext mode.
- GREEN/REDNELLOW/CYAN:
Teletex switch of the analog parts
Under the menu corresponding to the TV,
press the button according to the color display to ente
RED:Exchange
GREEN:lnsert
YELLOW:Copy
BLUE:Delete - CH+: Increase the program.
- CH-: Decrease the program.
- FF: Press to fast forward in the USB mode.
- SUBPAGE: Press to access sub page.
- NEXT: Press to skip the forward in the storage mode.
- FREEZE: Image still
- REVEAL: Reveal or Hide the hidden words.
- SIZE: Change the size of display in Teletext mode.
- HOLD: HOLD On or Off for current page display .
- ASPECT: Aspect function.
- TEXT: Switch On or Off the TELETEXT mode.
SUGGESTION
To make it more convenient for base installation and to avoid any risk of scratches and damage, we advise you using the type of PH2 screwdriver.
WARNING
To make it more convenient for base installation and to avoid any risk of scratches and damage, we advise you using the type of PH2 screwdriver.
Never place a television set in an unstable location. A television set may fall, causing serious personal injury or death. Many injuries, particularly to children, can be avoided by taking simple precautions such as:
- Using cabinets or stands recommended by the manufacturer of the television set.
- Only using furniture that can safely support the television set.
- Ensuring the television set is not overhanging the edge of the supporting furniture.
- Not placing the television set on tall furniture (for example, cupboards or bookcases).without anchoring both the furniture and the television set to a suitable support.
- Not placing the television set on cloth or other materials that may be located between the television set and supporting furniture,
- Educating children about the dangers of climbing on furniture to reach the television set or its controls. If your existing television set is being retained and relocated, the same considerations as above should be applied.
Wall-mounted screw:22-24inch M4, 28-70inch M6, 75inch M8
Note: don’t hang at an angle to avoid the risk of falling off.
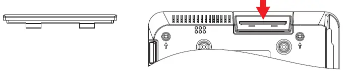
Note: If the model has a CI card slot on its top, a silicone plug for the CI card slot can be found in the accessory bag (for models without CI card slot, there is no such silicone plug), please insert the silicone plug into the slot when the CI card is not in use.
Note: Picture for reference purposes only.
































