Husqvarna 110iL Cordless 36v Grass Trimmer User Manual
Introduction
Product description
Husqvarna 110iL is a battery lawn trimmer/lawn edge trimmer with an electrical motor.
Work is constantly in progress to increase your safety and efficiency during operation. Speak to your servicing dealer for more information.
Intended use
The product is used with a trimmer head to cut grass. Do not use the product for other tasks than grass trimming, grass clearing and lawn edging.
Note: National regulations can set limit to the operation of the product.
Product overview
- Trimmer head
- Cutting attachment guard
- Shaft
- Shaft coupling
- Loop handle
- Keypad
- Power trigger lockout
- Power trigger
- Operator’s manual
- Power cord
- Power on and warning indicator
- Battery Charger QC80
- Start/stop button
- Battery
- Battery release buttons
- Battery indicator button
- Battery status
- Warning indicator
- Combination tool
- Plant guard
- Connector
- Battery Charger 40-C80
Symbols on the product
WARNING: This product can be dangerous and cause serious injury or death to the operator or others. Be careful and use the product correctly.
Read the operator’s manual carefully and make sure that you understand the instructions before use.
Use eye protection.
Do not expose to rain.
Noise emissions to the environment label as per EU (also including New South Wales Legislation) and UK directives and regulations. Noise emission data can be found on the machine label and in the Technical data chapter.
Keep bystanders away from the product.
Disconnect battery before maintenance
The product or package of the product is not domestic waste. Recycle it at a recycling station for electrical and electronic equipment.
The product agrees with the applicable EU directives.
The product conforms to the applicable UK regulations.
Direct current
yyyywwxxxxx The rating plate or the laser printing shows the serial number. yyyy is the production year and ww is the production week.
Symbols on the battery and/or on the battery charger
Fail-safe transformer.
Use and keep the battery charger indoors only.
Double insulation
Recycle this product at a recycling station for electrical and electronic equipment. (Applies to Europe only)
Product liability
As referred to in the product liability laws, we are not liable for damages that our product causes if:
- the product is incorrectly repaired.
- the product is repaired with parts that are not from the manufacturer or not approved by the manufacturer.
- the product has an accessory that is not from the manufacturer or not approved by the manufacturer.
- the product is not repaired at an approved service center or by an approved authority.
Safety
Safety definitions
Warnings, cautions and notes are used to point out specially important parts of the manual.
WARNING: Used if there is a risk of injury or death for the operator or bystanders if the instructions in the manual are not obeyed.
CAUTION: Used if there is a risk of damage to the product, other materials or the adjacent area if the instructions in the manual are not obeyed.
Note: Used to give more information that is necessary in a given situation.
General power tool safety warnings
WARNING: Read all safety warnings and all instructions. Failure to follow the warnings and instructions may result in electric shock, fire and/or serious injury
Note: Save all warnings and instructions for future reference. The term “power tool” in the warnings refers to your mains-operated (corded) power tool or batteryoperated (cordless) power tool.
Check before starting
- Always remove the battery to prevent the product being started by accident. Always remove the battery before any maintenance on the product.
- Before using the product and after any impact, check for signs of wear or damage and repair as necessary.
- Inspect the working area. Remove all loose objects, such as stones, broken glass, nails, steel wire, string etc. that could be thrown out or become wrapped around the cutter or cutter guard.
- Check the motor for dirt and cracks. Clean off grass and leaves from the engine using a brush. Gloves should be worn when necessary.
- Check that the trimmer head is completely attached to the trimmer.
- Check that the product is in perfect working order. Check that all nuts and screws are tight.
- Check that the trimmer head and trimmer guard are not damaged or cracked. Replace the trimmer head or trimmer guard if the have been exposed to impact or are cracked. Always use the recommended guard for the cutting attachment you are using. See chapter on Technical data.
- The product operator must ensure that no people or animals come closer than 15 metres while working. When several operators are working in the same area the safety distance should be at least 15 metres.
- Carry out an overall inspection of the product before use. See the maintenance schedule.
- National or local regulations may regulate the use. Comply to given regulations.
Work area safety
- Keep work area clean and well lit. Cluttered or dark areas invite accidents.
- Do not operate power tools in explosive atmospheres, such as in the presence of flammable liquids, gases or dust. Power tools create sparks which may ignite the dust or fumes.
- Keep children and bystanders away while operatinga power tool. Distractions can cause you to lose control.
Electrical safety
- Power tool plugs must match the outlet. Never modify the plug in any way. Do not use any adapter plugs with earthed (grounded) power tools. Unmodified plugs and matching outlets will reduce risk of electric shock.
- Avoid body contact with earthed or grounded surfaces, such as pipes, radiators, ranges and refrigerators. There is an increased risk of electric shock if your body is earthed or grounded.
- Do not expose power tools to rain or wet conditions. Water entering a power tool will increase the risk of electric shock.
- Do not abuse the cord. Never use the cord for carrying, pulling or unplugging the power tool. Keep cord away from heat, oil, sharp edges or moving parts. Damaged or entangled cords increase the risk of electric shock.
- When operating a power tool outdoors, use an extension cord suitable for outdoor use. Use of a cord suitable for outdoor use reduces the risk of electric shock.
- If operating a power tool in a damp location is unavoidable, use a residual current device (RCD) protected supply. Use of a RCD reduces the risk of electric shock
Personal safety
- Stay alert, watch what you are doing and use common sense when operating a power tool. Do not use a power tool while you are tired or under the influence of drugs, alcohol or medication. A moment of inattention while operating power tools may result in serious personal injury.
- Use personal protective equipment. Always wear eye protection. Protective equipment such as dust mask, non-skid safety shoes, hard hat or hearing protection used for appropriate conditions will reduce personal injuries.
- Prevent unintentional starting. Ensure the switch is in the OFF-position before connecting to a power source and/or battery pack, picking up or carrying the tool. Carrying power tools with your finger on the switch or energising power tools that have the switch on invites accidents.
- Remove any adjusting key or wrench before turning the power tool on. A wrench or a key left attached to a rotating part of the power tool may result in personal injury.
- Do not overreach. Keep proper footing and balance at all times. This enables better control of the power tool in unexpected situations.
- Dress properly. Do not wear loose clothing or jewellery. Keep your hair and clothing away from moving parts. Loose clothes, jewellery or long hair can be caught in moving parts.
- If devices are provided for the connection of dust extraction and collection facilities, ensure these are connected and properly used. Use of dust collection can reduce dust-related hazards.
- Do not let familiarity gained from frequent use of tools allow you to become complacent and ignore tool safety principles. A careless action can cause severe injury within a fraction of a second.
- The vibration emission during actual use of the power tool can differ from the declared total value depending on the ways in which the tool is used. Operators should identify safety measures to protect themselves that are based on an estimation of exposure in the actual conditions of use (taking account of all parts of the operating cycle such as the times when the tool is switched off and when it is running idle in addition to the trigger).
Power tool use and care
- Do not force the power tool. Use the correct power tool for your application. The correct power tool will do the job better and safer at the rate for which it was designed.
- Do not use the power tool if the switch does not turn it on and off. Any power tool that cannot be controlled with the switch is dangerous and must be repaired.
- Disconnect the plug from the power source and/or remove the battery pack, if detachable, from the power tool before making any adjustments, changing accessories, or storing power tools. Such preventive safety measures reduce the risk of starting the power tool accidentally.
- Store idle power tools out of the reach of children and do not allow persons unfamiliar with the power tool or these instructions to operate the power tool. Power tools are dangerous in the hands of untrained users.
- Maintain power tools and accessories. Check for misalignment or binding of moving parts, breakage of parts and any other condition that may affect the power tool´s operation. If damaged, have the power tool repaired before use. Many accidents are caused by poorly maintained power tools.
- Keep cutting tools sharp and clean. Properly maintained cutting tools with sharp cutting edges are less likely to bind and are easier to control.
- Use the power tool, accessories and tool bits etc. in accordance with these instructions, taking into account the working conditions and the work to be performed. Use of the power tool for operations different from those intended could result in a hazardous situation.
- Keep handles and grasping surfaces dry, clean and free from oil and grease. Slippery handles and grasping surfaces do not allow for safe handling and control of the tool in unexpected situations.
Battery tool use and care
- Recharge only with the charger specified by the manufacturer. A charger that is suitable for one type of battery pack may create a risk of fire when used with another battery pack.
- Use products only with specifically designated battery packs. Use of any other battery packs may create a risk of injury and fire.
- When battery pack is not in use, keep it away from other metal objects, like paper clips, coins, keys, nails, screws or other small metal objects, that can make a connection from one terminal to another. Shorting the battery terminals together may cause burns or a fire.
- Under abusive conditions, liquid may be ejected from the battery; avoid contact. If contact accidentally occurs, flush with water. If liquid contacts eyes, additionally seek medical help. Liquid ejected from the battery may cause irritations or burns.
- Do not use a battery pack or tool that is damaged or modified. Damaged or modified batteries may exhibit unpredictable behavior resulting in fire, explosion or risk of injury.
- Do not expose a battery pack or tool to fire or excessive temperature. Exposure to fire or temperature above 130 °C / 265 °F may cause explosion.
- Follow all charging instructions and do not charge the battery pack or tool outside the temperature range specified in the instructions. Charging improperly or at temperatures outside the specified range may damage the battery and increase the risk of fire.
Service
- Have your power tool serviced by a qualified repair person using only identical replacement parts. This will ensure that the safety of the power tool is maintained.
- Never service damaged battery packs. Service of battery packs should only be performed by the manufacturer or authorized service provide
Always use common sense
It is not possible to cover every conceivable situation you can face. Always exercise care and use your common sense. Avoid all situations which you consider to be beyond your capability. If you still feel uncertain about operating procedures after reading these instructions, you should consult an expert before continuing.
WARNING: Never allow children to use or be in the vicinity of the machine. Since the machine is easy to start, children may be able to start it if they are not kept under full surveillance. This can mean a risk of serious personal injury. Therefore disconnect the battery when the machine is not under close supervision.
General safety instructions
WARNING: Read the warning instructions that follow before you use the product.
- Remove the battery to prevent the product from being started by accident.
- This product is a dangerous tool if you are not careful or if you use the product incorrectly. This product can cause serious injury or death to the operator or others.
- Do not use the product if it is changed from its initial specification. Do not change a part of the product without approval from the manufacturer. Only use parts that are approved by the manufacturer. Injury or death is a possible result of incorrect maintenance.
- Do a check of the product before use. See, Check before starting on page 6 and Before you operate the product on page 12. Do not use a defective product. Do the safety checks, maintenance and service instructions described in this manual.
- Children should be supervised to ensure that they do not play with the product. Never allow children or other persons not trained in the use of the product and/or the battery to use or service it. Local laws may regulate the age of the user.
- Keep the product in a locked area to prevent access for children or persons that are not approved.
- Store the product out of reach of children.
- Under no circumstances may the design of the product be modified without the permission of the manufacturer. Always use original accessories. Nonauthorized modifications and/or accessories can result in serious personal injury or the death of the operator and others.
Note: National or Local laws can regulate the use. Comply to given regulations.
Safety instructions for operation
WARNING: Read the warning instructions that follow before you use the product.
- Do not use the machine in bad weather conditions, especially when there is a risk of lightning. This decreases the risk of being struck by lightning.
- Thoroughly inspect the area for wildlife where the machine is to be used. Wildlife may be injured by the machine during operation.
- Thoroughly inspect the area where the machine is to be used and remove all stones, sticks, wires, bones, and other foreign objects. Thrown objects can cause personal injury.
- Before using the machine, always visually inspect to see that the cutter and the cutter assembly are not damaged. Damaged parts increase the risk of injury.
- Keep guards in place. Guards must be in working order and be properly mounted. A guard that is loose, damaged, or is not functioning correctly may result in personal injury.
- Keep all cooling air inlets clear of debris. Blocked air inlets and debris may result in overheating or risk of fire.
- Wear eye protection and ear protection. Adequate protective equipment will reduce personal injury.
- While operating the machine, always wear non-slip and protective footwear. Do not operate the machine when barefoot or wearing open sandals. This reduces the chance of injury to the feet from contact with the moving cutter.
- Always wear clothing such as trousers that covers the operator’s legs while operating the machine. Contact with the moving cutter or line may cause injury.
- Keep bystanders away while operating the machine. Thrown debris can result in serious personal injury.
- Do not operate the machine above waist height. This helps prevent unintended cutter contact and enables better control of the machine in unexpected situations.
- Exercise caution when operating the machine in wet grass. Walk, never run. This reduces the risk of slipping and falling which may result in personal injury.
- Do not operate the machine on excessively steep slopes. This reduces the risk of loss of control, slipping and falling which may result in personal injury.
- When working on slopes, always be sure of your footing, always work across the face of slopes, never up or down and exercise extreme caution when changing direction. This reduces the risk of loss of control, slipping and falling which may result in personal injury.
- Keep all power cords and cables away from cutting area. Power cords or cables may be hidden in hedges or bushes and can be accidentally cut or damaged by the line or cutter.
- Keep all parts of the body away from the moving trimmer cutter or line. Do not clear material from the machine until it has been disconnected from the power source. The moving trimmer cutter or line may result in serious personal injury.
- Carry the machine with the machine switched off and away from your body. Proper handling of the machine will reduce the likelihood of accidental contact with a moving trimmer cutter or line.
- Only use replacement cutting heads and trimmer cutters or lines specified by the manufacturer. Do not replace the trimmer cutters or lines with metal wires or blades. Incorrect replacement parts may cause loss of control, breakage and injury.
Personal protective equipment
WARNING: Read the warning instructions that follow before you use the product.
- Always use approved personal protective equipment when you use the product. Personal protective equipment cannot fully prevent injury but it decreases the degree of injury if an accident does occur. Let your dealer help you select the correct equipment.
- Use approved hearing protection. (Fig. 17)

- Use approved eye protection. If you use a visor, you must also use approved protective goggles. Approved protective goggles must comply with the ANSI Z87.1 standard in the USA or EN 166 in EU countries. (Fig. 18)

- Use gloves when it is necessary, for example when you attach, examine or clean the cutting equipment. (Fig. 19)

- Use protective boots with steel toe-cap and non-slip soles. (Fig. 20)

- Use clothing made of a strong fabric. Always use heavy, long pants and long sleeves. Do not use loose clothing that can catch on twigs and branches. Do not use jewelry, short pants or sandals. Do not go with bare feet. Put your hair up safely above shoulder level.
- Keep first aid equipment near. (Fig. 21)

Safety devices on the product
WARNING: Read the warninginstructions that follow before you use the product.
In this section the product’s safety features, its purpose and how checks and maintenance should be carried out to ensure that it operates correctly. See instructions under the heading Introduction on page 5 to find where these parts are located on your product.
The life span of the product can be reduced and the risk of accidents can increase if product maintenance is not carried out correctly and if service and/or repairs are not carried out professionally. If you need further information please contact your nearest servicing dealer.
WARNING: Never use a product with defective safety components. The product’s safety equipment must be inspected and maintained as described in this section. If your product fails any of these checks, contact your service agent to get it repaired.
CAUTION: All servicing and repair work on the machine requires special training. This is especially true of the machine′s safety equipment. If your machine fails any of the checks described below you must contact your service agent. When you buy any of our products we guarantee the availability of professional repairs and service. If the retailer who sells your machine is not a servicing dealer, ask him for the address of your nearest service agent.
To do a check of the keypad
- Push and hold the start/stop button (A). (Fig. 22)

a) The product is on when the LED (B) is on.
b) The product is off when the LED (B) is off. - Refer to Keypad on page 15 if the LED (B) flashes.
To do a check of the power trigger lockout
The power trigger lockout prevents accidental start.When you push the power trigger lockout (A), it releases the power trigger (B). When you release the handle, the power trigger and the power trigger lockout move back to their initial positions. (Fig. 23)
- Make sure that the power trigger is locked when the power trigger lockout is in its initial position. (Fig. 24)

- Push the power trigger and make sure that it moves back to its initial position when you release it. (Fig. 25)

- Make sure that the power trigger and the power trigger lockout moves freely and that the return spring works correctly. (Fig. 26)

- Start the product. Refer to To start the product.
- Apply full power.
- Release the power trigger and make sure that the cutting attachment stops fully.
(Fig. 27)
To do a check of the cutting attachment guard
WARNING: Do not use a cutting attachment without an approved and correctly attached cutting attachment guard. Always use the recommended cutting attachment guard for the cutting attachment that you use, see Technical data on page 17. If an incorrect or faulty cutting attachment guard is attached, it can cause serious personal injury.
The cutting attachment guard stops objects that eject in the direction of the operator. The cutting attachment guard also prevents injuries that can occur if you touch the cutting attachment.
- Stop the motor.
- Do a visual check for damages, for example cracks.
- Replace the cutting attachment guard if it is damaged.
Cutting equipment
Select correct cutting equipment and do maintenance on the cutting equipment to:
- Get maximum cutting performance.
- Increase lifetime of the cutting equipment
WARNING: Only use cutting attachments with the guards we recommend! See Technical data. Refer to the instructions for the cutting attachment to find the correct way to load the trimmer line and the correct trimmer line diameter.
WARNING: A defective cutting attachment may increase the risk of accidents.
WARNING: Always stop the engine before you do the work on the cutting attachment. This continues to rotate after you release the throttle. Make sure that the cutting attachment has stopped fully and disconnect the spark plug cap before you start the work on it.
Trimmer head
WARNING: Always make sure the trimmer line is wound tightly and evenly around the drum to prevent harmful vibration.
- Only use recommended trimmer heads and trimmer lines.
- Only use recommended cutting attachments.
- Smaller machines requires small trimmer heads and vice versa.
- The length of the trimmer line is important. A longertrimmer line requires greater engine power than a shorter trimmer line of the same diameter.
- Make sure that the cutter on the trimmer guard is intact. This cuts the trimmer line to the correct length.
- Soak the trimmer line in water for a couple of days before use to increase the life length.
Battery safety
WARNING: Read the warning instructions that follow before you use the product.
- Only use the BLi battery. Refer to Technical data on page 17. The battery is software encrypted.
- Use the BLi battery that is rechargable as a power supply for the related Husqvarna products only. To prevent injury, do not use the battery as a power supply for other devices.
- Risk of electrical shock. Do not connect the battery terminals to keys, coins, screws or other metal. This can cause a short circuit of the battery.
- Do not use non-rechargeable batteries.
- Do not put objects into the air slots of the battery.
- Keep the battery away from sunlight, heat or open flame. The battery can cause burns and/or chemical burns.
- Keep the battery away from rain and wet conditions.
- Keep the battery away from microwaves and high pressure.
- Do not try to disassemble or break the battery.
- If the battery leaks, do not let the liquid touch your body or eyes. If you have touched the liquid, clean the area with a large quantity of water and soap, and get medical aid. If you get liquid in your eyes, do not rub but flush with water for a minimum of 15 minutes and get medical aid.
- Use the battery in temperatures between -10 °C (14 °F) and 40 °C (114 °F).
- Do not clean the battery or the battery charger with water. Refer to To clean the product, the battery and the battery charger on page 15.
- Do not use a defective or damaged battery.
- Keep batteries in storage away from metal objects such as nails, screws or jewelry.
- Keep the battery away from children
Battery charger safety
WARNING: Read the warning instructions that follow before you use the product.
- Risk of electrical shock or short circuit if the safety instructions are not obeyed.
- Do not use other battery chargers than the one supplied for your product. Only use QC80 and 40- C80 chargers when you charge BLi replacement batteries.
- Do not try to disassemble the battery charger.
- Do not use a defective or damaged battery charger.
- Do not lift the battery charger by the power cord. To disconnect the battery charger from a mains socket, pull out the plug. Do not pull the power cord.
- Keep all cables and extension leads away from water, oil and sharp edges. Make sure that the cable is not caught between objects, for example, doors, fences or equivalent.
- Do not use the battery charger near flammable materials or materials that can cause corrosion. Make sure that the battery charger is not covered. Pull out the plug to the battery charger if there is smoke or fire.
- Only charge the battery indoors in a location with good airflow and away from sunlight. Do not charge the battery outdoors. Do not charge the battery in wet conditions.
- Only use the battery charger where the temperature is between 5 °C (41 °F) and 40 °C (104 °F). Use the charger in an environment which has a good airflow, dry and free from dust.
- Do not put objects into the cooling slots of the battery charger.
- Do not connect the battery charger terminals to metal objects as this can short circuit the battery charger.
- Use approved mains sockets that are not damaged. Make sure that the cord of the battery charger is not damaged. If extension cables are used, make sure that the extension cables are not damaged.
- Do not charge non-rechargeable batteries in the battery chargers.
Safety instructions for maintenance
WARNING: Read the warninginstructions that follow before you do maintenance on the product.
- Remove the battery before you do maintenance, other checks or assemble the product.
- The operator must only do the maintenance and servicing shown in this operator’s manual. Turn to your servicing dealer for maintenance and servicing of a larger extension.
- Do not clean the battery or the battery charger with water. Strong detergent can cause damage to the plastic.
- If you do not do maintenance, it decreases the lifecycle of the product and increases the risk of accidents.
- Special training is necessary for all servicing and repair work, especially for thesafety devices on the product. If not all checks in this operator’s manual are approved after you have done maintenance, turn to your servicing dealer. We guarantee that there are professional repairs and servicing available for your product.
- Only use original spare parts.
Assembly
Introduction
WARNING: Read and understand the safety chapter before you assemble the product.
To attach the trimmer guard
- Put the trimmer guard against the motor housing. (Fig. 28).

- Install the bolt through the motor housing and the trimmer guard. (Fig. 29)

- Tighten the bolt.
To assemble the trimmer head
- Turn the output shaft until the hole in the drive disc aligns with the hole in the gear housing.
- Install the locking pin in the hole to lock the shaft.
- Turn the trimmer head clockwise. (Fig. 30)

To assemble the loop handle
- Attach the loop handle onto the shaft. (Fig. 31)

- Move the spacer into the slot of the loop handle.
- Install the screw and the knob. Do not tighten too much.
- Adjust the loop handle to an applicable position. Refer to To adjust the loop handle on page 13.
- Tighten the knob.
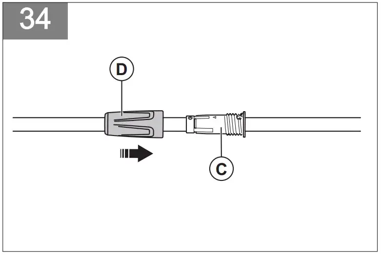
To assemble the two-piece shaft
- Align the triangle symbol (A) on the shaft with the triangle symbol (B) on the shaft coupling. (Fig. 32)

- Push the shaft into the shaft coupling (C). (Fig. 33)

- Move the shaft coupling sleeve (D) to the shaft coupling (C). (Fig. 34)

- Turn and tighten the shaft coupling sleeve fully. (Fig. 35)

To install the plant guard
- Install the plant guard into the holes on the motor housing.
- Make sure that the plant guard can move forward and rearward freely. (Fig. 36)

Battery information
Refer to the operator’s manual of the battery for information about how to use the battery.
Operation
Introduction
WARNING: Read and understand the safety chapter before you use the product.
Before you operate the product
- Examine the work area to make sure that you know the type of terrain. Examine the slope of the ground and if there are obstacles such as stones, branches and ditches.
- Do an overhaul of the product.
- Do the safety inspections, maintenance and servicing that are given in this manual.
- Examine the motor for dirt or cracks. Use a brush to clean the motor from grass and leaves. Use gloves when it is necessary.
- Examine the trimmer head and cutting attachment guard for damages or cracks. Replace the trimmer head and cutting attachment guard if they are hit or if they have cracks.
- Make sure that all nuts and screws are tight.
- Make sure that all covers, guards, handles and thecutting equipment are correctly attached and not damaged before you start the product.
To connect the battery charger To connect the battery charger
- Connect the battery charger to the voltage and frequency that is specified on the rating plate.
- Put the plug in a grounded socket outlet. The LED on the battery charger flashes green one time.
Note: The battery does not charge if the battery temperature is more than 50 °C/122 °F. If the temperature is more than 50 °C/122 °F, the battery charger makes the battery become cool before the battery charges.
To charge the battery
Note: Charge the battery if it is the first time that you use it. A new battery is only 30% charged.
- Connect the battery to the battery charger. (Fig. 37) (Fig. 38)


- Make sure that the green charging light on the battery charger comes on. That means that the battery is connected correctly to the battery charger. (Fig. 39) (Fig. 40)


- When all LEDs on the battery come on, the battery is fully charged. (Fig. 41)

- To disconnect the battery charger from the mains socket, pull the plug. Do not pull the cable.
- Disconnect the battery from the battery charger.
Note: Refer to the battery and battery charger manuals for more information.
To connect the battery to the product
WARNING: Only use the initial Husqvarna battery for the product.
- Fully charge the battery.
- Push the battery into the battery holder of the product. The battery locks into position when you hear a click. (Fig. 42)

CAUTION: If the battery does notmove easily into the battery holder, the battery is not installed correctly. This can cause damage to the product.
To start the product
- Push and hold the start/stop button until the green LED comes on. (Fig. 43)

- Push the power trigger lockout and the power trigger. The cutting equipment starts to rotate.
To adjust the loop handle
- Loosen the knob and adjust the loop handle to an applicable position. (Fig. 44)

Note: Make sure not to attach or move the loop handle onto the warning decals on the two-piece shaft. - Tighten the knob
Automatic shutdown function
The product has a shutdown function that stops the product if the product is not used. The green LED for start/stop indication goes off and the product stops after 180 seconds.
To operate the product
To trim the grass
- Hold the trimmer head immediately above theground at an angle. Do not push the trimmer line into the grass. (Fig. 45)

- Decrease the length of the trimmer line by 9–11 cm/ 3.5–4.3 in.
To clear grass
- Keep the trimmer head above the ground.
- Tilt the trimmer head.
- Cut with the end of the trimmer line around objects in the work area.
CAUTION: Cut grass. Other objects that are hit by the trimmer line, increases the wear on the trimmer line.
To cut the grass
- Make sure that the trimmer line is parallel to the ground when you cut the grass. (Fig. 46)

- Do not push the trimmer head to the ground. This can cause damage to the product.
- Move the product from side to side when you cut grass. Use full speed. (Fig. 47)

To sweep the grass
The airflow from the rotating trimmer line can be used to remove cut grass from an area.
- Hold the trimmer head and the trimmer line parallel to the ground and above the ground.
- Apply full throttle.
- Move the trimmer head from side to side and sweep the grass.
WARNING: Clean the trimmer head cover each time you assemble new trimmerline to prevent unbalance and vibrations in the handles. Also do a check of the other parts of the trimmer head and clean it if necessary.
To turn the trimmer head
The twist and edge button of the product lets the operator turn the trimmer head. This makes it easier to edge along walks or driveways. (Fig. 48)
- Push and hold the button while you turn the trimmer head 90 degrees.
- Release the button to lock the trimmer head in vertical position.
To cut the lawn edge
Make sure that the grass trimmer line is vertical to theground. Refer to To turn the trimmer head . (Fig. 49)
- Walk slowly.
- Do not let the trimmer head touch the ground. The ground and the trimmer head can become damaged.
- Use full power.
- Make sure that the cut material ejects into an area that was cut before.
To stop the product
- Release the power trigger and the power trigger lockout.
- Push the start/stop button until the green LED goes off.
- Push the release buttons on the battery and remove the battery from the product. (Fig. 50)

To replace trimmer line
Refer to the last page of this operator’s manual.
Maintenance
Introduction
WARNING: Read and understand the safety chapter before you do maintenance on the produ
Maintenance schedule
WARNING: Remove the battery before you do maintenance.
The following is a list of the maintenance steps that youmust do on the product. See Maintenance on page 14 for more information.
| Maintenance | Daily | Weekly | Monthly |
| Clean the external parts of the product with a dry cloth. Do not use water. | X | ||
| Examine that the start and stop button works correctly and is not damaged. | X | ||
| Make sure that the power trigger and the power trigger lockout function correctly from a safety point of view. | X | ||
| Make sure that all controls work and are not damaged. | X | ||
| Keep the handles dry, clean and free from oil and grease. | X | ||
| Make sure that the cutting attachment is not damaged. Replace the cutting at- tachment if it is damaged. | X | ||
| Make sure that the cutting attachment guard is not damaged. Replace the cut- ting attachment guard if it is damaged. | X | ||
| Make sure that the screws and nuts are tight. | X | ||
| Make sure that the battery release buttons on the battery works and locks the battery in the product. | X | ||
| Examine that the battery charger is not damaged and function correctly. | X | ||
| Make sure that the battery is not damaged. | X | ||
| Make sure that the battery is charged. | X | ||
| Make sure that the battery charger is not damaged. | X | ||
| Examine all cables, couplings and connections. Make sure they are not dam- aged and free from dirt. | X | ||
| Do a check of the connections between the battery and the product. Do a check of the connection between the battery and the battery charger. | X |
To examine the battery and the battery charger
- Examine the battery for damages, for example cracks.
- Examine the battery charger for damages, for example cracks.
- Make sure that the connection cord of the battery charger is not damaged and that there are no cracks in it
To clean the product, the battery and the battery charger
- Clean the product with a dry cloth after use.
- Clean the battery and battery charger with a dry cloth. Keep the battery guide tracks clean.
- Make sure that the terminals on the battery and thebattery charger are clean before the battery is put in the battery charger or the product.
To examine and replace the trimmer head
- Do a check of the trimmer head for damages andcracks.
- Pull out the chute assembly for the trimmer line.
- Remove the trimmer head. (Fig. 51)

- Replace the trimmer head.
- Assemble the trimmer head. Refer to To assemble the trimmer head
Troubleshooting
Keypad
| Problem | Possible faults | Possible solutions |
| The LED flashes continuously. | Low voltage. | Charge battery. |
| The product does not start. | Push the power trigger and press the start button at the same time. | Release the power trigger and stop the product. |
| The LED flashes 3 times again and again. | Overcurrent. | Release the power trigger and start the product again. |
| The LED flashes 5 times again and again. | Temperature deviation. | Let the product cool down. |
| The LED flashes 7 times again and again. | Logical error. | Release the power trigger and start the product again. |
Battery
| LED display | Possible faults | Possible action |
| The green LED flashes. | Low battery voltage. | Charge the battery. |
| The error LED flashes. | Temperature deviation. | Use the battery in temperatures between-10°C (14°F) and 40°C (104°F). |
| Too much voltage. | Make sure that the mains voltage aligns with the voltage stated on the rating plate of the product. | |
| Remove the battery from the battery charger. | ||
| The error LED is on. | Cell difference is too much (1V). | Speak to your servicing dealer. |
Transportation, storage and disposal
Transportation and storage
- The supplied Li-ion batteries obey the Dangerous Goods Legislation requirements.
- Obey the special requirement on package and labels for commercial transportation, including by third parties and forwarding agents.
- Speak to a person with special training in dangerousmaterial before you send the product. Obey all applicable national regulations.
- Use tape on open contacts when you put the battery in a package. Put the battery in the package tightly to prevent movement.
- Remove the battery for storage or transportation.
- Put the battery and the battery charger in a space that is dry and free from moisture and frost.
- Do not keep the battery in an area where static electricity can occur. Do not keep the battery in a metal box.
- Put the battery in storage where the temperature is between 5°C/41°F and 25°C/77°F and away from open sunlight.
- Put the battery charger in storage where the temperature is between 5 °C/41 °F and 45°C/113°F and away from open sunlight.
- Use the battery charger only when the surroundingtemperature is between 5°C/41°F and 40°C/104°F.
- Charge the battery 30% to 50% before you put it in storage for long periods.
- Put the battery charger in storage in a space that is closed and dry.
- Keep the battery away from the battery charger during storage. Do not let children and other not approved persons to touch the equipment. Keep the equipment in a space that you can lock.
- Clean the product and do a full servicing before you put the product in storage for a long time.
- Use the transportation guard on the product to prevent injuries or damage on the product during transportation and storage.
- Attach the product safely during transportation.
Disposal of the battery, battery charger and product
Symbols on the product or the package of the product means that the product is not domestic waste. Recycle it at a recycling station for electrical and electronic equipment. This helps to prevent damage to the environment and to persons.
Get in touch with your local authorities, domestic waste service or your dealer for more information about how to recycle your product.
Technical data
Technical data
| 110iL | |
| Motor | |
| Motor type | PMDC |
| Speed of output shaft, rpm | 6500 |
| Cutting width, mm | 300 |
| Weight | |
| Weight without battery, kg | 3.2 |
| Weight with battery (BLi10), kg | 4.0 |
| Noise emissions1 | |
| Sound power level, measured dB (A) for lawn trimmer | 84.7 |
| Sound power level, measured dB (A) for edge trimmer | 87.6 |
| Sound power level, guaranteed LWAdB (A) | 92 |
| Noise levels2 | |
| Equivalent sound pressure level at the operator’s ear, measured according to EN ISO 50636-2-91, dB (A) for lawn trimmer: | 73.4 |
| Equivalent sound pressure level at the operator’s ear, measured according to EN ISO 50636-2-91, dB (A) for edge trimmer: | 72.9 |
| Vibration levels3 | |
| Vibration levels at handles, measured according to EN50636-2-91, m/s2 Equipped with trimmer head (original), front/rear for lawn trimmer. | 1.365 / 1.051 |
| Vibration levels at handles, measured according to EN50636-2-91, m/s2 Equipped with trimmer head (original), front/rear for edge trimmer. | 0.873 / 0.789 |
Approved batteries for the product
| Battery | BLi10 |
| Type | Lithium-ion |
- Noise emissions in the environment measured as sound power (LWA) in conformity with EC directive 2000/14/EC. The difference between guaranteed and measured sound power is that guaranteed sound power also includes dispersion in the measurement result and the varaitaions between different products of the same model refer to Directive 2000/14/EC.
- Reported data for equivalent sound pressure level for the product has a typical statistical dispersion (standard deviation) of 2.5 dB (A).
- Reported data for vibration level has a typical statistical dispersion (standard eviation) of 1.5 m/s2 .
| Battery | BLi10 | |
| Battery capacity, Ah | Refer to battery rating decal | Refer to battery rating decal |
| Nominal voltage, V | 36 | 36.5 |
| Weight, lb/kg | 0.7 | 0.7 |
Approved battery chargers for the product
| Battery charger | QC80 | 40-C80 |
| Mains voltage, V | 100-240 | 100-240 |
| Frequency, Hz | 50-60 | 50-60 |
| Power, W | 100 | 72 |
| Output Voltage, V d.c./ Amps, A | 36/2 | 43/1.6 |
Accessories
Approved accessories Approved accessories
| Approved accessories | Type | Cutting attachment guard, Art. no. |
| Trimmer head | A15B M6 (Ø 1.5 mm cord) | 534 98 40-01 |
Declaration of Conformity
EU Declaration of conformity
We, Husqvarna AB, SE-561 82 Huskvarna, Sweden,
tel:+46-36-146500, declare on our sole responsibility that the product:
| Description | Battery lawn trimmer / Lawn edge trimmer |
| Brand | Husqvarna |
| Type / Model | 110iL |
| Identification | Serial numbers dating from 2021 and onwards |
complies fully with the following EU directives and regulations:
| Directive/ Regulation | Description |
| 2006/42/EC | “relating to machinery” |
| 2014/30/EU | ”relating to electromagnetic compability” |
| 2000/14/EC | “relating to the noise emissions in the environment” |
| 2011/65/EU | “on the restriction of the use of certain hazardous substances in electrical and electronic equipment ” |
and that the following standards and/or technical specifications are applied: EN
60335-1:2012+A11:2014+A13:2017+A14:2019+A1:2019
+A2:2019, EN 50636-2-91:2014, EN IEC 63000:2018,
EN 55014-1:2017+A11; EN 55014-2:2015.
Notified body: 0197 TÜV Rheinland LGA Products GmbH, Tillystraße 2, 90431 Nürnberg, Germany has certified conformity with the council’s directive 2000/14/EC, conformity assessment procedure: Annex VI.
For information relating to noise emission, refer to Technical data .
Huskvarna, 2021-09-30

Pär Martinsson, Development Manager, Husqvarna AB Responsible for technical documentation
UK Declaration of conformity
We, Husqvarna AB, SE-561 82 Huskvarna, Sweden, tel: +46-36-146500, declare on our sole responsibility that the product:
| Description | Battery lawn trimmer / Lawn edge trimmer |
| Brand | Husqvarna |
| Type / Model | 110iL |
| Identification | Serial numbers dating from 2021 and onwards |
complies fully with the following UK regulations:
| Regulation | Description |
| S.I. 2008/1597 | The Supply of Machinery (Safety) Regulations 2008 |
| S.I. 2016/1091 | Electromagnetic Compatibility Regulations 2016 |
| S.I. 2001/1701 | The Noise Emission in the Environment by Equipment for use Outdoors Regulations 2001, Schedule 9 |
| S.I. 2012/3032 | The Restriction of the Use of Certain Hazardous Substances in Electrical and Electronic Equipment Regulations 2012 |
and that the following standards and/or technical specifications are applied: EN
60335-1:2012+A11:2014+A13:2017+A14:2019+A1:2019
+A2:2019, EN 50636-2-91:2014, EN IEC 63000:2018,
EN 55014-1:2017+A11; EN 55014-2:1997+A2:2008.
Approved body: 8500, AnP Certification Ltd. 2 Parkfield Street, Rusholme, Manchester M14 4PN, UK has carried out certified conformity according to S.I.2001/1701.
For information relating to noise emissions, refer to Technical data on page 17.
Huskvarna, 2021-09-30
![]()
Pär Martinsson, Development Manager, Husqvarna AB Responsible for technical documentation
UK Importer: Husqvarna UK Ltd Preston Road, Co. Durham DL5 6UP


















































