IPEVO MESX-11IP Uplift Magnetic Multi-Angle Arm for iPhone 12 Series and Above
What is Uplift Magnetic
Uplift Magnetic is a multifunctional phone stand that increases comfort and effectivity during video calls, touchscreen operation, video recording and presentations. Its magnetic holder allows easy phone attachment and removal, which lets Uplift become a natural part of any workplace setup.
What types of smartphones can be used with Uplift
iPhone 12 and above
- Simply attach your phone to the magnetic holder.

Other smartphones
- A permanent adhesive magnetic circle is included with Uplift. It can be placed to the centre of the back side of your phone’s case.

Adhesive magnetic circle
- The adhesive magnetic circle is non-removable. Hence it is recommended to stick it on the protective case of the smartphone.
- Please note that if placed directly onto the smartphone, the magnetic circle will prevent wireless charging. To avoid this, please place it on your phone’s protective case.
- The adhesive magnetic circle is not meant to be used with iPhone 12 series and above.
The multi-angle arm
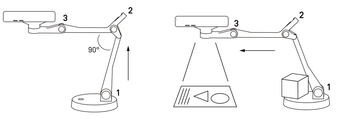
The whole smartphone holder can be rotated 360°. This allows users to display their work from the ideal angle and to switch the image orientation anytime they need to. This is most commonly utilized during video calls when switching between displaying one’s materials and one’s face. To capture a wider area, you can increase the distance between the camera lens and your desk by moving the Uplift’s arm into a more upright position.

Carry-weight limit of Uplift and its magnetic holder
Uplift can support devices of weight up to 300g. When using Uplift as a document camera, ie. the smartphone’s camera is aiming downwards, it is recommended to have joint number 2 positioned at a 90° angle relative to the base. If you choose to use a device that exceeds the maximum supported weight, you may need to add extra weight onto the base. In such a case, please note that the carry-weight limit of the magnetic holder is 600g.

Uplift allows one-hand operation when its arm is partially folded. To remove your phone, please tilt it in one direction, until it is released from the magnetic holder.
Customer Service
- Email: [email protected]
- Tel: +1-408-490-3085 (USA)
Copyright© 2022 IPEVO Corp. All rights reserved.



















