WIRELESS RAIN GAUGE WITH OUTDOOR
TEMPERATURE 
Art.No.: RGT1001
INSTRUCTION MANUAL
ABOUT THIS INSTRUCTION MANUAL
These operating instructions are to be considered a component of the device. Please read the safety instructions and the operating instructions carefully before use. Keep these instructions for renewed use at a later date. When the device is sold or given to someone else, the instruction manual must be provided to the new owner/user of the product. The device is intended only for indoor use.
GENERAL WARNINGS
- Risk of electric shock — This device contains electronic components. Only use the device as described in the manual; otherwise, you run the risk of an electric shock.
- Choking hazard — Children should only use the device under adult supervision. Keep packaging material, like plastic bags and rubber bands, out of the reach of children, as these materials pose a choking hazard.
- Risk of chemical burn — Keep batteries out of the reach of children! Make sure you insert the batteries correctly. Leaking battery acid can lead to chemical burns. Avoid
contact of battery acid with skin, eyes, and mucous membranes. In the event of contact, rinse the affected region immediately with plenty of water and seek medical attention. - Risk of fire/explosion — Do not expose the device to high temperatures. Use only the recommended batteries. Do not short-circuit the device or batteries, or throw them
into a fire. Excessive heat or improper handling could trigger a short circuit, a fire, or an explosion. - Do not disassemble the device. In the event of a defect, please contact your dealer. The dealer will contact the Service Centre and can send the device in to be repaired, if necessary.
- Use only the recommended batteries. Always replace weak or empty batteries with a new, complete set of batteries at full capacity. Do not use batteries from different brands or with different capacities. The batteries should be removed from the unit if it has not been used for a long time.
SCOPE OF DELIVERY
The main station, rain sensor, operating instructions, 3 x screws
BEFORE YOU BEGIN
We recommend using alkaline batteries. If temperatures regularly fall below 0°C (32°F), we recommend using lithium batteries. Avoid using rechargeable batteries. (Rechargeable
batteries cannot maintain correct power requirements.)
Insert batteries before first use, matching the polarity in the battery compartment. 3x AA Batteries are required for the station and 2x AA Batteries are required for the sensor.
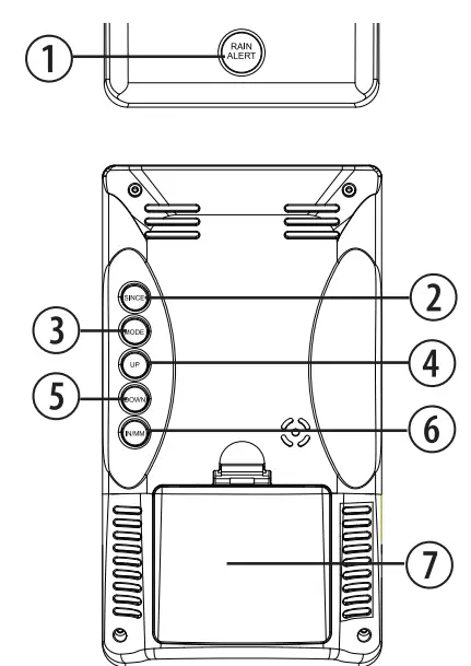
PRODUCT OVERVIEW
MAIN UNIT
- In standard mode, press [ RAIN ALERT ] to turn on/ off the rainfall alarm. Press and hold [ RAIN ALERT ] to enter the rainfall alarm setting mode.
- Press and hold [ SINCE ] to clear the past 9 days’ rainfall value.
- Press [ MODE ] to check the time, week and calendar. Press and hold [ MODE ] to enter time and date setting mode.
- Press [ UP ] to check the past 9 days’ rainfall. In setting mode, press [ Up ] to increase one unit, press and hold to increase rapidly.
- Press and hold [ DOWN ] to initiate the RF signal. Insetting mode, press to decrease one unit. Press and hold to decrease rapidly.
- Press [ IN/MM ] to select the rainfall unit.
- Battery compartment. Slide down to open.
RAIN SENSOR
- LED indicator
- Rain collector
- Mounting ring
- Insert card (IMPORTANT: Remove the card from below the tipping bucket. The card secured the tipping bucket for shipment.)
- Tipping bucket
- Battery compartment
- Watertight battery compartment door (IMPORTANT: Unscrewto open the door)
LCD DISPLAY
- Outdoor temperature display
- Current and Total daily rainfall display or Past 9 days rainfall display (Press [ UP ] to switch)
- Time, week or calendar display (Press [ MODE ] to switch)
Outdoor signal received
Rainfall alarm
Low battery indicator
Rain measurement received

GETTING STARTED
REMOVE INSERT CARD
- Remove the rain collector from the rain sensor, then, remove the insert card securing the tipping bucket for shipment.
- Reattach the rain collector.
INSERT BATTERIES
- Remove the mounting ring at the bottom of the rain sensor and unscrew the watertight battery door.
- Remove the battery compartment cover of the main unit.
- Insert 3x AA and 2xAA (LR03)/1.5V batteries into the main unit and rain sensor respectively. Please ensure the polarities (+/-) of the batteries match upon installation.
- Reattach the battery covers and mounting ring.
NOTE:
– Ensure the watertight O-ring is properly aligned in place to ensure water-resistant.
– Replace batteries when [ ] displays, or when the display is dim.
RAIN SENSOR INSTALLATION
The base station and rain gauge should be positioned within an effective range: about 100 meters (328 feet) in an open area. The rain gauge should be mounted horizontally in an open area away from trees or other obstructions to allow rain to fall naturally for an accurate reading. You may insert the three mounting screws (included) through the holes in the base of the rain sensor.
CLOCK
In standard mode, press the [ MODE ] button to check the time, week and calendar.
SET THE CLOCK MANUALLY
- Press and hold the [ MODE ] button to enter time and date settings.
- The setting parameter will flash.
- Press the [ UP ] button once, the figure will increase 1 unit. Press and hold the [ UP ] button, the figures will increase rapidly.
- Press the [ DOWN ] button once, the figure will decrease 1 unit. Press and hold the [ DOWN ] button, the figures will decrease rapidly.
- Press the [ MODE ] button to confirm the setting and enter to next parameter.
- The sequence of setting: 12/24Hr → Hour → Minute → Year→ Date format (Month/Date or Date/Month) → Month → Date → Language → Exit
LANGUAGE
The sequence of setting language: English (E)→German (D)→French (F)→Italian (I)→
RAINFALL SETTING
- The device will register an RF signal for 4 minutes automatically when power on.
- In standard mode, press and hold [ DOWN ] for 2 seconds to manually receive the value.
Current rainfall value: 0 mm ~ 99.96 in (0 ~ 2539mm)
Total rainfall value: 0 mm ~ 999.96 in (0 ~ 25399mm) Rainfall unit: mm or inch - Press the [ IN/MM ] button to select the rainfall unit in mm or inch.
- The rainfall default displays the amount of daily rainfall. You can press [ UP ] to check the past 9 days rainfall. And press and hold the [ SINCE ] to clear the value.
RAIN ALERT SETTING/ADJUSTING RAINFALL ALARM
- Press and hold the [ RAIN ALERT ] button, enter rainfall alarm setting.
- Press the [ UP ] button once to increase by 1 or press [ DOWN ] once to decrease by 1. Alternatively, press and hold the button to change the figures rapidly.
- Press the [ RAIN ALERT ] button to confirm the setting.
NOTE:
When today’s rainfall value is more than the alarm value, the alarm will beep for 60 seconds, press any button to stop the alarm.
TURN ON/OFF RAINFALL ALARM
- In standard mode, press the [ RAIN ALERT ] button once to turn on/off the rainfall alarm.
- When displaying the rainfall alarm value, do not press any button. The alarm will be turned on after 6 seconds.
- When displaying “—-“, do not press any button. The alarm will be turned off after 6 seconds.
SPECIFICATIONS
MAIN UNIT:
Dimensions:
94x50x172mm (L x W x H)
Weight:
200 g (Exclude batteries)
Power:
3x AA (LR03) 1.5V batteries
Current rainfall range:
0 mm – 99.96 in (0 ~ 2539mm)
Total rainfall range:
0 mm – 999.96 in (0 ~ 25399mm)
RAIN SENSOR:
Dimensions:
117x117x164 mm (L x W x H)
Weight:
280 g (Exclude batteries)
Outdoor temperature measuring range:
-40°C to +70°C (-40°F to 158°F)
Transmission range:
433 MHz
Power:
2x AA (LR03) 1.5V batteries
RCM DECLARATION OF CONFORMITY
The product complies with electrical safety, EMC, and radio spectrum regulatory requirements for products supplied to the Australian or New Zealand market.
FCC COMPLIANCE STATEMENT
FCC Supplier’s Declaration of Conformity
Rain Gauge / SR3001
This device complies with part 15 of the FCC Rules. Operation is subject to the following two conditions: (1) This device may not cause harmful interference, and (2) this device must accept any interference received, including interference that may cause undesired operation.
Suppliers Name: Explore Scientific, LLC
Suppliers Address:1010 S. 48th Street, Springdale, AR 72762
Suppliers phone number: 866.252.3811
Warning: Changes or modifications not expressly approved by the party responsible for compliance could void the user’s authority to operate the equipment.
NOTE: This equipment has been tested and found to comply with the limits for a Class B digital device, pursuant to Part 15 of the FCC Rules. These limits are designed to provide reasonable protection against harmful interference in a residential installation. This equipment generates, uses, and can radiate radio frequency energy and, if not installed and used in accordance with the instructions, may cause harmful interference to radio communications. However, there is no guarantee that interference will not occur in a particular installation. If this equipment does cause harmful interference to radio or television reception, which can be determined by turning the equipment off and on, the user is encouraged to try to correct the interference by one or more of the following measures:
— Reorient or relocate the receiving antenna.
— Increase the separation between the equipment and receiver.
— Connect the equipment into an outlet on a circuit different from that to which the receiver is connected.
–Consult the dealer or an experienced radio/TV technician for help.
NOTES ON CLEANING
- Remove the batteries before cleaning.
- Only use a dry cloth to clean the exterior of the device. To avoid damaging the electronics, do not use any cleaning fluid.
- Protect the device from dust and moisture.
DISPOSAL
Dispose of the packaging materials properly, according to their types, such as paper or cardboard. Contact your local waste disposal service or environmental authority for information on the proper disposal. Do not dispose of electronic devices in the household garbage!
As per the Directive 2002/96/EC of the European Parliament on waste electrical and electronic equipment and its adaptation into German law, using electronic devices
must be collected separately and recycled in an environmentally friendly manner.
In accordance with the regulations concerning batteries and rechargeable batteries, disposing of them in normal household waste is explicitly forbidden. Please make sure to dispose of your used batteries as required by law — at a local collection point or in the retail market. Disposal in domestic waste violates the Battery Directive. Batteries that contain toxins are marked with a sign and a chemical symbol.
1 battery contains cadmium
2 battery contains mercury
3 battery contains lead
WARRANTY & SERVICE
WARRANTY:
EU www.bresser.de/warranty_terms
USA www.explorescientific.com/warranty
– EU VERSION – The regular guarantee period is 2 years and begins on the day of purchase. You can consult the full guarantee terms as well as information on extending the guarantee period and details of our services at www.bresser.de/warranty_terms. Would you like detailed instructions for this product in a particular language? Then visit our website via the link below (QRcode) for available versions.
Alternatively, you can also send an email to manuals@bresser. de or leave a message on +49 (0) 28 72 – 80 74-220*. Please always state your name, precise address, a valid phone number and email address, as well as the article number and name. *Number charged at local rates in Germany (the amount you will be charged per phone call will depend on the tariff of your phone provider); calls from abroad will involve higher costs.
MANUAL DOWNLOAD:
www.bresser.de/download/RGT1001
www.explorescientific.com/weather-clock-manuals



















