QSC Q-SYS NL-SB42 4 Inch Two-way Network Soundbar

EXPLANATION OF TERMS AND SYMBOLS
The term “WARNING” indicates instructions regarding personal safety. Failure to follow them may result in bodily injury or death.
The term “CAUTION” indicates instructions regarding possible damage to physical equipment. Failure to follow them may result in equipment damage to equipment that may not be covered under the warranty.
The term “IMPORTANT” indicates instructions or information that are vital to the successful completion of the procedure.
The term “NOTE” indicates additional useful information.
The lightning flash with arrowhead symbol in a triangle alerts the user to the presence of uninsulated dangerous voltage within the product’s enclosure that may constitute a risk of electric shock to humans.
The exclamation point within a triangle alerts the user to important safety, operating, and maintenance instructions in this manua
IMPORTANT SAFETY INSTRUCTIONS
WARNING!: TO PREVENT FIRE OR ELECTRIC SHOCK, DO NOT EXPOSE THIS EQUIPMENT TO RAIN OR MOISTURE.
- Read, follow, and keep these instructions.
- Heed all warnings.
- Do not use this apparatus near water.
- Clean only with a dry cloth.
- Do not install near heat sources such as radiators, heat registers, stoves, or other apparatus (including amplifiers) that produce heat.
- Only use attachments/accessories specified by the manufacturer.
- Refer all servicing to qualified service personnel. Servicing is required when the apparatus has been damaged in any way, such as when the power supply cord or plug is damaged, liquid has been spilled or objects have fallen into the apparatus, the apparatus has been exposed to rain or moisture, does not operate normally, or has been dropped.
- Do not use this apparatus in or near water or liquids.
- Do not submerge the apparatus in water or liquids.
- Do not use any aerosol spray, cleaner, disinfectant or fumigant on, near or into the apparatus.
- Adhere to all applicable, local codes.
- Consult a licensed, professional engineer when any doubt or questions arise regarding a physical equipment installation.
Maintenance and Repair
WARNING: Advanced technology, e.g., the use of modern materials and powerful electronics requires specially adapted maintenance and repair methods. To avoid a danger of subsequent damage to the apparatus, injuries to persons and/or the creation of additional safety hazards, all maintenance or repair work on the apparatus should be performed only by a QSC authorized service station or an authorized QSC international distributor. QSC is not responsible for any injury, harm or related damages arising from any failure of the customer, owner or user of the apparatus to facilitate those repairs.
IMPORTANT! PoE Power Input – PoE+ Type 2 Class 4 capable. See “Connections and Controls”.
Cleaning
WARNING: Liquids entering the housing may damage the internal electronics. Keep liquids away and do not use any solvents or chemicals to clean this product. Clean only with a soft, slightly damp or dry cloth.
Specifications and Dimensions
Product specifications and dimension drawings for the NL-SB42 can be found online at www.qsc.com.
FCC Statement
NOTE: This equipment has been tested and found to comply with the limits for a Class B digital device, pursuant to part 15 of the FCC Rules. These limits are designed to provide reasonable protection against harmful interference in a residential installation. This equipment generates, uses and can radiate radio frequency energy and, if not installed and used in accordance with the instructions, may cause harmful interference to radio communications. However, there is no guarantee that interference will not occur in a particular installation. If this equipment does cause harmful interference to radio or television reception, which can be determined by turning the equipment off and on, the user is encouraged to try to correct the interference by one or more of the following measures
- Reorient or relocate the receiving antenna.
- Increase the separation between the equipment and receiver.
- Connect the equipment into an outlet on a circuit different from that to which the receiver is connected.
- Consult the dealer or an experienced radio/TV technician for help
Environmental
- Expected Product Life Cycle: 10 years
- Storage Temperature Range: -20°C to +70°C
- Relative Humidity: 5 to 85% RH, non-condensing
RoHS Statement
The QSC Q-SYS NL-SB42 is in compliance with European Directive 2011/65/EU – Restriction of Hazardous Substances (RoHS2).
The QSC Q-SYS NL-SB42 is in compliance with “China RoHS” directives per GB/T 26572. The following chart is provided for product use in China and its territories:
What’s in the Box
| (1x) Wall mount bracket |
|
| (1x) Warranty statement |
|
Connections and Controls
Front
- LED Light Bar: Indicates the status of the NL-SB42.

Rear
- Q-LAN/PoE Port: For Q-LAN connection. The NL-SB42 is a PoE Enabled Device (PoE+ Type 2 Class 4 capable). Use a suitable PoE network switch or supply connected to this port.
- ID Button: Press to identify this product in Q-SYS Designer Software and Q-SYS Configurator.
- Reset Button: Use the Reset button to restore default network settings and recover factory default settings. Before attempting a reset, refer to the Q-SYS Help for details.

Freestanding Installation
- Attach the rubber feet with the included screws (Figure 3).
- Bend down the feet to pull off the protective film and affix the feet to the soundbar (Figure 4).
- Place the soundbar on a table or credenza.
- Connect a network cable to the Q-LAN/PoE port at the back of the soundbar.
- Connect the the other end of the network cable to a PoE+ switch.

Permanent Installation
IMPORTANT! Mount to a surface capable of supporting the weight of the soundbar.
WARNING: Install the system in accordance with local building codes and regulations. Use a licensed contractor or professional engineer. QSC, LLC is not responsible for damages resulting from the negligent installation of any bracket or loudspeaker.
Soundbar Mounting Features
Refer to Figure 5.
- Hanging Bracket Bosses
- Wall Bracket Bars
- Adjustment Nut

Wall Mount Bracket Features
Refer to Figure 6.
- Release Latches
- Safety Locking Screws (both sides)
- Cable Pass Notch

Mounting and Cabling Options
You can mount the soundbar horizontally or vertically, with the Ethernet cable routed through the wall (directly behind the bracket) or through the bracket’s Cable Pass Notch. For ease of access when releasing the speaker from the bracket in the horizontal position, it is recommended to position the bracket with the Release Latches (Figure 6) on the bottom.
NOTE: If you are not feeding the cable through the wall and bracket, position the Cable Pass Notch toward the display, as shown in Figure 7. In this case, orient a horizontally-positioned bracket with the Release Latches on top.
Place the Bracket
Refer to Figure 8. Horizontal orientation shown.
- Place the bracket on the wall – for example, centered under a display.
- Level the bracket, and then trace the anchor slots.
- Mark the cable exit location.
- Set the bracket aside.
- Draw a level line horizontally through the top wall trace marks and vertically through the left and right side trace marks.
- Drill or cut a hole for the cable.
- Pull the cable through.


Mount the Bracket
Refer to Figure 9. Horizontal orientation shown.
- Feed the Ethernet cable through the bracket before mounting.
- Place the four Wall Isolation Washers between the wall and the bracket.
- Attach the bracket to the wall using mounting hardware (not included) suitable for the wall composition – wood studs, concrete, brick, metal studs, etc.
- Continue to “Wire the Loudspeaker”

NOTE: If you are not feeding the Ethernet cable through the wall, mount the bracket so that the center notch is pointing toward the cable entry – typically toward the display (Figure 10).
Connect the Cable
Before mounting the speakerbar, plug the Ethernet cable’s RJ45 connector securely into the jack on the back of the enclosure (Figure 11).
Attach the Soundbar
Push the soundbar onto the wall bracket. The Wall Bracket Bars on the soundar will snap and lock onto the wall bracket (Figure 12).
Align the Soundbar – Horizontal
You can adjust the soundbar left or right as needed to align with the display, cameras, or other wall-mounted objects.
- Review the soundbar’s alignment with other objects (Figure 13).
- Release the soundbar from the wall bracket. See “Release the Soundbar”.
- Re-attach the soundbar in the desired position.
NOTE: Sliding the soundbar while it is locked to the bracket is not recommended.
Align the Soundbar – Vertical
For vertical installations, you can adjust the soundbar’s alignment with the Adjustment Nut. There is approximately 1 inch of room for adjustment.
- Review the soundbar’s alignment with other objects, such as another soundbar (Figure 14).
- Turn the Adjustment Nut to raise or lower the soundbar (Figure 15)


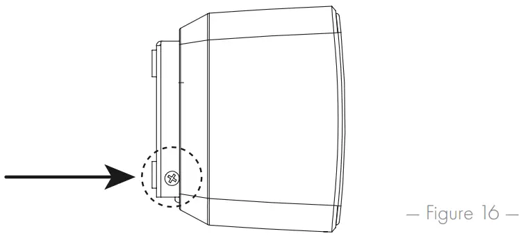
Tighten the Safety Lock Screws
For safety and security, tighten the Safety Locking Screws on both sides of the wall bracket (Figure 16).
Release the Soundbar
To remove the soundbar from the wall bracket, press the Release Latches located on the top or bottom of the bracket, depending on the orientation (Figure 17).
Confirm Connections
- Once the NL-SB42 is connected to a suitable PoE+ network switch, the RJ45 jack LEDs will indicate network status.
Left LED Right LED Yellow Green Dark – Disconnected Dark – Disconnected/10Mbps/100Mbps Solid – Link Solid – 1 Gigabit Link Flashing – Activity 
- For Q-SYS status, check the status LED under the grille (Figure 18).
Identify Initializing Fault NL-SB42 Yellow – Flashing Blue – Breathing Red – Breathing NOTE: Before you can use the NL-SB42, you must add and configure the soundbar in a design using Q-SYS Designer Software. Refer to the Q-SYS Help for more information.

QSC Self Help Portal
Read knowledge base articles and discussions, download software and firmware, view product documents and training videos, and create support cases.
https://qscprod.force.com/selfhelpportal/s/
Customer Support
Refer to the Contact Us page on the QSC website for Technical Support and Customer Care, including their phone numbers and hours of operation.
https://www.qsc.com/contact-us/
Warranty
For a copy of the QSC Limited Warranty, visit the QSC, LLC., website at www.qsc.com.
© 2022 QSC, LLC. All rights reserved. QSC and the QSC logo, Q-SYS, and the Q-SYS logo are registered trademarks of QSC, LLC in the U.S. Patent and Trademark Office and other countries. Patents may apply or be pending. All other trademarks are the property of their respective owners.
www.qsc.com/patent
(1x) NL-SB42
(1x) Wall mount bracket
(2x) Rubber feet and screws
(4x) Wall isolation washers
(1x) Warranty statement































