

Climater 2,4 GHz
RC Speedboot | RC Speed boat
No. 410142
INSTRUCTION
Attention! With safety function!
The boat has a safety function that prevents it from running outside the water. Outside the water the motor and the steering is deactivated. So if the model don´t run after the battery is connected and the transmitter is powered on please check that the boat is set in the water properly. Do not operate the model in salty water.


GENERAL INFORMATION
JAMARA e.K. is not liable for any damage caused to the product itself or through this, provided this
is due to improper operation or handling errors. The Customer alone bears the full responsibility for
the proper use and handling, including without limitation, the assembly, the charging process, the
use and choice of the operation area. Please refer to the operating and user instructions, it contains
important information and warnings.

Read the complete instructions and security instructions carefully before using the model. Caution! Please fully and carefully read warnings/ safety instructions. These are for our own security and can avoid accidents/injuries.


This model is not a toy!
Not suitable for people under 14 year.
Warning: – Not suitable for children under 36 months.
RISK OF SUFFOCATION!
Contains small parts which can be swallowed.
Keep away necessarily from children.
– This device is not intended for use by individuals (Including children) with reduced physical sensory, mental abilities, lack of experience and / or knowledge, unless they are supervised in how the device is to be used.

CERTIFICATE OF CONFORMITY
Hereby JAMARA e.K. declares that the products „Climates 2,4 GHz Speed boot, No.
410142“ comply with Directives 2014/53/EU, 2011/65/EU and 2009/48/EC.
The full text of the EU Declaration of Conformity is available at the following Internet
address: www.jamara-shop.com/Conformity



COMPONENTS
Boat:
1. Top cover
2. Boat
3. Cooling cover
4. Anti-collision cover
5. Housing
6. Lock
7. Propeller
8. Lock Nut
9. Transmission shaft
10. Steering linkage
11. Rudder
12. Tail vane bracket
13. Trim flaps
Transmitter:
A On/Off Switch
B Turbo/180°Turn back function
C Left/Right
D Forward/Reverse
E Power LED
F Trim left
G Trim forward
H Trim right
I Trim backward
Stand
PLACING THE BATTERY

- Remove the battery compartment cover.
- Fit the 4 x AA batteries, observe the correct polarity.
- Replace the battery hatch
Battery warning:
Non-rechargeable batteries are not to be recharged!
Do not open! Do not dispose of in fire!
Do not mix old and new batteries!
Do not mix alkaline batteries, standard (carbon-zinc) or rechargeable batteries!
Rechargeable batteries are to be removed from the toy before being charged!
Rechargeable batteries are only to be charged under adult supervision!
The supply terminals are not to be short-circuited!
CHARGING BY USB

- Insert the USB plug from the USB cable into the USB socket of your PC.
- Connect the battery with USB charger.
- The LED light is ON whilst charging. The charging time by completely discharged battery pack about ~ 3 hours.

Attention!
Let the model cool off sufficiently after each use before putting it back into operation. When
using an additional batteries let it cool off for minimum 10 minutes until the model is operated again. Overheating can damage the electronics or may result in fire.
Under voltage warning!
Your boat model has an acoustic and optical under voltage warning. The red LED on your transmitter
will go off as soon as the battery voltage on your boat falls below the safe operating level. To avoid
deep discharging and losing your model remove it from water as soon as possible and unplug the
battery
Danger!
If your model has an on/ off switch, always turn off the model immediately after each use. If your
model has a removable battery or a disconnectable connector to the battery, the battery should be
disconnected from the model immediately after each use. The battery can be deep-discharged by
accidentally turning it on or by leaving the battery plugged in. By deep discharge the battery it loses
power, can be damaged so much that charging or discharging is no longer possible and the battery
can ignite itself during charging or discharging (fire hazard). Never attempt to charge or discharge
deep-discharge batteries. The voltage of the battery should never be under 6 Volt to avoid a deep
discharge. The fully charged battery has a voltage of 8,2 Volt.. After usage, the intact battery has
to be fully charged after a cooling phase of at least 10 min but not longer than 12 hrs. This is to
avoid a deep discharge caused by a self-discharge. When not using or storing the battery it has
to be checked at least every three months for voltage (min. 7,8 Volt) or damage and if necessary
charged or disposed.




INSERTING THE BATTERY
- Turn the switch of boat top cover and open the boat top cover
- Place the battery in the battery compartment.
- Connect the charged battery pack with the model.
- Close the cover again

- Anti-collision part can prevent bow cusp causing injury.
- Put the boat into water, the boat will be turn on automatically
Pairing the transmitter and the model
- Put the boat into the water.
- Turn on the Controller. The LED light on it will flash quickly.
- When the controller connected to the boat successfully, it will make a „beep“ sound, and the LED light will keep on

Attention!
- By the simultaneous operation of few models always put the model in water first, and then switch on the corresponding transmitter. Then repeat the procedure with the next boat. Do not put many boats in the water at the same time, and do not switch many transmitters at the same time. It may cause that many boats are responding to one transmitter.
- Never operate your model beyond sight. Both the maximum visibility as well as the max. range of your model will depend on many factors such as weather, location and interfering frequencies.
TURBO

The boat starts at the preset high speed. Press the Turbo button to change the speed.
One „beep“ = low speed
Two „beeps“ = high speed
CONTROL





1. Forward
If the lever is pulled back towards the transmitter grip the model will accelerate forwards.
2. Backward
If the lever is pulled forward towards the model will accelerate backwards.
Avoid swimming backwards, because it may splash the water inside the model.
3. Turn left – Rotate the direction knob of the remote controller anticlockwise, the boat model is turned left.
4. Turn right – Rotate the direction knob of the remote controller clockwise, the boat model is turned right.
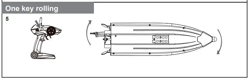
5. Turnover of boat model – When the boat turns over during driving, keep pressing the „180°Turn back function button“ un till it turns back.

Warning!
Should your boat model jump on the water, or turn to the side, it means that there is perhaps some water in the body. Retrieve your boat to the land, drain it and let it dry before you use it again.
SAFETY PRECAUSIONS FOR LITHIUM BATTERY
Because of the high power compactivity (up to 150 Wh /kg) the cells are quite dangerous and need
special care! The company Jamara excludes explicitly, all types of liability for damages, that can
occur when using the Lithium-Polymer-Cells indequate.
- When using the battery incorrect there is a risk of getting fire or acid-injuries.
- Overcharging, too high power, or discharging at low level destroys the cell.
- Protect from mechanical stress (squeezing, pushing, bending, drilling).
- Never open or cut batteries, do not throw into fire, keep away from children.
- Handle damaged or leaking battery with care. Injuries or damages to the product can occure.
- Under no circumstance short-circuit the device and always watch out for correct polarity.
- Protect batteries from heat above 65 °C , mount away from hot objects (for example exhaust pipe).
- Before storing batteries (for example in the winter) charge the battery. Do not store in fully charged
or in non charged state! - The contents of the cell is harm full for skin and eye.
- If the content comes into contact with skin, clean with plenty of water and take off moisted clothes.
- If the content comes into contact with the eyes, clean with plenty of water and consult a doctor.
If the cell overheats, swells, burns or smoke is coming from it, do not touch it under any circumstances. Keep away in a safe distance and prepare adequate extinguishing agents such (No water explosion, well dry sand, fire extinguishers, fire blanket, salt water).
Service notes:
Metal parts and electronics may corrode in a short time after use. Clean and dry your boat model
after each use. Grease all metal and moving parts regularly to prevent corrosion and mechanical
stiffness. The grease is the boat’s seal, it prevents water from getting into the model.
Practical tip:
- Dismantle the boat only if you are sure you can put it back together. Otherwise leave it to
professionals or someone technically capable. - For better reassembly, document your dismantling process with photographs, so you could find
your way back. - Use the all-around grease with a medium viscosity.
- Grease the model after around 20 battery recharges, or as soon as you notice that there is not
enough lubrication (for instance by hearing the squeaking noise or when the water starts to get
inside the boat by the propeller mount).
TROUBLE SHOOTING
1. The model does not run
● The battery may low on power.
After each use, or once a month minimum, charge the battery.
● The transmitter battery’s are to low.
Put new battery’s into the transmitter.
● Battery connector or wires are loose.
Make Sure the battery connectors are firmly plugged in to each other.
● Battery is dead.
Your battery may need to be replaced.
● Electric system is damaged.
Water may have corroded the system.
2. The battery will not recharge
● Charger is not plugged in.
Make sure the charger is plugged into the wall outlet and the power flow to the outlet is on.
● Charger is not working.
Is the charger warm while charging? If not, the charger may.
3. The vehicle does not run very long.
● Battery may be undercharged.
You may not be charging the battery long enough. After each use, or once a month minimum,
charge the battery.
● Battery is old.
The battery will eventually lose the ability to hold a charge. Depending on the amount of use,
and varying conditions, the battery should operate for one to three years. Replace the battery
with a new one.
OPERATING SAFETY INSTRUCTION
- Only use in shallow water.
- The boat may not be operated in salty water.
- Keep hands, hair and loose clothing away from the rotor, not reach into the rotors.
- The electronic component in the model are highly sensitive. Do not dispose to high heat or
moisture! Risk of a short circuit! - Do not run the model in strong currents, waves or bad weather.
- Do not operate your model near radio stations or power lines! This can result in radio interference.
- The transmitter should not come into contact with water.
- Check the model, the remote control and charger regularly for damage. If a part is damaged, the
model or accessories should not be used until the damage has been fixed.
SPARE PARTS

No. 412915
Propeller incl. Nuts

No. 412918
Turnfin

No. 412916
Bumper

No. 412919
Servo

No. 412917
Rudder

No. 412920
Circuit board

No. 412921
Motor

No. 412924
Transmitter

No. 412922
Charging Cable USB

No. 412923
Battery Lipo 7,4V
DISPOSAL RESTRICTIONS

Batteries and accumulators must not be disposed of in domestic waste. You are obliged to dispose
of batteries (separate collection) appropriately. After use you can return batteries free of charge to
the retail store. As batteries contain substances that can be irritant, can cause allergy and are highly
reactive, separate collections and proper recycling is important to the environment and to your
health. If the batteries are marked with a chemical symbol Hg, Cd or Pb below the crossed-out waste
bin on wheels it refers to that more than 0.0005% of mercury (Hg), more than 0.002% of cadmium
(Cd) or more than 0.004% Lead (Pb) is included.
Electrical appliances must not be disposed of in domestic waste and must be disposed of separately.
You are obliged to take out the batteries, if possible, and to dispose of the electrical equipment at
the communal collection points. Should personal data be stored on the electrical appliance you must
remove them by yourself.
JAMARA e.K.
Manuel Natterer
Am Lauerbühl 5
DE-88317 Aichstetten
Tel +49 (0) 7565 9412-0
Fax +49 (0) 7565 9412-23
Mail [email protected]
Web www.jamara.com
Service – Tel. +49 (0) 75 65/94 12-777
service@ jamara.com
References
jamara.com
Naslovnica
JAMARA - DoC (Declarations of Conformity)
JAMARA - DoC (Declarations of Conformity)
jamara.com
Janus Trade
Modellbau Zentral - Peter Hofer - Altdorf UR
Reitter Modellbau & Robotics - Zubehör, Ersatzteile, Bausätze
e-dite.cz
Veleprodaja informatičke, foto, dječje i ugostiteljske opreme te konzumne elektronike


















