heater shop A-NVL06117DW Neval Double White Textured Horizontal Radiator Installation Guide
Descriptions
| DESCRIPTION | DESCRIPTION | ILLUSTRATION | |||
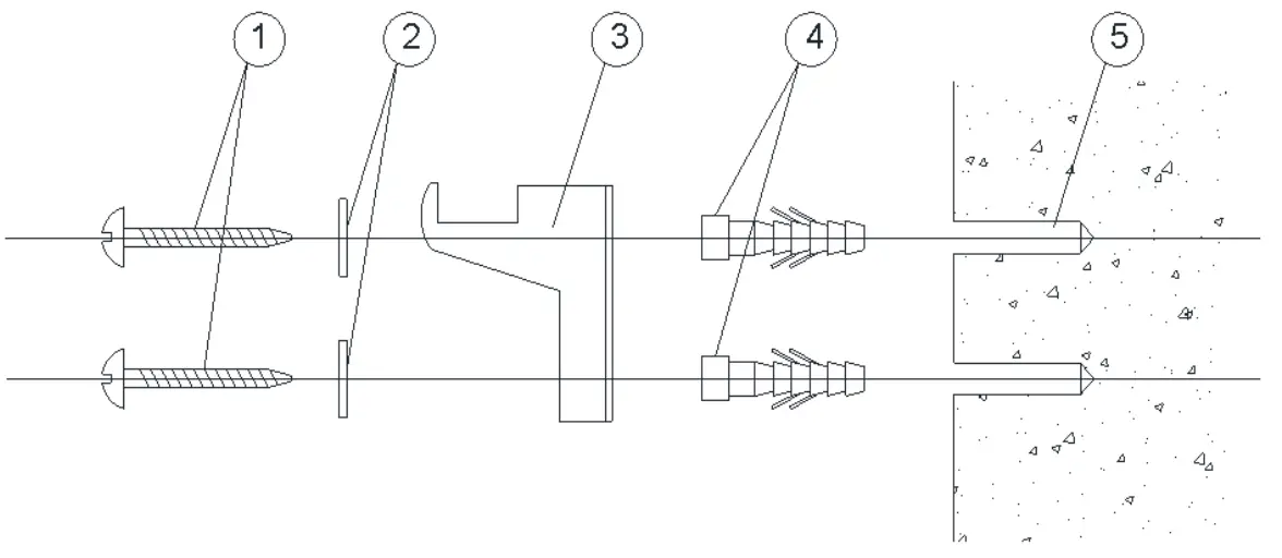
RADIATOR x 1![]() ![]() | Fixing choose the appropriate fixing for the wall material if required | ![]() | |||
| PTFE tape | ![]() | ||||
| Electric drill | ![]() | ||||
| Masonry drill bit appropriate to the fixings | |||||
| Adjustable spanner | |||||
| Radiator valve hex key | ![]() | ||||
TOP – RIGHT CLIPS x 1![]() | TOP – LEFT CLIPS x 1![]() | Flat head and philips head screw drivers | ![]() | ||
BOTTOM – RIGHT CLIPS x 1![]() | BOTTOM – LEFT CLIPS x 1![]() | 1 lock shield valve and 1 gate or thermostatic valve | ![]() | ||
END PLUG x 1![]() ![]() | FIXING SCREWS x 8![]() | WASHERS x 8![]() | Spirit level | ![]() | |
AIR VENT x 1![]() ![]() | WALL ANCHORS x 8![]() | GASKETS x 4![]() | Measuring tape | ![]() | |
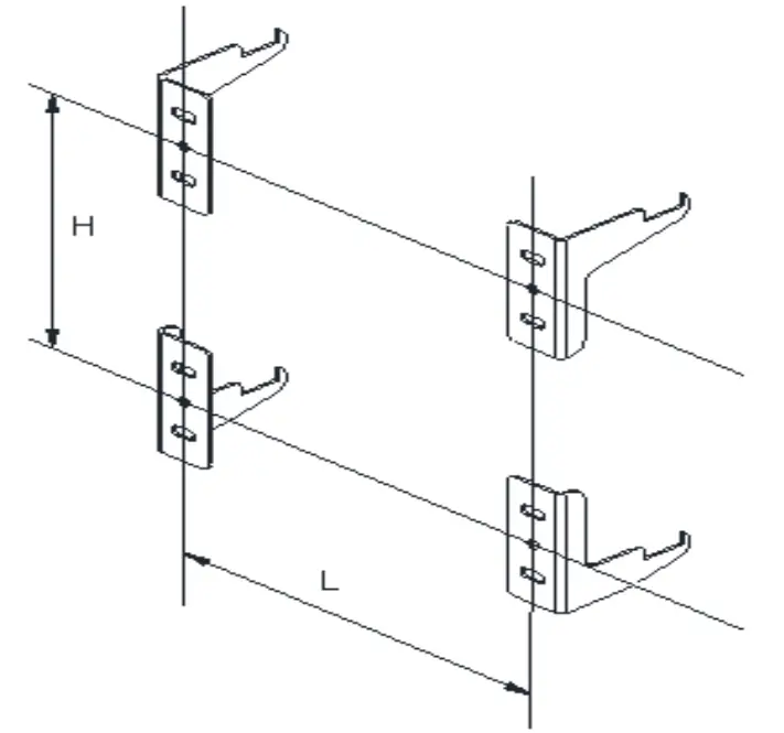
Mounting Instructions

- SCREWS
- DESCRIPTION WASHERS
- CLIPS (BRACKETS)
- WALL ANCHORS
- WALL


| NAMES | A | B | C | TUBE (QTY) | DM | DO | H | L |
| HE’v’AL (SINGLE) | 600 | 404 | 545 | , | 34 | 73 | 480 | 255 |
| 11PJAL (SINGLE) | 600 | 581 | 545 | lu | 34 | 73 | 480 | 432 |
| NEVAL (SINGLE) | 600 | 817 | 545 | 14 | 34 | 73 | 480 | 668 |
| HEVAL (SINGLE) | 600 | 994 | 545 | 17 | 34 | 73 | 480 | 845 |
| 11E’y’AL (SINGLE) | 600 | 1171 | 545 | 20 | 34 | 73 | 480 | 1022 |
| HEVAL (SINGLE) | 600 | 1407 | 545 | 24 | 34 | 73 | 480 | 1258 |
| HEVAL (SINGLE) | 1800 | 286 | 1745 | 5 | 34 | 73 | 1680 | 137 |
| 11EVAL (SINGLE) | 1800 | 345 | 1745 | 6 | 34 | 73 | 1680 | 196 |
| HEVAL (SINGLE) | 1800 | 404 | 1745 | , . | 34 | 73 | 1680 | 255 |
| NEVAL (SINGLE) | 1800 | 463 | 1745 | 8 | 34 | 73 | 1680 | 314 |
| HEVAL (SINGLE) | 1800 | 522 | 1745 | 9 | 34 | 73 | 1680 | 373 |
| IIEVAL (DOUBLE) | 600 | 404 | 545 | 14 | 55 | 94 | 480 | 255 |
| NEVAL (DOUBLE) | 600 | 581 | 545 | 20 | 55 | 94 | 480 | 432 |
| IJEVAL (DOUBLE) | 600 | 817 | 545 | 28 | 55 | 94 | 480 | 668 |
| NEVAL (DOUBLE) | 600 | 994 | 545 | 34 | 55 | 94 | 480 | 845 |
| NE”,’ AL (DOUBLE) | 600 | 1171 | 545 | 40 | 55 | 94 | 480 | 1022 |
| IJEVAL (DOUBLE) | 600 | 1407 | 545 | 48 | 55 | 94 | 480 | 1258 |
| IJEVAL (DOUBLE) | 1800 | 286 | 1745 | lu | 55 | 94 | 1680 | 137 |
| NEVAL (DOUBLE) | 1800 | 345 | 1745 | 12 | 55 | 94 | 1680 | 196 |
| NEVAL (DOUBLE) | 1800 | 404 | 1745 | 14 | 55 | 94 | 1680 | 255 |
| HEVAL (DOUBLE) | 1800 | 463 | 1745 | 16 | 55 | 94 | 1680 | 314 |
| NEVAL (DOUBLE) | 1800 | 522 | 1745 | 18 | 55 | 94 | 1680 | 373 |
GENERAL RECOMMENDATION
- Before fitting the radiator it is necessary to wash out the heating system to remove any existing mud, scale, work residues, traces of flux, oil, etc.
- When the system water pH is outside the 5,5-8,5 range and/or when the dissolved is above 0,1mg/liter, it is always needed to protect the heating system components (the radiator is one of these) with a proper chemical treatment compatible with all parts in contact with water (silicon rubber too).
- In order to fit the radiator to the wall, it is necessary to choose the proper fixings for the wall material.
- If the system water exceeds 50°C, please install a warning mark near the radiator to avoid any accidental scalding.
- Clean the radiator surface only with a soft cloth to avoid scratching the finish and do not use chemical againts during cleaning operations. It is prohibited to climb on the radiator.
- Maximum working temperature 95°C, maximum working pressure 4 bar.





































