ESSENTIALS CFTE50W17 Electric Cooker Instruction Manual
Safety Warnings
IMPORTANT SAFETY INSTRUCTIONS
READ CAREFULLY AND KEEP FOR FUTURE REFERENCE
- It is recommended that this appliance is installed by a qualified electrical engineer. The manufacturer is not responsible for any damage caused by incorrect installation.
- Check whether there is any damage to the appliance after you have unpacked it. If any damage is found, do not use the appliance and contact the store where you purchased it.
- This appliance is for indoor domestic use only.
- This appliance is for cooking purposes only. It must not be used for other purposes, for example room heating.
- For disconnection from the mains supply you must have a switch with a contact separation of at least 3.0 mm in all poles and rated 32 Amp that provides full disconnection, this must be incorporated in the fixed wiring in accordance with the local wiring rules.
- If the mains cable gets damaged, it should be replaced by an authorized service agent or qualified electrician in order to avoid a hazard.
- The oven must be used in a well ventilated location and installed on flat / level ground.
- Only operate your appliance in a dry atmosphere.
- Keep the electrical cables of your other appliances away from hot areas; do not let them touch the appliance.
- Ensure that the appliance is switched off at the mains supply switch and allowed to completely cool down before cleaning, replacing the oven lamp or performing any maintenance to avoid the possibility of an electric shock or burns.
- Use of your appliance creates moisture in the room in which it is placed, make sure that your kitchen is well ventilated. Maintain the natural ventilation ducts properly.
Cleaning and user maintenance shall not be made by children without supervision.- To prevent the appliance tipping, the stabilizing bracket must be installed.
- This appliance can be used by children aged from 8 years and above and persons with reduced physical, sensory or mental capabilities or lack of experience and knowledge if they have been given supervision or instruction concerning use of the appliance in a safe way and understand the hazards involved. Cleaning and user maintenance shall not be made by children without supervision.
- Children should be supervised to ensure that they do not play with the appliance.
- During use the appliance becomes hot. Care should be taken to avoid touching the heating elements inside the oven or the hotplates.
- The appliance and its accessible parts become hot during use. Young children should be kept away.
- Unattended cooking on a hob with fat or oil can be dangerous and may result in fire. NEVER try to extinguish a fire with water, but switch off the appliance and then cover the flame e.g. with a lid or a fire blanket.
- Danger of fire: Do not store items on the cooking surfaces.
- When the oven is hot never touch the oven glass or any other parts that get hot. Allow the oven to cool before touching these parts.
- Do not use harsh abrasives cleaners or sharp metal scrapers to clean the oven door glass since they can scratch the surface, which may result in the glass shattering.
- Before starting to use your appliance, keep curtains, tulle, paper or flammable materials away from your appliance. Do not keep combustible or flammable things in or on the appliance.
- Do not use steam cleaners for cleaning the appliance.
- Do not rest any items on or stand on the open door.
- If the hob surface is cracked, switch off the appliance to avoid possibility of electric shock.
- Take care when handling parts with glass, knocks, chips, heavy handling and dropping could cause the glass to shatter.
- The glass oven door uses toughened glass and is designed to break into many ‘nugget’ size pieces if it breaks. These pieces will still have sharp edges, please handle broken glass with care.
- The appliance is not intended to be operated by means of an external timer or separate remote-control system.
Thank you for purchasing your new Currys Essentials Twin Cavity Freestanding Electric Cooker.
You must read this manual in order to fully understand how to operate your appliance correctly.
This cooker must be installed by a competent engineer. Please allow the installer to view the installation section of this manual.
Read all the safety instructions carefully before use and keep this manual for future reference.
Unpacking
Remove all packaging from the unit. Retain the packaging. If you dispose of it please do so according to local regulations.
The following items are included:
- The Main Unit

- Grill Rack x 1
Grill Pan x 1
Grill Pan Handle x 1
- Oven Shelf x 3

- Stability Bracket x 1

If items are missing or damaged please contact Part master (UK only). Tel: 0344 800 3456 for assistance.
* All images are for indication only; please refer to your individual unit for actual item.
Product Overview
Front View

- Hob
- Control Panel
- Grill Tray
- Grill Door
- Grill Door Handle
- Oven Shelf
- Main Oven Door
- Adjustable Feet
Top View

- Small Hotplate
- Large Hotplate
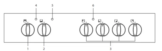
Control Panel

- Grill Control
- Oven Control
- Ceramic Heater Controls
- Grill Indicator Lamp
- Oven Indicator Lamp
- Hob Indicator Lamp
Before Using Your Cooker
Before using your new cooker, please:
- Make sure all the controls are turned off.
- Read this Instruction/Installation Manual, taking special note of the ‘Safety Warnings’ section.
- Turn the mains power on.
This appliance is for cooking purposes only. It must not be used for other purposes, for example room heating.
First Time Use of the Hob
Operate your hotplate hobs at level 6 for 5 minutes. This will remove any manufacturing residues there may be a small amount of smoke and a slight odour. This is normal and will stop after a few minutes..
Choosing the Right Cookware

Do not use cookware with jagged edges or a curved base.
Make sure that the base of your pan is smooth, sits flat against the hotplate, and is the same size as the cooking zone. Always centre your pan on the cooking zone.

- To improve performance, and reduce energy, always use pans with close fitting lids.
Using Your Hob
- Rotate the control to the heat level (1-6) you wish to use for the selected cooking zone.

- When the hob indicator lamp illuminates above the controls, this means that one or more of the hobs are switched on.
LEVEL 0 LEVEL 1 LEVEL 2 LEVEL 3 LEVEL 4 LEVEL 5 LEVEL 6 OFF Simmering (Low) Cooking at medium temperature Cooking, frying and boiling (High) - When you are finished cooking rotate the control back to the “0” position, the hob indicator lamp will turn off. The cooking zones will remain hot for some time. Do not touch the hobs until they have completely cooled down.
First Time Use of the Oven
Ensure that nothing has been left in the oven. Remove any insert cards or plastic bags. Before connecting the power, use a damp cloth to carefully wipe the inner cavity wall and housing. Clean all the detachable parts in hot, soapy water before using.
Heat the oven on maximum for 45 minutes. There may be a little smoke and odour upon initial start up (for about 15 mins). This is normal. It is due to the protective substance on the heating elements which protects the cooker from the effects of corrosion during shipping from the factory
Using the Oven
- Under no circumstances should the oven be lined with aluminium foil as overheating may occur.
- Do not place dishes or baking trays directly onto the base of the oven as it becomes very hot and damage may occur.
- Bread may catch fire if the toasting time is too long. Close supervision is necessary during toasting.
- During use, this appliance becomes hot. Care should be taken to avoid touching hot surfaces, e.g., oven door, heating elements.
- Accessible parts may become hot when in use. Children should be kept away
- On the wall of the inner cavity there are 5 different rack guide slots. You can place the rack at different heights to achieve the best cooking performance depending on the heat of the heating element and the size of the food. It is recommended to preheat the oven for 10 minutes.
- Always monitor the food during operation to ensure that you are not overcooking it.
- For heavy food, use a baking pan rather than the oven shelf.
- During cooking, do not open the door unnecessarily as you will lose heat and your cooking results may cooking times will be longer and energy use will be higher.
- Using cake tins when cooking cakes will give better results

Replacing the Anti-tilting Oven Shelf
- Insert the shelf at an angle with the vertical section to the rear to clear the stops at either side of the guide slot. Once past this stop the shelf can be placed level again.
- To remove, completely angle the shelf upward so the shelf stop is cleared from the guide stop.

Accessible parts may become hot during use. Young children should be kept away.
Using the Oven Control
| Function Description | |
50 100 150 200 250
| Adjusting the temperature This design spreads the heated air equally in the oven and it is suitable for cooking with one or more trays. Turn the oven control to the desired temperature. It is recommended to preheat the oven for 10 minutes. Place the tray on the shelf. At the end of cooking time, as in all other cooking processes; turn the oven control to off. Take the cooking tray out and put it onto a safe place as it will be hot. Keep children away from the hot oven during and after cooking, until it has completely cooled down. |
| The oven’s thermostat, indicator lamp and the lower heating element will be switched on. The heating element will switch on full power (290°C). This setting is idea for cooking pizzas, you may need to adjust the shelf height depending on temperature requirement. | |
| The oven’s thermostat, indicator lamp and the upper heating element will be switched on. The heating element will switch on full power (240°C). This setting is ideal for dishes that require heat from the top to crisp and brown the food. Adjust the shelf height depending on temperature requirement. |

Baking Tips
- Always place baking tins in the centre of the wire shelf.
- Make sure you use bakeware that is oven proof.
- Do not place bakeware too close to the rear of the oven wall.
- You can influence the degree of browning by changing the temperature setting.
- If a cake collapses after removing it from the oven:
- Use less liquid on your next attempt.
- Consider using a longer baking time or use a slightly lower temperature setting
Energy Saving
To save energy and to help protect the environment, we recommend these hints:
- Preheat the oven only if expressly required by the recipe or guidelines.
- Dark baking tins have a higher degree of heat absorption.
- In the case of longer baking times, you can switch off the oven 5–10 minutes before the full baking time and use the residual heat. This will reduce energy usage.
- Use the oven efficiently, by cooking many trays of food at the same time.
- Select the correct shelf location for the food being cooked.
- Do not open the oven door more than necessary
Using the Grill
Before using the Grill for the first time, heat the grill on maximum for 15 ~ 20 minutes. There may be a little smoke and odour upon initial start up (for about 10 mins). This is normal. It is due to the protective substance on the heating elements which protects the cooker from the effects of corrosion during shipping from the factory.
| Function Description | |
| Grill Function This function is used for grilling. In order to grill, please use the grill pan supplied with your product. Turn your grill’s control to the required setting. At the end of grilling, as in all other cooking processes; turn the control to the “0” position (off ). Take the grill pan out by using the supplied handle and put the pan onto a safe place. Keep children away from the hot oven during and after grilling, until it has completely cooled down. |

- The Grill door must be kept open during this function. The door has a position in which the door is open at 30°. This is the minimum the door can be closed during use.
- During use the appliance becomes hot. Care should be taken to avoid touching the heating elements inside the grill.
Place an oven shelf in either guide slot 1 or 2 position. There must be at least 30 mm between the food and the element.
Using the handle, insert the grill rack and tray onto the shelf in guide slot 1 or 2. The food to be cooked must be placed on the grill rack in the grill tray. The handle can be removed once the grill rack tray is in position. Check the food regularly to ensure you do not overcook it.
The grill pan has a detachable handle. Ensure when using the grill pan handle that it is centralised and secure as shown below.

Do not leave the handle in position when grilling. If the handle is left in position when grilling, it will get very hot.


Preheat the grill element for approximately 5-10 minutes before cooking the food.
Ensure a minimum distance of 30 mm exists between the food and the elements. If necessary use a lower guide slot.
Check the food regularly to ensure you do not overcook the food. If slower cooking is required use a lower guide slot or lower grill setting.
Bread may catch fire if the toasting time is too long. Close supervision is necessary during toasting.
General Advice
Before you start cleaning your cooker, please:
- Read the cleaning instructions and the ‘Safety Warnings’ sections.
- Turn the cooker off at the mains socket.
- Allow the cooker to completely cool down before cleaning and disconnect the appliance from the electrical supply.
- Do not use a steam cleaner.
- Do not keep flammable substances in, on or near the cooker.
- Wipe the oven clean after every use.
- Wipe up spills. Avoid leaving alkaline or acidic substances (such as lemon juice or vinegar) on the oven surfaces.
- Do not use cleaning products with a chlorine or acidic base.
- Never clean the interior, panel, lid, trays and all other parts of the oven with tools like a hard brush, cleaning mesh or knife. Do not use abrasive, scratching agents and detergents.
- After cleaning the interior parts of the oven with a soapy cloth, rinse it and then dry thoroughly with a soft cloth. Leave the doors open to allow the cavities to completely dry
- Never use flammable agents like acid, thinner and petrol when cleaning your oven.
- Do not wash any part of your oven in a dishwasher.
- If you choose to use a commercial stainless steel cleaner, please read the label to make sure it does not contain chlorine compounds as these are corrosive and may damage the appearance of your cooker.
- Do not use abrasive cleaners, cloths or pads on the outside surfaces. Immediately wipe off any caustic cleaners if they are spilled onto the oven door handles.
Cleaning the Outside of the Cooker
Wipe the outside surfaces often, using warm water and a mild household detergent. Any stainless steel parts may also be cleaned with a suitable cleaner.
Cleaning the Hotplate
- Ensure the hotplates are cool before cleaning.
- Wipe the hotplates with a soft cloth soaked in only water. To dry the hotplates run each hotplate for a few seconds. Clean each hotplate regularly
Cleaning the Cooker Door Glass
Do not use harsh abrasive cleaners or sharp metal scrapers to clean the oven door glass since they may scratch the surface, which could result in the glass shattering.
Take care when handling parts with glass, knocks, chips, heavy handling and dropping could cause the glass to shatter.

Take care when handling parts with glass, knocks, chips, heavy handling and dropping could cause the glass to shatter.
Cleaning the Inside of Your Cooker
- Do not use abrasive cleaners, cloths or pads to clean the enamel.
- Clean the enamel on the inside of the cooker when it has cooled down, using household detergents or an ammonia-based cleaner. You may use an ‘off the shelf’ oven cleaner, if you carefully follow the manufacturers’ instructions.
- The grill door can be removed to allow easier access to the inside of your grill cavity. (See “Removing the Grill Door” section)
- Wipe the cooker after every use with a soft cloth that has been dampened in soapy water. Wipe it again with a wet cloth and then dry it. Do not clean with dry or powder cleansers.
- Do not clean the cooker while the glass panels are hot.
- Clean the cooker with a glass cleaner which is designed to be used with cookers. Then rinse and then dry it with a dry cloth.
Removing the Grill Door
The grill door can easily be removed as follows:
- Open the door completely

- The swivel retainers of the right hand and left hand hinges are
hooked onto the metal bar above them. Lift the retainers as shown.
- Lift the door slightly. The notch on the bottom of the hinge will disengage.

- Now pull the oven door forwards off the appliance. Releasing both hinge sections from the slots.

To replace the door, repeat the above steps in reverse order.
Replacing the Oven Lamp
Let the oven cavity and the heating element cool down.
- Remove the protective cover by unscrewing.
Ensure that the cooker is switched off before replacing the lamp to avoid the possibility of an electric shock. - Unscrew and replace the bulb with a new one suitable for high temperatures (300°C).
- Refit the protective cover.

Bulb specifications
230V~ 50 Hz, 25W, E14
Hints and Tips
| Problem | Possible Causes | What To Do |
| The cooker cannot be turned on. | No power. | Make sure the cooker is connected to the mains and the socket is switched on. Check whether there is a power outage in your home or area. If you’ve checked everything and the problem persists, call a qualified technician. |
| The glass has been scratched. | Unsuitable, abrasive scourer or cleaning products being used. | Do not use harsh abrasive cleaners or sharp metal scrapers to clean the glass. |
| Some pans make crackling or clicking noises. | This may be caused by the construction of your cookware (layers of different metals expanding/shrinking differently). | This is normal for cookware and does not indicate a fault. |
| The oven temperature is too high or too low. | Wrong temperature selected / or the wrong shelf position was used. | Check that the recommended temperatures and shelf position are being used. Be prepared to adjust the temperature up or down. If the temperature needed is critical use an oven thermometer. |
| The interior lighting lamp does not light. | The lamp has blown. | The oven must be on for the lamp to light. If the lamp is defective you can change it. (See “Replacing the Oven Lamp” section.) |
Product Fiche and Specifications
| Brand | Currys Essentials |
| Model | CFTE50W17 |
| Product Type | Electric Cooker |
| Mass of the appliance | 40.8 Kg |
| Grill ( upper cavity) | |
| Heat Source | Electric |
| Volume | 31 litres |
| Main Oven ( lower cavity) | |
| Energy Efficiency Index – Convectional | 93.5* |
| Energy Class | A* |
| Energy Consumption (electricity) – Conventional | 0.73 kWh/cycle* |
| Heat Source | Electric |
| Volume | 55 litres |
| Number of Cavities | 2 |
| This product complies with EN 60350-1 | |
| Overall Dimension (W x D X H) | 497(W) x 600(D) x 900(H) mm (Not including Controls or Handles) |
| Oven Lamp | 25W |
| Thermostat | 50 – 285°C |
| Oven Heating Elements | 1000 W (Top Element) 1000 W (Bottom Element) |
| Grill Heating Element | 1400 W |
| Supply Voltage | 230 – 240V ~ 50 Hz |
| Hotplate 145 mm | 1000 W at 230V 1150W at 240V |
| Hotplate 180 mm | 1500 W at 230V 1700W at 240V |
| Type of Hob | Electric |
| Number of Cooking Zones | 4 |
| Heating Zone(s) Small | |
| Heating Technology | Radiant – Hotplate |
| Size | 14.5 cm diameter |
| Energy Consumption | 193 Wh/Kg |
| Heating Zone(s) Large | |
| Heating Technology | Radiant – Hotplate |
| Size | 18 cm diameter |
| Energy Consumption | 193 Wh/Kg |
| Energy Consumption of Hob | 193 Wh/Kg |
| The Hob complies with | EN 60350-1 & EN 60350-2 |
States the figures calculated using the new regulations inforced from February 2019. Features and specifications are subject to change without prior notice.
Energy Saving Tips and Energy Label
Main Oven
- Cook the meals together, if possible.
- Keep the pre-heating time short.
- Do not elongate cooking time.
- Do not forget to turn off the oven at the end of cooking.
- Do not open the oven door during cooking.
Hob
- Use cookware that has a flat base.
- Use the correct sized cookware for the cooking zone being used.
- Use a lid on your cookware.
- Minimize the amount of liquid or fat used.
- When liquids start boiling reduce the heat.


Installation
- The cooker must be installed by a competent person and in compliance with local electrical, safety and building regulation standards, if in doubt consult a qualified technician.
- If the cooker is installed adjacent to furniture which is higher than the hob, a gap of at least 100 mm must be left between the side of the cooker and the furniture unless non-combustible materials (e.g., ceramic tiles, metal splashback, etc.) are used which then allows this distance to be reduced to 20 mm.
- The furniture walls adjacent to the cooker must be made of heat resistant material (check with your furniture supplier). The veneered synthetic material and the glue used must be resistant to a temperature of 100°C in order to avoid ungluing or deformations.
- The cooker may be located in a kitchen, a kitchen/diner or bed-sitting room but not in a room containing a bath or shower.
- Flammable materials such as curtains, wood, wallpaper, etc. must not be fitted immediately behind the appliance or within 500 mm of the sides.
- Do not place next to a refrigerator.
- This cooker must NOT be placed on a pedestal or base.
- It is essential that the cooker is positioned as stated or freestanding taking into account the distances of any combustible materials detailed above.
- Any cooker hoods must be installed according to the requirements of the cooker hood instruction/installation manual but no less than 650 mm.
- Any cupboards placed directly above the cooker must be no less than 700 mm.

For all dimensions marked “X”, please refer to the information below:
X : 100mm for combustible materials 20mm for non-combustible materials.
Adjusting the Feet
Using the fitted adjustable feet is MANDATORY. For safety reasons and to ensure adequate ventilation, the cooker chassis MUST NOT sit directly on the floor, a plinth, or other support surface.
The cooker stands on 4 levelling legs. As the levelling legs are adjusted at lower position, it is required to control whether the product is levelled before operating it. This adjustment can be made by turning the levelling leg clockwise to raise the cooker, if required. It is possible to raise the product a maximum of 30mm via the levelling leg. If the levelling legs are adjusted appropriately, the product must NOT be moved by dragging. The cooker must always be moved by lifting it up. The levelling leg can be adjusted by hand or a metal plate of the correct size to fit the slot.
Level the cooker by screwing the bottom of the feet in or out, as shown.

The Stability bracket can be used as a tool to adjust the levelling legs.
Moving the Cooker
- Two people must always raise the cooker, as shown, to prevent damaging the adjustable feet.
- Do not lift the cooker by the door handles.
- DO NOT DRAG the cooker. Lift the feet clear of the floor.

Stability Bracket
The supplied stability bracket or a recognized cooker stability device MUST be fitted.
Rear Wall
Fix the stability bracket to the floor using the supplied rawlplug and screw.


Rear Wall

The stability bracket can be used on either of the rear feet.
Electrical Connection
Electric cookers come without a power supply cable. The cooker is designed to operate on an electricity supply which conforms to the electrical data shown on the Rating Plate. The cooker can be connected to the mains only after you complete the connection at the junction box.
The following installation procedure must be carried out by a competent person. If in doubt consult a qualified electrician. The electrical installation must comply with the IEE Regulations, Building & local By-Laws.
For the installation of the supply cable carry out the following operations:
- Release both clips then open the junction box lid.
Colours of the wires in the mains lead should correspond with the markings identifying the terminals. Proceed as follows:
Green & Yellow wire to terminal marked “E” or .
Brown wire to terminal marked “L” .
Blue wire to terminal marked “N” .
Ensure all screws are adequately tightened. Do not over tighten as you may risk damaging the screw threads. - Fix the supply cable in the cable clamp and then close the cover.

The power supply cable must have these minimum requirements:
- Type: H05VV-F (PVC insulated and sheathed flexible cable)
- Section: 3 core x 4 mm2
This appliance must be earthed.
- The cooker must be connected to the mains supply via a switch providing full disconnection correctly fused with a capacity appropriate to that shown on the cooker Rating Plate and incorporated in the fixed wiring in accordance with the latest wiring regulations. All electrical wiring from the consumer unit to the cooker, via the full disconnection switch must be of the correct rating.
- The mains cable must be positioned away from any hot parts at the rear of the cooker. If this cannot be done then another method of protecting the mains cable from the hot parts must be used i.e. Heat resistant sleeving or high temperature cables.

All the support you need.
Whether it’s a tech emergency or you need plain good advice, we’re always on hand to help, call (UK) 0344 5611234 or (Ireland) 1 890 818 575.

Visit Partmaster.co.uk today for the easiest way to buy electrical spares and accessories. With over 1 million spares and accessories available we can deliver direct to your door the very next day.
Visit www.partmaster.co.uk or call 0344 800 3456 (UK customers only). Calls charged at National Rate.
The symbol on the product or its packaging indicates that this product must not be disposed of with your other household waste. Instead, it is your responsibility to dispose of your waste equipment by handing it over to a designated collection point for the recycling of waste electrical and electronic equipment. The separate collection and recycling of your waste equipment at the time of disposal will help conserve natural resources and ensure that it is recycled in a manner that protects human health and the environment.
For more information about where you can drop off your waste for recycling, please contact your local authority, or where you purchased your product.
DSG Retail Ltd. (co. no. 504877)
1 Portal Way, London, W3 6RS, UK
EU Representative
DSG Retail Ireland Ltd (259460)
3rd Floor Office Suite
Omni Park SC, Santry, Dublin 9, Republic of Ireland























