
Nano Shutter user guide.
Modified on: Mon, 1 Jun, 2020 at 7:04 PM
AEOEZW141 Nano Shutter Switch White
Aeotec Nano Shutter.
Aeotec Nano Shutter (https://aeotec.com/z-wave-motor-shutter-curtain-control) has been crafted to power connected sockets and switches using Z-Wave Plus (http://aeotec.com/z-wave-plus). It is powered by Aeotec’s Gen5 (http://aeotec.com/z-wave-gen5) technology.
To see whether Nano Shutter is known to be compatible with your Z-Wave system or not, please reference our Z-Wave gateway comparison (http://aeotec.com/z-wave- gateways) listing. The technical specifications of Nano Shutter (https://aeotec.freshdesk.com/solution/articles/6000198818-nano-shutter-technical-specifications-) can be viewed at that link.
Familiarize yourself with your Nano Shutter.

Important safety information.
Please read this and other device guides carefully. Failure to follow the recommendations set forth by Aeotec Limited may be dangerous or cause a violation of the law. The manufacturer, importer, distributor, and/or reseller will not be held responsible for any loss or damage resulting from not following any instructions in this guide or in other materials.
Only a licensed electrician with knowledge and understanding of electrical systems and safety should complete the installation.
The maximum amperage rating for Nano Shutter is 2.5A for each slot and 5A for both when connecting a motor load: (COSφ=0.4, L/R=7ms)
Keep product away from open flames and extreme heat. Avoid direct sunlight or heat exposure.
Nano Shutter is intended for indoor use in dry locations only. Do not use in damp, moist, and/or wet locations.
Install the Nano Shutter.
Nano Shutter installs behind a switch or a momentary push button. It works with only 3-wire (with neutral) lighting setups, though each installation of Nano Shutter is accordingly slightly different:
- Shut off the main circuit breaker of your home for safety during the installation and ensure the wires are not shortcircuited during the installation which will cause damage to the Nano Shutter.
Note: Your home’s main circuit breaker must support the overload protection for safety.
- Preparing connection wires
14 AWG power wires for Input / Output.
18 AWG copper wires for the external manual switch.
Use the wire stripper cut the metallic part of the connection wire and make sure the length of the metallic part is about 5mm.
Note: All connection wires needs to be a flexible cable for the easiest installation.
120-230VAC Wiring diagram of Nano Shutter.
N – Power input for neutral.
L – Power input for live.
IN – Input for load power supply.
OUT1 – Output for Motor direction 1. (Down)
OUT2 – Output for Motor direction 2. (Up)
S1 – External switch 1 control for Motor. (Up)
S2 – External switch 2 control for Motor. (Down)24VDC Wiring diagram of Nano Shutter.
N – Power input for +24VDC
L – Power input for -24VDC
IN – Input for load power supply -24VDC.
OUT1 – Output for Motor direction 1.
OUT2 – Output for Motor direction 2.
S1 – External switch 1 control for Motor. (use -24VDC)
S2 – External switch 2 control for Motor. (use -24VDC) Install Nano Shutter to the gang box.
a. Live/Hot wire connection: Connect the Live/Hot wire to the “L” terminal on the Nano Shutter. + Live/Hot on External Switch input.
b. Neutral wire connection: Connect the Neutral wire to the “N” terminal on the Nano Shutter.
b. Load wire neutral connection (To AC Neutral): Connect the Load/Motor neutral wire to your AC Neutral connection.
c. Load wire motor connection (To Nano Shutter): Connect the 2 Load/Motor wires (Motor direction 1 and Motor direction 2) to “OUT1” and “OUT2” on Nano Shutter.
d. External/manual Switch connection: Connect 2 18AWG wires to the “S1” and “S2” on the Nano Shutter.
d. External/manual Switch connection: Connect 2 18AWG wires form the 2 terminals on the External/manual Switch to the Live wire.
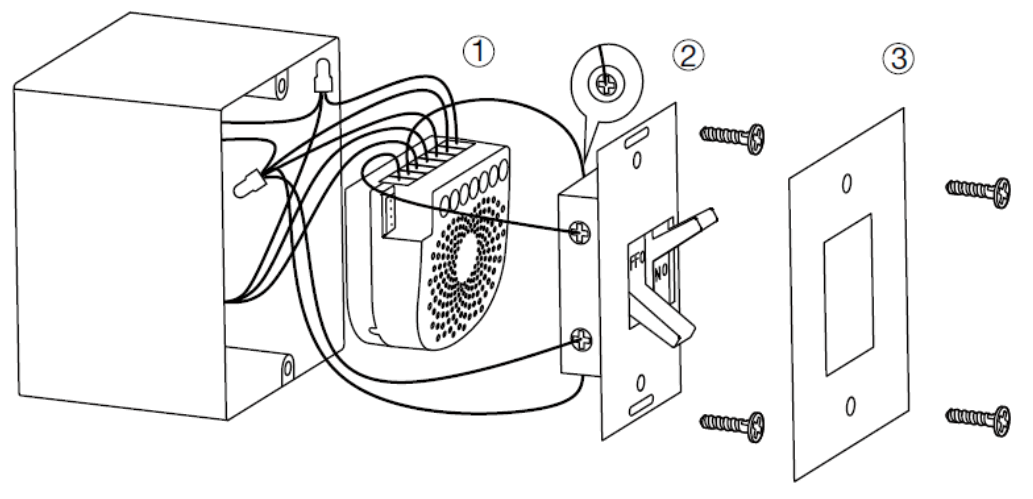
Note: This is the physical connection diagram for 120/230VAC power input.1. Mounting the gang box.2. Position all wires to provide room for the device. Place the Nano Shutter inside the gang box towards the back of the box.3. Position the antenna towards the back of the box, away from all other wirings.4. Reinstall the Nano Shutter to the gang box.5. Reinstall the cover onto the gang box.
Note:
1. The gang box should be sized 3×2×2.75 inch / 75×50×70 mm or larger, minimum volume 14 in / 230mm.
2. Use flexible copper conductors only.- Restore Power.
Restore power at the circuit breaker or fuse.
Quick Start.
After your Nano Shutter is installed and powered on, you are now able to manually control the Nano Shutter to open and close your motor connected directly via pressing your Nano Shutters Action Button. It is now time to add your Nano Shutter to the Z-Wave network. To set your Z-Wave gateway/controller into pairing mode, please refer to the respective section within your controller instruction manual.
If you’re using an existing gateway that supports Smart Start:
Note: Only works with devices that were delivered with version 3.0 from the factory and have a QR code on the device.
- Install your Nano Shutter.
- Scan the QR code on Nano Shutter using your Z-Wave gateway/controllers app.
- Power On your Nano Shutter
- Your Nano Shutter will automatically pair to your Z-Wave network.
If you’re using an existing gateway that does not support Smart Start:
- Set your Z-Wave controller into pairing mode.
- Press the Action Button on the Nano Shutter once or toggle the external manual switch once, the green LED (nonsecure indication) will blink to indicate the Nano Shutter is entering into pairing mode.
• Alternatively: if you have S1 or S2 wired to an external switch, you may toggle or press the switch attached. - If the Nano Shutter has been successfully added to your Z-Wave network, its RGB LED will be solid. If the pairing was unsuccessful, the red LED will be on for 2 seconds and then remain a colorful gradient. Repeat the instructions above from step 1.
- If your Z-Wave Controller supports S2 encryption, enter the first 5 digits of DSK into your Controller’s interface if it is requested. The DSK is printed on Nano Shutter.
a. If pairing succeeds, it will become a bright blue light for 2 seconds.
b. If pairing fails, it will light a solid bright red light for 2 seconds and then return to a breathing blue light; repeat steps 1 to 4 if this happens.
With your Nano Shutter now working as a part of your smart home, you’ll be able to configure it from your home control software/phone application. Please refer to your software or gateway user guide for further instructions on configuring Nano Shutter to your needs.
Button Behavior.
| User Behavior | Outside the network (Unpaired). | Inside the network (Paired to an existing Z-Wave network). |
| Power Off | LED off. | LED off. |
| Power ONSmartStart Lear | SmartStart Learn Mode: LED cycle on rainbow colors: indicates that it does not belong to a Z-Wave network yet (unpaired). Flashing blue LED: Z-Wave Controller is adding the device into the network through SmartStart. Solid blue LED: If pairing is successful, LED will become blink its blue LED 3x times and then go to light status inside the network. If pairing fails, LED will go back to the rainbow LED cycle. The device will auto-reset and then active SmartStart Learn Mode again. | LED regular light mode inside the network LED turns green when the motor is moving, LED turns off when the motor stops. |
| Click Action Button/S1/S2 once | 1. Send Node Info for Adding: Flashing blue LED: for no longer than 30s or before adding succeeds. LED becomes solid blue after Node ID assigned. If Adding succeeds, LED will become twinkle blue light 3 times and then go to light status inside the network. If Adding fails, LED will go back to the rainbow lights cycle. The device will auto-reset and then active SmartStart Learn Mode again. 2. Activate and stop the motor The motor moves in a forward – stop – reverse – stop – forward order. LED will turn on when motor is moving forward or in reverse. LED will stop when the motor has stopped. 3. Calibration assistance When in Shutter or Venetian calibration mode, press the Button/S1/S2 once when blinds arrive at max close, and once again when blinds arrive at max open. LED will stop when calibration is done. During the calibration sequence, function 1 and function 2 will not work. | 1. Active and stop the motor The motor moves in a forward – stop – reverse – stop – forward order. LED will turn on when the motor is moving forward or in reverse. LED will stop when the motor has stopped. 2. Calibration assistance When in Shutter or Venetian calibration mode, press the Button/S1/S2 once when blinds arrive at max close, and once again when blinds arrive at max open. LED will stop when calibration is done. During the calibration sequence, function 1 will not work. |
| Click Action Button/S1/S2 2x times in 2 second. | S1(External switch 1) Identify Mode LED will flash blue: when it is in S1 external switch identify Mode. • Toggle or press the external switch connected to S1. Solid blue LED (2 seconds): success in external switch S1 detection. Solid red LED (2 seconds): Failure in external switch S1 detection. | S1(External switch 1) Identify Mode LED will flash blue: when it is in S1 external switch identify Mode. • Toggle or press the external switch connected to S1. Solid blue LED (2 seconds): success in external switch S1 detection. Solid red LED (2 seconds): Failure in external switch S1 detection. |
| Click Action Button/S1/S2 3x times in 2 seconds. | 1. Enter Shutter Calibration Mode Orange light flashing when calibrating. 1. Press the Button/S1/S2 once when blinds arrive at max close. 2. Press the Button/S1/S2 again when blinds arrive at max open. 3. LED will stop when calibration is done. 2. Exit Calibration Mode Calibration incomplete – goes back to the rainbow color cycle. | 1. Enter Shutter Calibration Mode Orange light flashing when calibrating. 1. Press the Button/S1/S2 once when blinds arrive at max close. 2. Press the Button/S1/S2 again when blinds arrive at max open. 3. LED will stop when calibration is done. 2. Exit Calibration Mode Calibration incomplete – goes back to the rainbow color cycle. |
| Click Action Button/S1/S2 4x times in 2 seconds | S2(External switch 1) Identify Mode LED will flash green: when it is in S2 external switch identify Mode. • Toggle or press the external switch connected to S2. Solid green LED (2 seconds): success in external switch S2 detection. Solid red LED (2 seconds): Failure in external switch S2 detection. | S2(External switch 1) Identify Mode LED will flash green: when it is in S2 external switch identify Mode. |
| Click Action Button/S1/S2 5x times in 2 seconds. | 1. Enter Venetian Calibration Mode White light flashing when calibrating. 2. Exit Calibration Mode Calibration incomplete – goes back to the rainbow color cycle. | 1. Enter Venetian Calibration Mode White light flashing when calibrating. 2. Exit Calibration Mode Calibration incomplete – returns to default LED state. |
| Click Action Button/S1/S2 6x times in 2 seconds. | Nothing. | Sends NIF to controller (used for unpair/exclusion): If Removing succeeds, it will become a rainbow color cycle. If Removing fails, it will return to the default LED state. |
| Press and hold Action Button/S1/S2 press for [20 – ∞) | Factory Reset: LED will become solid green for 2 seconds,Nano Shutter will manually factory reset itself, and issue a Device Reset Locally Command via its Lifeline to your Z-Wave Controller. LED will return to an unpaired rainbow cycle state, the device will auto-reset and then active SmartStart Learn Mode again. | Factory Reset: LED will become solid green for 2 seconds, Nano Shutter will manually factory reset itself, and issue a Device Reset Locally Command via its Lifeline to your Z-Wave Controller. LED will return to an unpaired rainbow cycle state, the device will auto-reset and then active SmartStart Learn Mode again. |
Calibration of Nano Shutter (V 3.01 and later)
Calibration for Shutter has 2 modes: Shutter Mode and Venetian Mode.
In Shutter mode, only the Current Trip Time (Parameter 35) is used for up/down control.
In Venetian Mode, the Curtain Trip Time (Parameter 35) and Blade Turn Time (Parameter 34) are used for up/down control and angle of rotation of the blinds.
- Shutter Mode
Used for standard roller blinds that move up and down only.
The calibration process is as follows:
A) Enter calibration mode
• By short pressing the Action button or external switch 3 times.
• Or by sending a CONFIGURATION SET Parameter 36 [1 byte] to value 1.
B) The curtain will begin to move to the end in one direction (full open) reference point A.
• Press the Action Button or S1/S2 external switches once the curtain is at max open to tell Nano Shutter to perform the next step.
C) The motor/curtain will reverse to other direction; reference point B.
• Press the Action Button or S1/S2 external switches once the current is at the max close to finalizing the calibration.
D) Calibration is completed.
• Nano Shutter records the run time from the reference point A to B, which is the time between max open and the max close of the curtain (this time can be read and modified through the Configuration 0x23 (35) if additional readjustments are needed).
Note: If the motor moves in the wrong direction, set parameter 22 [1 byte] = 3 to change the direction. - Venetian Mode
Nano Shutter in Venetian Mode can be set to open the blinds up/down, as well as the angle of rotation of the blinds separately. There is a switch on Venetian to change the Controlling Channel for blind lifting and blinds rotation, the switch needs manual operation by the user.
The calibration process is as follows:
A) Before this calibration, you need to manually set/switch the Venetian to the blind up/down moving control channel first.
B) Enter Venetian calibration mode by:
• By short pressing Z-Wave button or external switch 5 times.
• Or by sending a CONFIGURATION SET Parameter 36 [1 byte] = 2.
C) The motor connected to Nano Shutter should move toward the direction in which the blinds are curled upwards (reference point A). Once the blinds are fully opened and curled upwards completely (Reference A):
• Press the Action Button or S1/S2 external switch once to calibrate Reference A.
D) Nano Shutter should now reverse the direction the motor blind movement downwards (Towards reference B). Once blinds close up completely (reference point B):
• Press the Action Button or S1/S2 external switch once to calibrate Reference B.
E) Now activate rotation calibration for reference point C and D, the rotation of the blinds.
• Press and hold S1/S2 external switch between 1 – 2 seconds to initiate calibration for rotation.
F) Then short pressing the Action Button once to start the blind rotation calibration (reference point
C). The blind rotation should start turning from 0° to 180° (or turning from reference point C to reference point D).
• Press the Action Button or S1/S2 external switch once to calibrate Reference D.
G) The blind blades start to rotate in the opposite direction or turning from 180° to 0° (reference point D).
• Press the Action Button/S1/S2 once the blades are rotated completely.
H) The blind blades will stop rotation now, which indicates the blade rotation calibration is complete.
The Nano Shutter records the run time between points A and B, and turn time between reference points C and D which are curtain trip time and blade turn time (the recorded time can be read and modified from the Configuration Parameter 0x22 (34) and 0x23 (35)).
Parameter # Definition Default Value Byte Size 22 (0x16) Determine motor run direction for Shutter mode and Venetian Mode
0. Shutter mode/Venetian mode:
Out 1= Up moving/ Multilevel switch = 99%,
Out 2= Down moving/ Multi level switch = 0%
1. Shutter mode:
Out 1= Down moving/ Multi level switch = 0%,
Out 2= Up moving/ Multilevel switch = 99%.
Venetian mode:
Out 1= Up moving/ Multilevel switch = 99%, Out 2= Down moving/ Multi level switch = 0%
2. Shutter mode:
Out 1= Up moving/ Multilevel switch = 99%,
Out 2= Down moving/ Multi level switch = 0%
Venetian mode:
Out 1= Down moving/ Multi level switch = 0%,
Out 2= Up moving/ Multilevel switch = 99%.
3. Shutter mode/ Venetian mode:
Out 1= Down moving/ Multi level switch = 0%,
Out 2= Up moving/ Multilevel switch = 99%.0 1 34 (0x22) Blade Turn Time (Venetian mode) 150 (1,5 s) 2 35 (0x23) Sets the move time from up (left) to down (right) for a connected motor. 15000 (150s) 2 36 (0x24) Enter/Exit Calibration
0. Exit Calibration
1. Start Shutter Mode Calibration
2. Start Venetian Mode Calibration0 1 37 (0x25) User confirmation for calibration (Set Only) 0 1 38 (0x26) Return Calibration Status (Get Only)
0. Calibration Complete
1 .Calibration starts, going to Reference Point A
2. Reach Reference Point A, going to Reference Point B
3. Reach Reference Point B, waiting for Blade turn Calibration(Only for Venetian Mode)
4. Going to Reference Point C(Only for Venetian Mode)
5. Calibration terminated0 1 39 (0x27) Set the Curtain Mode
0. Shutter Mode
1. Venetian Mode0 1 40 (0x28) Set repositioning begins 1 1 - Calibration termination
If the motor movement direction is found to be incorrect during calibration (see Venetian calibration mode), the calibration can be terminated by short pressing 3 times / 5 times or sending the Configuration Set command (see Parameter 34 and 35). - Repositioning
Nano Shutter may experience positional deviation after a long-term operation or external force. Errors can be eliminated by repositioning.
a) Send a Configuration Set [Parameter 40 to value 1] command to enter repositioning;
b) The percentage position at which the product motor starts is recorded and motor moves to reference point A for a duration of Shutter Trip Time + Venetian Turn Time;
c) The motor reverses and returns to the starting percentage position and the repositioning is complete.
Advanced functions.
Removing Nano Shutter from a Z-Wave network.
Your Nano Shutter can be removed from your Z-Wave network at any time. You’ll need to use your Z-Wave network’s main controller. To set your Z-Wave controller/gateway into removal mode, please refer to the respective section within your controller instruction manual.
- Set your Z-Wave controller into removal mode.
- Press the Action Button on the Nano Shutter 6x times within 2 seconds.
- if the Nano Shutter has been successfully removed from your Z-Wave network, its RGB LED will remain colorful gradient. If the removal was unsuccessful, the RGB LED will still be solid (following the state of the output load), repeat the instructions above from step 1.
Changing mode on the External Switch/Button Control.
The Nano Shutter can be controlled via 2-state (flip/flop) external/manual switch, momentary push button or the 3-way switch. To automatically detect and set the mode to the appropriate type of manual switch wired into Nano Shutter, toggle the button on the manual switch once and wait 2 seconds for the Nano Shutter to detect the type of manual switch.
You can also set the external switch mode through Configuration Command Class.
Parameter 120 [1 byte] (for S1) and Parameter 121 [1 byte] (for S2) is the parameter that will set one of the 3 different modes. You can set this configuration to:
(0) Unknown Mode
(1) 2-state switch mode
(2) 3-way switch mode
(3) Momentary push button Mode
(4) Enter auto switch detection mode
| 0x78 (120) | Configure the external switch mode for S1. 0 = Unidentified mode. 1 = 2-state switch mode. 2 = 3-way switch mode. 3 = momentary switch button mode. 4 = Enter automatic identification mode. Note: When the mode is determined, this mode value will not be reset after exclusion. | 0 | 1 |
| 0x79 (121) | Configure the external switch mode for S2. 0 = Unidentified mode. 1 = 2-state switch mode_ 2 = 3-way switch mode. 3 = momentary switch button mode. 4 = Enter automatic identification mode. Note: When the mode is determined, this mode value will riot be reset after exclusion. | 0 | 1 |
Instant updates.
By default Nano Shutter is not set to report its status automatically. If you need to have your Nano Shutter report to your gateway any time its status has been changed, you can do so using the configuration settings below:
| Parameter # | Definition | Default Value | Byte Size |
| 80 (0x50) | To set which report would be sent to the associated nodes in association group 1 when the state of output load is changed. 0 = Nothing 1 = Basic Report CC 2 = Switch Multilevel Report | 2 | 1 |
Touch panel control.
As you can see that the Nano Shutter’s surface has a pin port, this port is used to connect the Touch panel. When you have already connected it to the Nano Shutter, you will be possible to control the Nano Shutter through the Touch panel directly.
Central Scene Notification (V3.0 and higher)
Switch 1
Key Pressed 1 time
Key Pressed 2 times
Key held Down (Push Button Supported Only)
Key Released (Push Button Supported Only)
Switch 2
Key Pressed 1 time
Key Pressed 2 times
Key held Down (Push Button Supported Only)
Key Released (Push Button Supported Only)
Note: Only Push Button mode switch support Attribute Key Held Down/Key Released
Reset your Nano Shutter.
If at some stage, your primary controller is missing or inoperable, you may wish to reset all of your Nano Shutters settings to their factory defaults.
To do this, press and hold the Action Button for 20 seconds and then release it. Your Nano Shutter will now be reset to its original settings, and the green LED will be solid for 2 seconds and then remain the colorful gradient status as a confirmation.
• Hard Reset Nano Shutter – Press and hold the “Action button” down for 20 seconds.
References
Support – Aeotec
Support – Aeotec
Support – Aeotec
Nano Shutter – Aeotec
Nano Shutter technical specifications. : Aeotec Help Desk
Nano Shutter User Guide : Aeotec Help Desk
s3.amazonaws.com/cdn.freshdesk.com/data/helpdesk/attachments/production/6039614337/original/-ql-RI4qpNZm6KH3F4nNc35ZprH7mAp55Q.png?1481083022
s3.amazonaws.com/cdn.freshdesk.com/data/helpdesk/attachments/production/6039614457/original/AXM8pGF3C5eHDse4aZJnmUrRMjwGNjJ3Kg.png?1481083187
s3.amazonaws.com/cdn.freshdesk.com/data/helpdesk/attachments/production/6039619534/original/xfnwCD4ds-_WC3YW5_UOLpz11C46vqdxUg.png?1481089434
s3.amazonaws.com/cdn.freshdesk.com/data/helpdesk/attachments/production/6080457215/original/E_4wDO4vnJipJzBL-FkyMBMyfDHH3r2SRA.PNG?1551992543
s3.amazonaws.com/cdn.freshdesk.com/data/helpdesk/attachments/production/6080457263/original/KvpZ_8l3XDo4vLc5qhhs7YdLHYtU5PhgUA.PNG?1551992584
s3.amazonaws.com/cdn.freshdesk.com/data/helpdesk/attachments/production/6095370011/original/EJNgAi2uya8i-X19IphLfOn4KwfdTo2hqA.png?1573194532
s3.amazonaws.com/cdn.freshdesk.com/data/helpdesk/attachments/production/6095376169/original/lq3zE3ywNlYzETDVPTRhCQ0k3bKmdFzBaA.png?1573201534
s3.amazonaws.com/cdn.freshdesk.com/data/helpdesk/attachments/production/6098962017/original/wr3fdPyQt-bcVOPLoUivnTwhFUT4YtUDRw.png?1578567324



















