User Guide
LED Rotatable and Pivotable Wall Light
| 6W LED 500 Lumen 25.000h 3000 Kelvin 12.500 x Os | |
831155
| 230V/50Hz | |
| LED | 1 x LED-Board max 13.5V/6W |

Please let us know the batch number (ls000c-mc-mc-)c000c-noc) for any technical questions. This can be found on the rating plate.
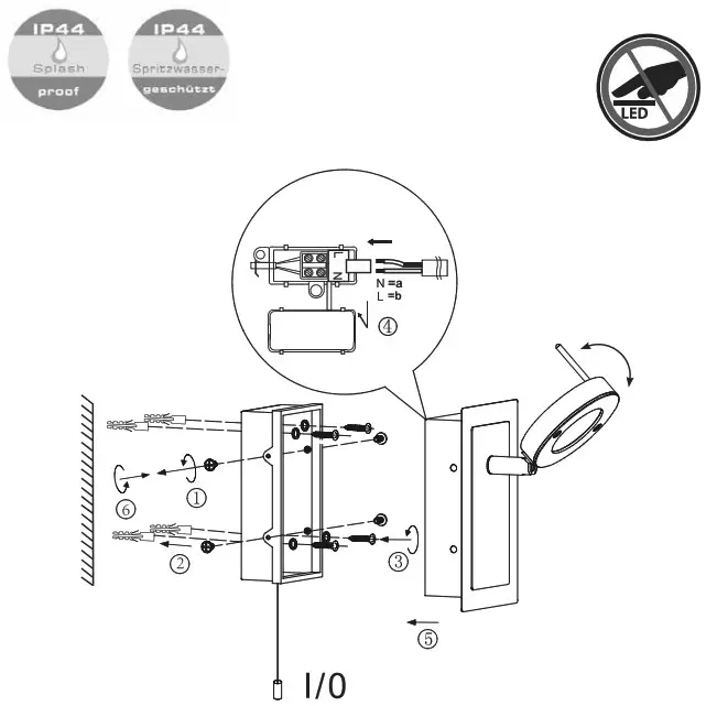
The light source of this luminaire is not replaceable; if the light source has reached the end of its service life, the entire luminaire should be replaced.
Paul Neuhaus GmbH
Olakenweg 36
59457 Wed Germany



















