EUTRAC ONETRACK Track System

Introduction
Warnings
All the described operations of this instructions page must be done by specialized personnel only. Exclude voltage plant. Please respect national installation regulations. The manufacturer allows to use only ONETRACK by Eutrac parts in applications where its track system is used. These parts must be installed according to the installation instructions. The company as a manufacturer is not responsible for the safety and functioning of the ONETRACK by Eutrac system if parts not belonging to it are used or if any deviation from the installation instructions occurs. It is then the user’s responsibility to ensure the electrical, mechanical and thermal compatibility between ONETRACK by Eutrac system and the fixtures used with it. ONETRACK by Eutrac tracks, its components and also the adapters can’t be used with accessories without the Quality Mark. On ONETRACK by Eutrac tracks one can use only ONETRACK by Eutrac connections. ONETRACK by Eutrac connections can be used only with ONETRACK by Eutrac tracks. Do not exceed listed loading indicated in the relevant section and respect fixing distances during the track mounting. It is strictly forbidden to use any kind of solvent, glue, oil, grease or cleaner in contact with ONETRACK by Eutrac system components. The company is not responsible of any demage caused by the use of the materials mentioned above.
The electrical connection to the mains can be carried out only with articles 575 2 1201 and 575 2 1202 or, alternatively, the track can be powered with items 575 2 1208/1209/1210/1211/1212/ 1213/1214/1215/1216 under the following conditions:
- using the same conductors adopted for the end power feeds 575 2 1201, 575 2 1202.
- Including a cable anchoring device, for suspended installations in which the power cable is accessible.
- The anchoring device is NOT required for ceiling-mounted installations.
The installer shall be fully responsible for the wiring of these items. Whenever any components are modified, the manufacturer shall be the subject responsible for the modification.
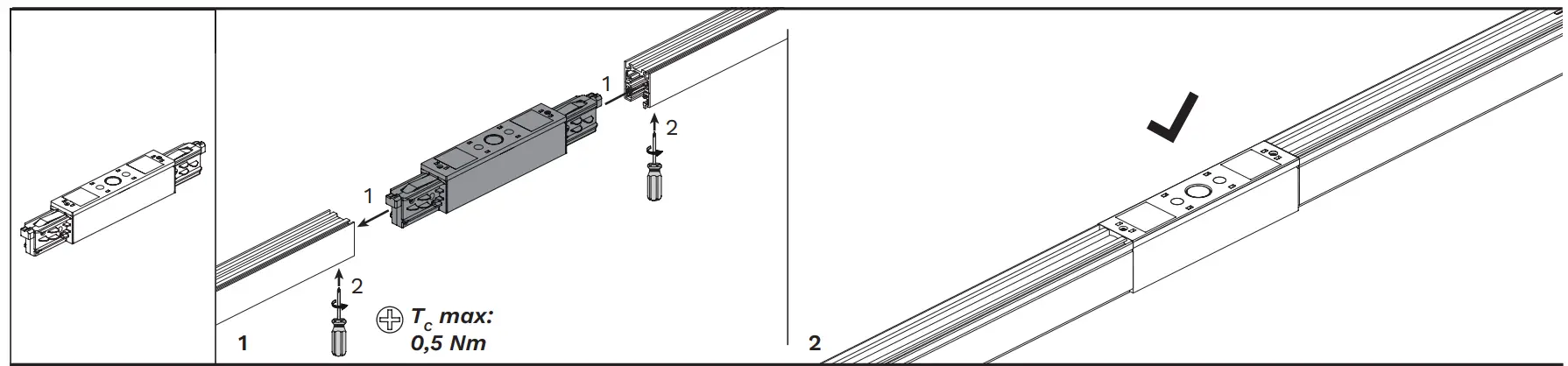
SURFACE INSTALLATION

1 – 575 2 110..

USE

CEILING FIXING



SUSPENDED FIXING

MAX LOAD

575 0 1217

575 2 1206


575 2 1208

575 2 1209 575 2 1210

575 2 1212 575 2 1213 575 2 1214 575 2 1215

575 2 1216

CUTTING

ADAPTERS
For all the details regarding ONETRACK by EUTRAC adapters read the QR code
PLEASE ENSURE THAT THE DATA BUS WIRING DOES NOT CREATE A RING STRUCTURE. A FAILURE-FREE DATA BUS CANNOT BE ENSURED IF ONE IS PRESENT.
IF THE TRACK INSTALLATION REQUIRES THE USE OF “L”, “T” OR “X” -SHAPED JOINT, IT IS POSSIBLE TO DISCONNECT THE DATA BUS IN THESE JOINTS TO AVOID CREATING A RING STRUCTURES
DIRECTIVE 2012/19/UE (Waste Electrical and Electronic Equipment – WEEE) The product at the end of life must be disposed of and recycled in a designated collection point, cannot be treated as household waste. Details on the collection points available c/c local government office or the product retailer
Would you please be informed that the Italian veer scion of these instructions is the only valid for legal purposes. The English version is offered only for your info and to make you reading easier and compressible




















