NETRON EP2 Ethernet to DMX Gateway
©2022 OBSIDIAN CONTROL SYSTEMS all rights reserved. Information, specifications, diagrams, images, and instructions herein are subject to change without notice. Obsidian Control Systems logo and identifying product names and numbers herein are trademarks of ADJ PRODUCTS LLC. Copyright protection claimed includes all forms and matters of copyrightable materials and information now allowed by statutory or judicial law or hereinafter granted. Product names used in this document may be trademarks or registered trademarks of their respective companies and are hereby acknowledged. All non-ADJ brands and product names are trademarks or registered trademarks of their respective companies.
OBSIDIAN CONTROL SYSTEMS and all affiliated companies hereby disclaim all liabilities for property, equipment, building, and electrical damages, injuries to any persons, and direct or indirect economic loss associated with the use or reliance of any information contained within this document, and/or as a result of the improper, unsafe, insufficient and negligent assembly, installation, rigging, and operation of this product.
ELATION PROFESSIONAL B.V.
Junostraat 2 | 6468 EW Kerkrade, The Netherlands
+31 45 546 85 66
FCC STATEMENT
This device complies with Part 15 of the FCC Rules. Operation is subject to the following two conditions: (1) this device may not cause harmful interference, and (2) this device must accept any interference received, including interference that may cause undesired operation.
FCC RADIO FREQUENCY INTERFERENCE WARNINGS & INSTRUCTIONS
This product has been tested and found to comply with the limits as per Part 15 of the FCC Rules. These limits are designed to provide reasonable protection against harmful interference in a residential installation. This device uses and can radiate radio frequency energy and, if not installed and used in accordance with the included instructions, may cause harmful interference to radio communications. However, there is no guarantee that interference will not occur in a particular installation. If this device does cause harmful interference to radio or television reception, which can be deter- mined by turning the device off and on, the user is encouraged to try to correct the interference by one or more of the following methods:
- Reorient or relocate the device.
- Increase the separation between the device and the receiver.
- Connect the device to an electrical outlet on a circuit different from which the radio receiver is connected.
- Consult the dealer or an experienced radio/TV technician for help.
Energy Saving Matters (EuP 2009/125/EC)
Saving electric energy is a key to help protecting the environment. Please turn off all electrical products when they are not in use. To avoid power consumption in idle mode, disconnect all electrical equipment from power when not in use. Thank you! Document Version: An updated version of this document may be available online.
Please check www.obsidiancontrol.com for the latest revision/update of this document before beginning installation and use.
GENERAL INFORMATION
INTRODUCTION
Please read and understand the instructions in this manual carefully and thoroughly before attempting to operate this device. These instructions contain important safety and use information.
UNPACKING
Every device has been thoroughly tested and has been shipped in perfect operating condition. Carefully check the shipping carton for damage that may have occurred during shipping. If the carton is damaged, carefully inspect the device for damage, and be sure all accessories necessary to install and operate the device have arrived intact. In the event damage has been found or parts are missing, please contact our customer support team for further instructions. Please do not return this device to your dealer without first contacting customer support. Please do not discard the shipping carton in the trash. Please recycle whenever possible.
CUSTOMER SUPPORT
Contact your local Obsidian Controls Systems dealer or distributor for any product related service and support needs. Also visit forum.obsidiancontrol.com with questions, comments, or suggestions.
OBSIDIAN CONTROL SERVICE EUROPE – Monday – Friday 08:30 to 17:00 CET
+31 45 546 85 63 | [email protected]
OBSIDIAN CONTROL SERVICE USA – Monday – Friday 08:30 to 17:00 PST
+1(844) 999-9942 | [email protected]
LIMITED WARRANTY
- Obsidian Control Systems hereby warrants, to the original purchaser, Obsidian Control Systems products to be free of manufacturing defects in material and workmanship for a period of two years (730 days).
- For warranty service, send the product only to the Obsidian Control Systems service center. All shipping charges must be pre-paid. If the requested repairs or service (including parts replacement) are within the terms of this warranty, Obsidian Control Systems will pay return shipping charges only to a designated point within the United States. If any product is sent, it must be shipped in its original package and packaging material. No accessories should be shipped with the product. If any accessories are shipped with the product, Obsidian Control Systems shall have no liability whatsoever for loss and/or or damage to any such accessories, nor for the safe return thereof.
- This warranty is void if the product serial number and/or labels are altered or removed; if the product is modified in any manner which Obsidian Control Systems concludes, after inspection, affects the reliability of the product; if the product has been repaired or serviced by anyone other than the Obsidian Control Systems factory unless prior written authorization was issued to purchaser by Obsidian Control Systems; if the product is damaged because not properly maintained as set forth in the product instructions, guidelines and/or user manual.
- This is not a service contract, and this warranty does not include any maintenance, cleaning or periodic check-up. During the periods as specified above, Obsidian Control Systems will replace defective parts at its expense, and will absorb all expenses for warranty service and repair labor by reason of defects in material or workmanship. The sole responsibility of Obsidian Control Systems under this warranty shall be limited to the repair of the product, or replacement thereof, including parts, at the sole discretion of Obsidian Control Systems. All products covered by this warranty were manufactured after January 1, 1990, and bare identifying marks to that effect.
- Obsidian Control Systems reserves the right to make changes in design and/or performance improvements upon its products without any obligation to include these changes in any products theretofore manufactured.
- No warranty, whether expressed or implied, is given or made with respect to any accessory supplied with the products described above. Except to the extent prohibited by applicable law, all implied warranties made by Obsidian Control Systems in connection with this product, including warranties of merchantability or fitness, are limited in duration to the warranty periods set forth above. And no warranties, whether expressed or implied, including warranties of merchantability or fitness, shall apply to this product after said periods have expired. The consumer’s and/or dealer’s sole remedy shall be such repair or replacement as is expressly provided above; and under no circumstances shall Obsidian Control Systems be liable for any loss and/or damage, direct and/or consequential, arising out of the use of, and/or the inability to use, this product.
- This warranty is the only written warranty applicable to Obsidian Control Systems products and supersedes all prior warranties and written descriptions of warranty terms and conditions heretofore published.
- Use of software and firmware:
- To the maximum extent permitted by applicable law, in no event shall Elation or Obsidian Control Systems or its suppliers be liable for any damages whatsoever (including, but not limited to, damages for loss of profits or data, for business interruption, for personal injury or other loss whatsoever) arising out of or in any way related to the use of or inability to use firmware or software, the provision of or failure to provide support or other services, information, firmware, software, and related content through the software or otherwise arising out of the use of any software or firmware, even in the event of the fault, tort (including negligence), misrepresentation, strict liability, breach of warranty of Elation or Obsidian Control Systems or any supplier, and even if Elation or Obsidian Control Systems or any supplier has been advised of the possibility of such damages.
WARRANTY RETURNS: All returned service items, whether under warranty or not, must be freight pre-paid and accompany a return authorization (R.A.) number. The R.A. number must be clearly written on the outside of the return package. A brief description of the problem as well as the R.A. number must also be written down on a piece of paper and included in the shipping container. If the unit is under warranty, you must provide a copy of your proof of purchase invoice. Items returned without a R.A. number clearly marked on the outside of the package will be refused and returned at customer’s expense. You may obtain a R.A. number by contacting customer support.
SAFETY GUIDELINES
This device is a sophisticated piece of electronic equipment. To guarantee a smooth operation, it is important to follow all instructions and guidelines in this manual. OBSIDIAN CONTROL SYSTEMS is not responsible for injury and/or damages resulting from the misuse of this device due to the disregard of the information printed in this manual. Only the original included parts and/or accessories for this device should be used. Any modifications to the device, included and/or accessories will void the original manufactures warranty and increase the risk of damage and/or personal injury.
- PROTECTION CLASS 1 – DEVICE MUST BE PROPERLY GROUNDED.
- DO NOT ATTEMPT TO USE THIS DEVICE WITHOUT BEING FULLY TRAINED ON HOW TO USE IT. ANY DAMAGES OR REPAIRS TO THIS DEVICE OR ANY LIGHTING FIXTURES CONTROLLED BY THIS DEVICE RESULTING FROM IMPROPER USE, AND/OR THE DISREGARD OF THE SAFETY AND OPERATION GUIDELINES IN THIS DOCUMENT VOIDS THE OBSIDIAN CONTROL SYSTEMS WARRANTY, AND ARE NOT SUBJECT TO ANY WARRANTY CLAIMS AND/OR REPAIRS, AND MAY ALSO VOID THE WARRANTY FOR ANY NON-OBSIDIAN CONTROL SYSTEMS DEVICES.
- KEEP FLAMMABLE MATERIALS AWAY FROM DEVICE.
- DRY LOCATIONS USE ONLY!
- DO NOT EXPOSE DEVICE TO RAIN, MOISTURE, AND/OR SEVERE ENVIRONMENTS!
- DO NOT SPILL WATER AND/OR LIQUIDS ON OR INTO THE DEVICE!
DISCONNECT the device from AC power before removing fuses or any part, and when not in use. Always electrically ground this device. Use only a source of AC power that complies with local building and electrical codes and has both overload and ground-fault protection. Do not expose the device to rain or moisture. Never attempt to bypass fuses. Always replace defective fuses with ones of the specified type and rating. Refer all service to a qualified technician. Do not modify the device or install other than genuine Netron parts.
CAUTION: Risk of Fire and Electrical Shock. Use only in dry locations.
CAUTION: Risk of Explosion if Battery is replaced by an incorrect type. Dispose of used batteries according to local environmental regulations.
AVOID brute force handling when transporting or operating.
DO NOT expose any part of the device to open flame or smoke. Keep device away from heat sources such as radiators, heat registers, stoves, or other appliances (including amplifiers) that produce heat.
DO NOT use device in extreme and/or severe environments.
Replace fuses with ones of the same type and rating only. Never attempt to bypass a fuse. Unit provided with a single fuse in Line side.
DO NOT operate device if power cord is frayed, crimped, damaged and/or if any of the power cord connectors are damaged, and does not insert into the device securely with ease. NEVER force a power cord connector into device. If the power cord or any of its connectors are damaged, replace it immediately with a new one of similar power rating. Strictly use a source of AC power that complies with local building and electrical codes and has both overload and ground-fault protection. Use only the provided AC power supply and power cords and the correct connector for the country of operation. Use of the factory provided power cable is mandatory for operation in the US and Canada. Allow free unobstructed airflow to the bottom and back of the product. Do not block the ventilation slots. Operate the console only on a stable and solid surface.
DO NOT use the product if the ambient temperature exceeds 40°C (104° F) Transport the product only in suitable packaging or a custom fitted road case. Transportation damage is not covered under warranty.
CAUTION: Risk of explosion if CMOS battery is replaced by an incorrect type. Dispose of used batteries according to local environmental regulations.
CAUTION: Do not expose CMOS battery to excessive heat such as sun or fire.
OVERVIEW
The NETRON EP2 is The Netron EP2 is a compact Ethernet to DMX gateway with two RDM compatible ports designed for wall mount, truss mount and standalone installations.
It is configurable via its internal web remote and powered over Ethernet or via the convenient USB-C connection.
KEY FEATURES:
- RDM, ArtNet and sACN support
- Factory and user presets for plug and play setups
- POE or USB-C powered
- 1.3” OLED Display with rotary knob
- Remote configuration via internal webpage
- Powder-coated compact metal housing
- Connect to ONYX PC for a full four Universe Solution
- In-wall, On-Wall, Truss and Standalone mounting
INSTALLATION INSTRUCTIONS
- DISCONNECT POWER BEFORE PERFORMING ANY MAINTENANCE! ELECTRICAL CONNECTIONS
- A qualified electrician should be used for all electrical connections and/or installations.
- USE CAUTION WHEN POWER LINKING OTHER MODEL DEVICES AS THE POWER CONSUMPTION OF OTHER MODEL DEVICES MAY EXCEED THE MAXIMUM POWER OUTPUT OF THIS DEVICE. CHECK SILK SCREEN FOR MAXIMUM AMPS.
- Device MUST be installed following all local, national, and country commercial electrical and construction codes and regulations.
POWER LINKING - USE CAUTION WHEN POWER LINKING AS THE POWER CONSUMPTION MAY EXCEED THE MAXIMUM POWER OUTPUT ON THIS DEVICE. CHECK SILK SCREEN FOR MAXIMUM AMPS.
MOUNTING OPTIONS
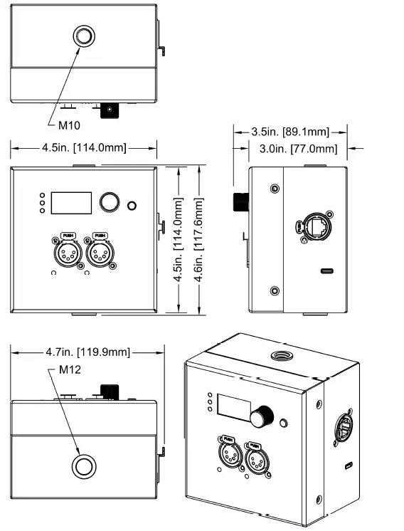
- Truss-mounted using the M10 or M12 mounting holes for use with a truss clamp or appropriate mounting hardware.
- Wall-mounted horizontally or vertically (brackets included)
- The EP2 can be used Standalone, where the device sits on a firm flat surface.
CLAMP INSTALLATION
Insert 18.8 steel M10x25mm or M12x25mm bolt (not included) through the respective mounting hole of the clamp (not included), and then thread it into the matching 10M hole on top, or 12M hole on bottom. The bolt must be threaded at least 18mm (0.7ins) into the fixture base.
Wall-Mount/Panel Installation: Chassis Disassembly
The wall-mount/panel installation option requires the control panel to be removed from the mounting case, the internal multi-use mounting-bracket removed, and then remounted to the junction box. After the control surface panel has been wired by a qualified electrician, the control panel can then be remounted to the multi-use mounting-bracket.
- Remove torx-screws securing the control surface panel to the integrated multi-use mounting-bracket and lift. A qualified technician/electrician can then disconnect the data and power connectors from the control surface panel to the mounting case.

- Remove the (4x) hex-screws securing the integrated multi-use mounting-bracket to the mounting case. This will be used to mount to the control panel.

All wiring and connections must be performed by a qualified electrician.
Wall-Mount/Panel Installation: Junction Box

- Mount and secure the internal multi-use mounting-bracket to the junction-box.
All wiring and connections must be performed by a qualified electrician.
- Secure the control panel to the internal multi-use mounting-bracket with the (4x) torx-screws.

Wall-Mount/Panel Installation: American Standard Socket Junction Box
- Mount and secure the internal multi-use mounting-bracket to the junction-box.

- Secure the control panel to the internal multi-use mounting-bracket with the (4x) torx-screws.

Wall-Mount/Panel Installation: Chassis Reassembly
To reconfigure the EP2 to its original form, remount the internal multi-use mounting-bracket to the case and secure it with (4) hex-screws.

All wiring and connections must be performed by a qualified electrician.
Once a qualified technician/electrician has reconnected the control surface panel with the power and data connectors, the control surface panel can then be mounted and secured to the base assembly with (4) torx-screws.

CONNECTIONS
POWER CONNECTIONS:
The Obsidian Control Systems Netron EP2 is powered through USB-C or POE.
DMX CONNECTIONS:
All DMX Output connections are 5pin female XLR; the pin-out on all sockets is pin 1 to shield, pin 2 to cold (-), and pin 3 to hot (+). Pins 4 and 5 are not used. Carefully connect DMX cables to the respective ports. To prevent damaging the DMX ports, provide strain relief and support. Avoid connecting FOH Snakes to the ports directly.
ETHERNET DATA CONNECTION
The Ethernet cable is connected on the side of the EP2 device. This device cannot be daisy chained. Although this is an Locking RJ45 Ethernet connector, and the use of a Locking RJ45 Ethernet cables is recommended, any RJ45 connector is suitable. The Ethernet connection is also used to connect a computer to the EP2 for remote configuration via a web browser. To access the web interface, simply enter the IP address shown in the display in any web browser connected to the device. Information about the web access can be found in the manual.
CONNECTIONS: FRONT & SIDE PANELS
FRONT CONNECTIONS:

DMX PORTS STATUS INDICATOR LEDs
SIDE CONNECTIONS

MAINTENANCE
The Obsidian Control Systems Netron EP2 is designed as rugged, roadworthy device. The only required service is occasional cleaning. For other service-related concerns, please contact your Obsidian Control Systems dealer, or visit www.obsidiancontrol.com.
Any service that is not described in this guide must be carried out by a trained and qualified Obsidian Control Systems technician. As any computer, the EP2 requires periodic cleaning. The schedule relies on the environment in which the controller is operated. An Obsidian Control Systems technician can provide recommendations if necessary. Never spray cleaner directly onto the device surface; always spray into a lint-free cloth and wipe it clean. Consider using cleaning products designed for cellphone and tablet devices.
Important! Excessive dust, dirt, smoke, fluid build-up, and other materials can degrade the performance of the EP2 device, causing overheating and damage to the unit that is not covered by the warranty.
SPECIFICATIONS
Connections
Front
- (2) 5pin DMX/RDM optically isolated ports. Ports are bidirectional for DMX In and Output Side
- (1) Locking RJ45 Ethernet network connections (POE), USB-C power option (5V, 2A)
Physical
- Length: 4.6 in. (117.6mm)
- Width: 4.5 in. (114mm)
- Height: 3.5 in. (89mm)
Weight: 1.76lbs. (0.8kg)
Electrical
- USB-C 5V
- POE 802.3af
- Power Consumption 2.8w
Approvals / Ratings
- CE / UKCA / IP20
Included Items
- Universal 5V/2A USB Power Adapter (UK, US, Europe, & AUS connectors), 100-240V
- 1.5m Obsidian USB-C cable
- Wallmount Enclosure
- In-wall mounting ring
SKU
- US #: NRE034
- EU #: 1330000072
DIMENSIONS

























