
ENGINEERING
TOMORROW
013R9682
RAS-B² Instruction
For Dynamic Radiator Pack and Dynamic TRV
Pressure Independent Radiator Valve
Danfoss RAS-B² radiator valve is a pressure independent radiator valve, designed for use in 2-pipe heating systems together with Danfoss TRV. RAS-B² dynamic valves are fitted with a flow limiting device for presetting of the maximum water flow. The valves are available with maximum water flow of 10 – 135 l/h. RAS-B² has a built-in pressure regulator, which keeps the differential pressure at a constant level of 0.1 bar, maintaining the set flow.
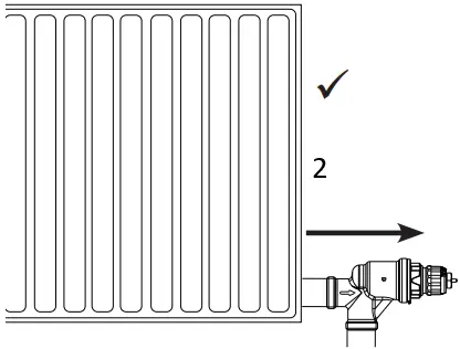
Installation of valve
The Danfoss RAS-B² radiator valve can be fitted either vertically or horizontally giving the installer total flexibility.

Vertical (Flow) Horizontal (Return)
- Note the flow direction arrow
- For the best performance we recommend fitting the valve with the sensor mounted horizontally.
! If you are not installing a Danfoss lockshield valve (supplied in sets code, 013G7662 & 013G7663) ensure that the lockshield is fully open. No balancing on the lockshield/ return pipe.
Keymark reference: This package contains sensor 013G6040 and valve 013G7677.
Presetting

The presetting values of RAS-B² valves can be adjusted easily and accurately without the use of tools (default setting = N).
Presetting can be selected in steps from 1 to 7:
- Remove protective cap / thermostatic sensor.
- Find reference mark (
). - Turn setting ring until the aquired presetting aligns with the reference mark.
At setting N the valve is fully open. This setting can be used as a flushing position, if the system has to be flushed out because of dirt problems. When the thermostatic sensor has been installed, the presetting is protected against unintended regulation.
| RAS-B² Pack Contents: | ||||
Code Number | Sensor | Valve | Lockshield | Fitting Diameter |
| 013G7660 | RAS-C² | RA-DV | – | 15mm |
013G7661 | RAS-C² | RA-DV | – | 10mm |
| 013G7662 | RAS-C² | RA-DV | RLV-D | 15mm |
013G7663 | RAS-C² | RA-DV | RLV-D | 10mm |
Sensor Installation
Fitting the Sensor
1. Remove cap from valve and turn sensor to ![]()
2. Make sure union nut is turned loosely up towards the sensor body until it is only slightly free of the lower part of the sensor body.
3. Press the sensor firmly onto the valve. Sensor horizontal: ensuring that the scale pointer is at top. Sensor vertical: ensuring that the scale pointer is at the front.
4. Whilst holding the sensor firmly on the valve secure connection by turning union nut clock-wise by hand.
5. Whilst still holding the sensor firmly on the valve fully tighten grey union nut using parrot nose pliers.
6. Set desired room temperature.
Removing the Sensor
Turn the sensor to max. position
. Turn union nut anticlockwise to release locking mechanism (4). The sensor can now be separated from the valve.
User Guide
Setting the desired room temperatures
The desired room temperature is set by turning the head. The temperatures obtained are approximately:

Do not cover the thermostat
The thermostat opens and closes as determined by the temperature around it. Therefore the sensor must never be hidden behind thick curtains, furniture, etc. Alternatively a thermostat with remote sensor should be used.
Positive SHUT-OFF feature:
The head can be turned past the setting (a slight resistance will be felt) to setting “0” at which point the water flow is shut off completely. After also shutting the lockshield valve the radiator may be drained and removed for maintenance and decoration purposes.
Install Danfoss Installer App
Download free of charge for Android and iOS
Danfoss Limited
Heating Segment • heating.danfoss.co.uk • +44 (0)1895 617000 • E-mail: [email protected]
Danfoss can accept no responsibility for possible errors in catalogues, brochures and other printed material. Danfoss reserves the right to alter its products without notice. This also applies to products already on order provided that such alterations can be made without sub sequential changes being necessary in specifications already agreed.
All trademarks in this material are property of the respective companies. Danfoss and all Danfoss logotypes are trademarks of Danfoss A/S. All rights reserved.
© Danfoss HS | 10/2020 | AN355150489406en-GB0101








