Opera Beds Eclipse Air Mattress System

Indications
This air alternating mattress system is designed for patients who endure pressure ulcers and potential patients who wish to reduce the likelihood of pressure ulcers. This device is intended to treat and prevent pressure ulcers by facilitating blood circulation and decreasing the pressure of each tissue’s contact area. Always consult a physician or healthcare professional before using this mattress system. This anti-decubitus mattress system is mainly for high to very high-risk patient groups.
Contradictions
Certain patient conditions are not suitable for using this type of device such as fracture of unstable vertebrae and illness of unstable vertebrae. Always consult a physician or health professional before using this device.
The use of this system does not replace the regular repositioning, monitoring, and, nursing of the patient.
Thank you for purchasing this anti-decubitus mattress replacement system. Please read these instructions carefully before setting up and using the device. Pay special attention to the warnings and other safety information. The use of genuine components is essential for optimal performance. If you do not fully understand all the instructions, safety precautions, and warnings, do not use this device. If you have questions, please contact Opera on 0333 222 8584.
Explanation of Symbols
![]()
- Read information with this symbol carefully and urgently follow instructions. This information is safety-relevant.
- This symbol indicates general hazards. There is a danger to life and health.
- Conformity mark in accordance with the European Medical Device Directives 93/42 EEC amended by 2007/47/EC.
- Protected against ingress of solid foreign objects ≥12.5mm diameter. Protected against vertically falling water drops.
- Double Insulated (Class II) equipment.
- The symbol for Type BF Applied Part Mattress according to IEC/EN 60601-1.
- Indoor use only.
- This product must be disposed of in a separate refuse collection in the European Union. Do not dispose of as normal domestic waste.
- Read instructions.
- Manufacturer.
- Date of Manufacture.
Safety Precautions
Proper Operation
To ensure proper operation, please inspect and verify that all parts are set up properly and are anchored securely to the bed system. Verify that the mattress replacement system does not interfere with the bed frame function. Do not place anything on top of the power unit. Make sure the power cord set is underneath the bed frame and does not pose a hazard.
Use of Linens
It is recommended to limit bed linens to a single layer in order to allow moisture to escape efficiently through the coverlet. Breathable incontinent pads are recommended for use with this mattress system.
Flammability Hazard
Avoid using this device near open flames, lighters, or cigarettes.
Flammability hazard exists. This device draws air from the surrounding environment. Thus, cigarette smoking may damage internal components.
Disinfection Between Patients
This system should be disinfected thoroughly between patients in order to avoid cross-contamination.
Weight Capacity
Verify that the patient’s weight, accessories, and this mattress replacement system, do not exceed the bed frame’s manufacturer’s recommended weight capacity.
Side Rails
Use this mattress with side rails that meet bed rail regulations (BS EN 60601-2-52:2010) to ensure that the gap between the side rail and the top of the mattress is not large enough to pose a risk of head or neck entrapment. Failure to do so could result in serious patient injury or death.
If applicable, adhere to the facility or local guidelines regarding entrapment regulations.
Do Not Disassemble
Do not disassemble the power unit if you are not a qualified technician.
Please contact Opera on 0333 222 8584.
AP/APG Protection
This product is not AP/APG protected.
Periodic Repositioning
It is recommended that the patient be repositioned periodically while using this mattress.
Battery Replacement
Incorrect battery replacement may result in a risk of explosion. Replace only with the same or equivalent battery type recommended by the manufacturer.
Maintenance
If the equipment needs maintenance, contact Opera on 0333 222 8584 as soon as possible. For equipment that is no longer functional, make sure to follow national, state, and/or facility requirements for the disposal of the unit.
Environmental Operating Conditions
- Temperature: 5°C – 40°C
- Humidity: 15% – 90%
- Atmospheric Pressure: 700hPa – 1060hPa
Sharp Protrusions
Ensure that there are no protruding objects, sharp points, or bed springs under the mattress as these could puncture the air cells.
Disposal of Waste
This device must not be disposed of as normal household waste after the end of its service life. Contact your local waste recycling facility for further instructions.
System Package
Power Unit Package
- Power Unit x 1
- Power Cord x 1
- Instructions For Use x 1
Mattress Package
- Mattress replacement unit with coverlet x 1.
Power Unit Features
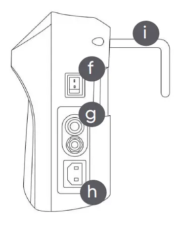
Power/Mute
Press the button to turn on the power unit and the green LED will light. The LED will change to orange if an abnormal power outage occurs and an audible alarm will sound to notify medical staff. You may press the button to mute the alarm or it will sound until power is restored or a rechargeable battery is discharged. The memory re-call function recalls the previous setting when the pump is turned off/on or after a power outage.- Pressure Monitoring LED
The power unit features an integrated pressure sensor that can monitor the mattress’ internal pressure to achieve optimal internal pressure and ensure maximum pressure relief. This LED indicates the system is monitoring the mattress’ internal pressure while the compressor is inflating. - Alert LED
This alert notifies medical staff the mattress has insufficient pressure. The audible alarm will sound for 15 seconds at each cycle and the indicator will stay on until the problem has been solved.
- Comfort Adjustment
Simply press the button to adjust the patient’s comfort from -2 to 2. Please adjust the comfort setting if the mattress is too soft or firm to suit each patient.
Caregivers should always perform a hand check by placing their hands underneath the patient’s pelvis area to check if there is sufficient air support to ensure the patient is not bottoming out. - Max Inflate Mode
The max inflates mode will rapidly inflate the mattress to maximum pressure, allowing caregivers to perform daily nursing procedures. To cancel the max inflate mode, press the max inflate button again. The system will automatically change back to the previous comfort setting with alternating therapy after 20 minutes.
Alternating vs. Constant Mode
The mattress gives the choice between alternating and constant modes. The alternating setting will provide traditional air mattress therapy whereby alternate cells will inflate to maximum pressure, while the other cells will deflate to lower pressure. The constant setting will provide constant low-pressure therapy, allowing pressure to be redistributed through the mattress, subsequently allowing blood flow to continue to common problem areas. - Rocker Switch
Power unit’s main power switch. - Couplers
Quick-release female couplers are used to secure mattress air hoses to the power unit. - Power Receptacle
Insert the power cord set firmly into the receptacle.
- Hanging Hooks
Hanging hooks are designed to hang the power unit on almost any footboard. - Convenient Handle
The handle provides an additional gripping surface for the user to carry the power unit. - Fuse
Fuse Holder
- Air Filter and Cap
We recommend that the filter is kept clean to ensure optimal performance of the power unit.
Mattress and Power Unit Installations
- Remove Existing Mattress
Remove the existing mattress from the bed frame. - Secure Mattress Replacement
Place mattress replacement on the bed frame with the foot symbol at the foot end. Secure the mattress at each side using anchor straps. Ensure that the anchor straps do not interfere with any moving parts of the bed frame before proceeding to the next step. - Secure Power Unit
Secure the power unit onto the footboard using hanging hooks. - Connect Hose Couplers
Firmly connect the air hose couplers to the couplers on the power unit. - Check CPR Pull Cord
Unzip the mattress cover and inspect CPR latch is fully inserted into the socket. It should arrive fully inserted when first purchased, but it is worthwhile checking, especially when re-installing the mattress. - Power Up Unit
Plug the power unit into an electrical outlet, and turn on the main power rocker switch on the right side of the power unit. The press power button on the control panel to inflate the mattress system. Please wait for approx. 30 seconds until the power unit is ready before making any program adjustments. - Wait for Inflation
Wait approximately 30 minutes for the mattress to inflate fully before allowing the patient to lie down on the mattress. - Ensure Patient Comfort
Perform the firmness and hand checks in section 7. Program settings before leaving the patient for long periods of time.
Program Settings
Adjusting Firmness
Centre the patient on the mattress. Adjust the mattress’ internal pressure according to the patient’s sensation by using the comfort button on the control panel of the power unit. If the patient feels the mattress is too soft or firm, increase or decrease the mattress’ internal pressure one increment at a time and wait for the system to stabilize before making another change until a comfortable state is achieved.
Perform Hand Check
Caregivers should always perform a hand check by placing their hands underneath the patient’s pelvis area to check if there is sufficient air support to ensure the patient is not bottoming out.
Tucking the bed sheet in too tightly may reduce the effectiveness of the system.
Patient Transfer and Transport
Transfer
It is recommended to have the mattress system fully inflated during the transfer process. To do this increase the comfort setting to +2. Make sure the bed is secured before proceeding.
Transport
In the event of patient transport, two options are available.
- Detach the mattress’ air hose couplers from the power unit’s quick-release couplers and connect the two air hose couplers together to retain air in the mattress. The mattress will stay inflated for approximately 2 hours, depending on the patient’s weight.
- Unplug the power unit’s power cord from the wall outlet and the mattress should stay inflated for approximately 40 – 50 minutes. This mattress system also has a safety foam base underneath the air cells to support the patient for a short period of time in case of deflation. To resume normal operation, please follow the instructions beginning in Section 6.2.
Emergency CPR Deflation
In the case of an emergency, pull hard to remove the mattress’ CPR latch and detach the quick release coupling from the control unit for emergency deflation and turn off the power unit by pressing the power/ mute button on the control panel at the same time for emergency deflation. The air will discharge from the mattress with the patient’s own weight. To resume normal operation, simply re-insert the CPR latch securely, press the power/mute button again, and reset the patient weight. See instructions in Section 6.
Cleaning Instruction
The air mattress and power unit must be cleaned thoroughly between patients to avoid cross-contamination. The following is a suggested guideline. Be sure to follow local infection control policies. Regular cleaning can be performed at the bedside with a disinfectant followed by drying with a clean dry cloth. Use only mild detergents to clean the coverlet and the mattress. Any appropriate non-phenolic cleaning agent may be used for heavy soiling from urine, blood, or other bodily fluids. Please ensure that the air mattress and coverlet are completely dry before letting the patient lie on the surface again.
The recommended wash temperature is 70°C, at 95°C the shrinkage rate is 1% higher and the color might run insignificantly.
Always replace the coverlet before using the mattress. If the coverlet is not properly fitted to the mattress the hybrid alternating pressure cells may move. There is also a high risk of cross-contamination if the mattress is used without a coverlet.
Do not use electric or tumble dryers. Do not iron.
Always unplug the power unit before cleaning. Routine cleaning of the power unit can be done by wiping it down with a damp cloth using disinfectant or mild detergent. Never spray liquids directly on the unit itself.
Routine Maintenance and Storage
Remove the air filter from the rear panel of the power unit by opening up the filter cap. Inspect the filter for dirt or dust, and clean it with mild soap and water. Reinsert the dried air filter after cleaning and ensure that the cap is secure. If a replacement is needed, contact Opera on 0333 222 8584. Only disinfected and dry systems should be stored. Disconnect the air hoses from the power unit. Roll up the mattress starting from the head end and working down toward the foot end. Use the straps to secure it and store it in a clean plastic or another storage bag. Store in a cool, dark place.
Troubleshooting
Fault | Inspection Procedure | Remedy |
| The power unit is not working. | Check if the power cord is firmly plugged into both the control unit and the electrical outlet. | Secure the power cord into the control unit and/or electrical outlet. |
| Check if the power switch is in the on position. | Turn the power switch to the on position. | |
| Check if the power surge has shut down the power unit. | A power surge may overload the circuitry temporarily. Turn the unit off, and check the fuse for damage. Turn the unit on again with normal procedure. | |
| Make sure there is no power failure. | Turn on and operate the unit after power is restored to the facility or home. | |
| The power unit does not respond to possible solutions. | Please contact Opera on 0333 222 8584 for assistance. | |
| The low-pressure alert does not go out in 30 sec. after the system starts. | Possible control failure. | Please contact Opera on 0333 222 8584 for assistance. |
| Alert LED is lit during operation. | Check if there is leakage in air tubes* or air cells. | |
| The power unit is working, but the mattress replacement is not inflating nd/Bottoming out is occurring and/or the Patient leaves a deep indentation at the intact areas which do not return back to ts original shape. | Check CPR Pull Cord. | Unzip the mattress cover and inspect CPR latch is fully inserted into the socket. |
| Check if the mattress’ air hose couplers are properly connected to the power unit’s quick-release couplers. | Secure air hose couplers firmly into place. | |
| Verify that the patient weight setting is correct. | Increase or decrease weight setting until appropriate pressure is reached. | |
| Inspect the air filter for dust and dirt. | Clean or replace the air filter. | |
| Lift mattress coverlet up to check if air cells are connected correctly. | Make sure all air cells are properly linked to the air supply. | |
| Lift the mattress coverlet up to check if air tubes are kinked or obstructed. | Check and adjust air tube positions. | |
| Check if air cells are cut or cracked | Please contact Opera on 0333 222 8584 for assistance. | |
| Alternating or Constant mode is not available. | Possible control failure. | Please contact Opera on 0333 222 8584 for assistance. |
| The patient’s wounds are not responding to pressure relief (reddening of the skin). | Contact your physician and/or nursing service immediately. |
Return for Service
Service and repair must be performed by Opera-authorised technicians or representatives. Please contact Opera on 0333 222 8584.
Warranty
We warrant the product to be free from defects from the date of purchase. Please inspect all accessories when you purchase our product. If there is any damage or missing accessories when you receive the product, please ask for a replacement from Opera at 0333 222 8584 within three days of purchase. The warranty period for the products are according to the regulations in your country, the minimum period is 2 years from the date of purchase for the power unit and 2 years for the mattress and the coverlet. The warranty coverage of any product is contingent upon its purchase from Opera. Warranty coverage will not be extended to any product on which the production lot number has been removed or defaced on which repair has been attempted by any person or agency not authorized by our company or if in the sole opinion of our company that the system shows evidence of tampering, abnormal or unreasonable abuse, negligence, accident or operation without regard for the restrictions specified in the instructions which accompany the system. This warranty does not cover normal maintenance such as cleaning, adjustment, lubrication, and updating of equipment or parts. If the damage is a result of improper operation, a reasonable service fee and part cost will be charged. The warranty stated above is the only warranty made and is in lieu of all other warranties whether expressed or implied, including any warranty of merchantability or fitness for a particular reason, we will not be liable for consequential or incidental damages of any kind.
Product Specifications
| System Name | Eclipse Auto Air Mattress System |
| Power Unit (Air Pump) Model | SR366 |
| Mattress Dimension | 2000 x 900 x 200mm (8” depth) 2000 x 1070 x 200mm (8” depth) 2000 x 1200 x 200mm (8” depth) |
| Number of Air Cells | 20 Cells |
| Power Control Unit Dimension | 295 x 225 x 120mm |
| Material | Power Unit – Plastic Case rated UL 94V-0 Mattress Cell – 100% Nylon with TPU lamination Coverlet – Polyamide with Polyurethane |
| Power Input | 220 – 240Vac, 50Hz, 0.2A |
| Power Consumption | Normal Operation: Max 15W |
| Power Control Unit Weight | 2.5 kg |
| Fuse Rating | T1A 250V |
| Electrical Classification | Class II Type BF applied part mattress. |
| IP Code | IP21 |
| Operation Mode | This system is not AP/APG Protected. Continuous operation. |
| Power Cord Set | H105VV-F or H05VVH2-F, 2 x Min. 075mm2, 250Vac |
| Operating Conditions | Temperature: 5°C – 40°C Humidity: 15% – 90% Atmospheric Pressure: 700 – 1060hPA |
| Transportation & Storage Conditions | Temperature: -25°C – 70°C Humidity: 0% – 90% |
| NiMH Battery | 3.6Vdc 600mAh |
| IEC/EN Test Standards | Safety: IEC/EN 60601-1_v3.1 EMC: IEC/EN 60601-1-2_v4 |
| Minimum Weight Capacity | 30 kg |
| Maximum Weight Capacity | 200 kg |
Declaration of Conformity


Azure House, Connaught Road, Kingswood,
Hull, HU7 3AP
0333 222 8584
[email protected],
operabeds.com

Power/Mute
























