LAMPEHUSET 5321704561 45cm Lind Ceiling Lamp Nature Instruction Manual
Caution
Warning:
- Only use bulbs as directed on the label on the lamp.
- Turn off the lamp before replacing the bulb and wait until the bulb has cooled. Take special care to touch the lamp when the lamp is lit. It can be hot.
Package Content
(Parts are not scale)
| Pad | Description | Quantity |
| A | Fixture body with wire | 1 |
| B | Round rattan shade | 1 |
| C | Wall expansion particle | 2 |
| D | Self-Tapping screw | 2 |
Light Source
230V E27 1 X 40W Max (not include)
Recommend LED bulb
Pre-Installation
PLANNING THE INSTALLATION
Read all instructions before assembly and installation. Before starting installation of the fixture or removal of a previous fixture, disconnect the power by turning off the circuit breaker or by removing the fuse at the fuse box. To avoid damaging this product, assemble it on a soft, non-abrasive surface such as carpet or cardboard.
TOOLS REQUIRED
- Phillips Screwdriver

- Flathead Screwdriver

- Knife

- Wire Cutter

- Percussion drill

- Chopping bit Dia 6 mm

- Ladder

- Safety Goggles

Installation
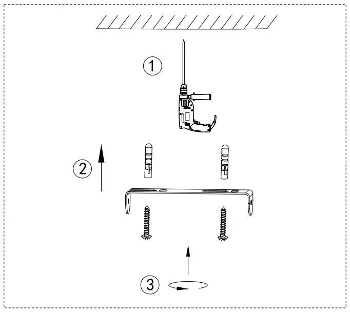
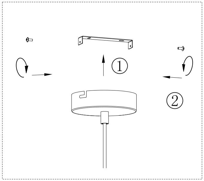
Step 1.
Step 2.
Step 3.
Step 4.

Operation
- Turn on power at the circuit breaker or fuse box.
- Turn the light switch on to activate the fixture
Care and Cleaning
EXTERIOR MAINTENANCE
- To clean the outside of the fixture, use a dry or slightly dampened clean cloth (use clean water, never a solvent) to wipe the surface of the fixture.
- Do not use any cleaners with chemicals, solvents or harsh abrasives. Use only a dry soft cloth to dust or wipe carefully.






















