GE Appliances CK1UP150RW2 Ice Maker Door Ki Instruction Manual
WARNING
To reduce the risk associated with choking, do not allow children under 3 years of age to have access to small parts during the installation of this product.
NOTE: If the door swing is going to be changed, please complete prior to installing the door panel per the directions in your Owner’s Manual. Also, if the door panel did not come with a handle, be sure to install one (ordered separately) before installing door panel to inner door.
Installing the Door Panel
- Remove the gasket from the inside of the door and retain for later use.

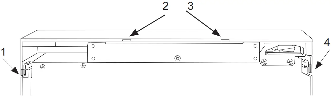
- Identify the 4 pry tabs on the top and bottom decorative door trims.

- Pry on each tab and pull down on the trim as shown until you can remove each of the trims.

- Remove any plastic protective covering from the stainless door panel
- Place the door panel onto the outside of the door and secure it with 6 machine screws. (Provided in Door Panel Kit)

- Snap the upper an lower trims back on the inner panel.
- Re-install the door gasket.























