BOGEN HFCS1 High-Fidelity Ceiling Speakers User Manual
Product Description
Bogen’s coaxial 2-way hi-fi ceiling speakers deliver unsurpassed performance and value. The steel back can and front exit venting allow for deep bass response, enhancing the quality and intelligibility of both speech and music. The HFCS1LP uses a smaller, low-profile back can that allows for a greater range of installations. The speakers are available with off-white finish or black finish (B versions).
Both speakers can be installed either in suspended ceiling structures or hard
surfaces (such as sheetrock). They come ready to install with integral swinging arm clamps.
An optional mounting bracket (TBCR) is available for additional support (recommended for all suspended ceiling applications). The bracket can also be used for new construction ceilings, providing a cutout guide behind the sheetrock surface and as a C-ring to stiffen the edges of the cutout opening.
A variety of speaker power levels are easily selected via a front panel rotary switch. Settings for both 70V and 100V high-impedance systems, as well as a low-impedance (16-ohm) position, are provided.
The speakers feature a removable snap-lock input connector, providing easy wire connection for input as well as loop-through to the next speaker.
Always follow these basic safety precautions when installing and using the unit:
IMPORTANT SAFETY INSTRUCTIONS
- Read these instructions.
- Keep these instructions.
- Heed all warnings.
- Follow all instructions.
- Do not use this apparatus near water.
- Clean unit with dry cloth.
- Do not block any ventilation openings. Install in accordance with the manufacturer’s instructions.
- Do not install near any heat sources such as radiators, heat registers, stoves, or other apparatus (including amplifiers) that produce heat.
- Do not defeat the safety purpose of the polarized or grounding-type plug. A polarized plug has two blades with one wider than the other. A grounding-type plug has two blades and a third grounding prong. The wide blade, or the third prong, are provided for your safety. If the provided plug does not fit into your outlet, consult an electrician for replacement of the obsolete outlet.
- Protect the power cord from being walked on or pinched particularly at plugs,
convenience receptacles, and the point where they exit from the apparatus. - Only use attachments/accessories specified by the manufacturer. An operation manual is provided with the product.
- Unplug this apparatus during lightning storms or when not used for long periods of time.
- Refer all servicing to qualified service personnel. Servicing is required when the apparatus has been damaged in any way, such as power-supply cord or plug is damaged, liquid has been spilled or objects have fallen into the apparatus, the apparatus has been exposed to rain or moisture, does not operate normally, or has been dropped.
IMPORTANT
The HFCS1(B) and HFCS1LP(B) are not outdoor speakers. Do not expose the speakers to rain or moisture. The HFCS1(B) and HFCS1LP(B) should only be installed by qualified personnel.
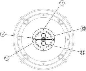
Product Diagrams
Front Drawing (grille removed)
- Coaxial Driver Assembly
- Bass Tuning Vents (x2, HFCS1; x1, HFCS1LP)
- Grille Retention Groove
- Power Tap Selection Switch
- Mounting Clamp Screws (x4)

Rear Drawing - Metal Back Can
- Snap-Lock Input Connector
- Mounting Clamps (x4)

Rear Drawing (terminal cover) - Terminal Covers (2 identical halves)
- Eyelets (x2)
- Mounting Screws (x4)
- Wire Exit Slot
- Conduit Knockout (x2)

Installation
The speakers can be installed in a variety of ceiling environments. The use of the TBCR (Tile Bridge Support Ring) accessory may be desired for many of these.
For suspended ceilings, the use of a TBCR is strongly recommended to help support and distribute the weight of the speaker.
In new construction installations the TBCR, installed before sheetrock, acts as a routing template that ensures an accurate and neat hole for installation. The TBCR can also be used as a support ring in retrofit applications to better distribute the speaker’s clamping forces.
IMPORTANT
- The HFCS1(B) requires a minimum of 11″ of vertical clearance between the FRONT of the mounting surface and any other structure for the speaker to fit. The HFCS1LP(B) requires a minimum of 6-¾” of vertical clearance.
- Before cutting the full hole, use a smaller exploratory hole to determine if there are any obstructions.
- The edge of the hole must be a minimum of 1-¼” away from any side obstructions to ensure that they will not interfere with the action of the clamps.
- Begin by cutting a 10-¾” circular hole where the speaker will be installed. If
using a TBCR, then follow its installation instructions for the specific type of environment the speaker is being installed in. - Make electrical connections to the pluggable terminal strip and plug it onto the
speaker. See Speaker Wiring section. - Install terminal cover plates, if necessary or desired, using 4 screws. See the
Terminal Covers section if using conduit or if it is required to secure the speaker directly to the structure (typically for suspended ceilings). - Remove the speaker’s grille (if necessary). See Speaker Grille Installation &
Removal section. - Set the power level using the rotary selector switch on the front panel. Refer to the Selecting Power Levels section for instructions on selecting the power level.
- Position the swing-out clamps so that they are against the body of the speaker and insert the speaker into its opening in the ceiling.
- Tighten the clamps by turning the clamping screws clockwise. Do not over-tighten the clamps – only tighten until the speaker is fairly snug in the mounting hole. If using an electric driver, set the clutch on the driver to the lowest setting.
- (Re)install the speaker’s grille. See Speaker Grille Installation & Removal section.
Speaker Wiring
All wiring should be done prior to installation and then plugged into the rear of the speaker. Wiring is terminated at a snap-lock input connector. There are two positive and two negative terminals to accommodate daisy-chaining of speakers in a system.
Daisy-Chaining
The snap-lock input connector allows for easy daisy-chaining of speakers by providing a second terminal of each polarity. See the figures to the right and below for correct wiring for daisy-chaining of terminals.

Speaker Polarity
Keep the same polarity terminals wired together to ensure correct speaker polarity. In order to provide the best possible sound, all speakers in a system need to be pushing out and pulling in at the same time. Therefore all must be wired with the same polarity.
If the connections to one speaker in a system are reversed from the others, that speaker’s movement will be out of polarity with the other speakers. This results in a loss of low frequency response and will effect the overall performance of the system.
Terminal Covers
- The two terminal cover halves are attached to the back of the speaker using 4 screws. It is important that all 4 screws be used to mount the covers.
- A slot between the two halves allows the wire to exit the speaker while
protecting the connections. The cover’s eyelets can be used to anchor the wire using a wire tie if desired. - If local codes require the use of a conduit for connections or strain relief of the
connections, a knockout can be removed and a proper fitting installed for the
particular situation. - Eyelets are provided on the terminal covers to provide a means of securing the
speaker to the structure. It is important that all 4 terminal cover screws be
installed in this application. A Bogen Model CK10 cable will accomplish this.
Selecting Power Levels
The front-mounted selector switch is used to set the appropriate power level or impedance for your system. Using a small, flat-blade screwdriver, turn the knob until the slot points to the power level you require.
70V/100V Systems
Both power setting scales for 70V and 100V systems are labeled on the speakers. On the 100V scale, the last position clockwise is marked with a
symbol. Do not use this position in 100V systems.

16-ohm Systems
The fully counterclockwise position of the setting switch is the 16-ohm position. This setting is suitable for use with low-impedance amplifiers that typically support 4- or 8-ohm speakers. The speaker’s higher, 16-ohm impedance makes it easier to combine multiple speakers into series-parallel networks while keeping the total system impedance at a level suitable for low-impedance amplifiers.
Speaker Grille Installation & Removal
Installation
The speaker grille fits tightly! Push the speaker grille in until it can go no further. Then, slap around the edge of the grille to seat the grille. The grille is properly seated when it is flush with the edge of the bezel.

Removal
Insert a pocketknife blade between the grille and the bezel about 1 /4″ deep and then gently pry the grille upwards. Do this in multiple places around the circumference of the grille to free the grille.

Specifications
| SPECIFICATIONS | HFCSI I HFCSILP | |
| Frequency Response (-10 dB)* | 65 Hz to 19 kHz | 78 Hz to 19 kHz |
| LF Driver | 6-1/2″ (165mm) Polypropylene Cone | |
| HF Driver | 3/4″ (20mm) Polycarbonate Cone | |
| Sensitivity (1W/1m) | 89 dBspl (Average 100 Hz – 10 kHz) | |
| Impedance Ratings | Low (16 ohms) / High (70V/100V) | |
| Power Input (Max.) | 75W @ 16 ohms; 32W @ 70V/100V | |
| Power Settings (in watts)t | 70V: 32, 16, 8, 4, 2, 1 / 100V: 32, 16, 8, 4, 2 | |
| Baffle Material | Fire-rated (94V0) ABS | |
| Back Can Material | Heavy-Gauge Steel | |
| Terminations | 4 Terminal Snap-Lock Input Connector | |
| Product Weight | 9 lb. | 8 lb. |
| Speaker Dimensions | 12-5/16″ dia x 12″ D | 12-5/16″ dia. x 7-3/4″ D |
| Minimum Vertical Clearance Requirement | 11″ | 6-3/4″ |
| Included Accessories | Input Terminal Cover (2 Halves); (4) Screws; (1) Snap-Lock Input Connector | |
| Optional Accessories | Tile Bridge Support Ring (TBCR); Cable Kit (CK10) | |
| Baffle Ring & Grille Color | Off-white or Black | |
| Listings | Listed to UL Standard 60065 for US & Canada | |
- Half-Space Response, 16-ohm input
- Front panel, switch-selected.
Accessories
TBCR (Tile Bridge Support Ring)
The TBCR is a combination tile bridge and support ring that assists in securing the
HFCS1(B) /HFCS1LP(B), and in distributing the weight of the speaker in various types of installations.
CK10 (Cable Kit, 10′)
The CK10 is a 10-foot cable with one looped end and an adjustable cable clamp.
It is suitable for use as a safety cable (see Terminal Covers on page 3).
Limited Warranty; Exclusion of Certain Damages
The Bogen HFCS1(B)/HFCS1LP(B) are warranted to be free from defects in material or workmanship for three (3) years from the date of sale to the original purchaser. Any part of the product covered by this warranty that, with normal installation and use, becomes defective will be repaired or replaced by Bogen, at our option, provided the product is shipped insured and prepaid to: Bogen
Factory Service Department, 50 Spring Street, Ramsey, NJ 07446, USA. The product will be returned to you freight prepaid. This warranty does not extend to any of our products that have been subjected to abuse, misuse, improper storage, neglect, accident, improper installation or have been modified or repaired or altered in any manner whatsoever, or where the serial number or date code has been removed or defaced.
THE FOREGOING LIMITED WARRANTY IS BOGEN’S SOLE AND EXCLUSIVE WARRANTY AND THE PURCHASER’S SOLE AND EXCLUSIVE REMEDY. BOGEN MAKES NO OTHER WARRANTIES OF ANY KIND, EITHER EXPRESS OR IMPLIED, AND ALL IMPLIED WARRANTIES OF MERCHANTABILITY OR FITNESS FOR A PARTICULAR PURPOSE ARE HEREBY DISCLAIMED AND EXCLUDED TO THE MAXIMUM EXTENT ALLOWABLE BY LAW. Bogen’s liability arising out of the manufacture, sale or supplying of products or their use or disposition,
whether based upon warranty, contract, tort or otherwise, shall be limited to the price of the product. In no event shall Bogen be liable for special, incidental or consequential damages (including, but not limited to, loss of profits, loss of data or loss of use damages) arising out of the manufacture, sale or supplying of products, even if Bogen has been advised of the possibility of such damages
or losses. Some States do not allow the exclusion or limitation of incidental or consequential damages, so the above limitation or exclusion may not apply to you. This warranty gives you specific legal rights, and you may also have other rights which vary from State to State. Products that are out of warranty will also be repaired by the Bogen Factory Service Department – same address as above or call 201-934-8500. The parts and labor involved in these repairs are warranted for 90 days when repaired by the Bogen Factory Service Department. All shipping charges in addition to parts and labor charges will be at the owner’s expense. All returns require a Return Authorization number.





















