JENSEN Digital Dual Alarm Clock Radio With Under Pillow Vibrator

MODEL: JCR-255
Please Read This User Manual Completely Before Operating This Unit And Retain This Booklet For Future Reference
WARNING
To Prevent Fire Or Shock Hazard, Do Not Use This Plug With An Extension Cord, Receptacle Or Other Outlet Unless The Blades Can Be Fully Inserted To Prevent Blade Exposure. To Prevent Fire Or Shock Hazard, Do Not Expose This Appliance To Rain Or Moisture.

The Rating plate is located at the back enclosure of the apparatus
IMPORTANT SAFETY INSTRUCTIONS
- Read these instructions.
- Keep these instructions.
- Heed all warnings.
- Follow all instructions.
- Do not use this apparatus near water.
- Clean only with dry cloth.
- Do not block any ventilation openings. Install in accordance with the manufacturer’s instructions.
- Do not install near any heat sources such as radiators, heat registers, stoves, or other apparatus (including amplifiers) that product heat.
- AC adaptor is used as disconnect device and it should remain readily operable during intended use. In order to disconnect the apparatus from the mains completely, the AC adaptor should be disconnected form the mains socket outlet completely.

- Only use attachments/accessories specified by the manufacturer.
- Use only with a cart, stand, tripod, bracket, or table recommended by the manufacturer, or sold with the product.
When a cart is used, use caution when moving the cart/apparatus combination to avoid injury from tip-over. - Unplug this apparatus during lightning storms or when unused for a long periods of time.
- Refer all servicing to qualified service personnel. Servicing is required when the apparatus has been damaged in any way, such as power-supply cord or plug is damaged, liquid has been spilled or objects have fallen into the apparatus, the apparatus has been exposed to rain or moisture, does not operate normally, or has been dropped.
- This appliance shall not be exposed to dripping or splashing water and that no object filled with liquids such as vases shall be placed on the apparatus.
- Do not overload wall outlet. Use only power source as indicated.
- Use replacement part as specified by the manufacturer.
- Upon completion of any service or repairs to this product, ask the service technician to perform safety checks.
- Power Sources – This product should be operated only from the type of power source indicated on the marking label. If you are not sure of the type of power supply to your home, consult your product dealer or local power company. For products intended to operate from battery power, or other sources, refer to the operating instruction.
- Object and Liquid Entry – Never push objects of any kind into this product through openings as they may touch dangerous voltage points or short-out parts that could result in a fire or electric shock. Never spill liquid of any kind on the product.
- Damage Requiring Service – Unplug this product from the wall outlet and refer servicing to qualified service personnel under the following conditions:
a) When the power-supply cord or plug is damaged,
b) If liquid has been spilled, or objects have fallen into the product,
c) If the product has been exposed to rain or water,
d) If the product does not operate normally by following the operating instructions.
Adjust only those controls that are covered by the operating instructions as an improper adjustment of other controls may result in damage and will often require extensive work by a qualified technician to restore the product to its normal operation.
e) If the product has been dropped or damaged in any way, and
f) When the product exhibits a distinct change in performance – this indicates a need for service. - The battery shall not be exposed to excessive heat such as sunshine, fire or the like.
- Minimum distances of 4 inches around the apparatus for sufficient ventilation.
- The ventilation should not be impeded by covering the ventilation openings with items, such as newspapers, table-cloths, curtains, etc.
- No open flame sources, such as lit candles, should be placed on the product.
- The use of apparatus in moderate climates.
- Attention should be drawn to the environmental aspects of battery disposal
SAVE THESE INSTRUCTIONS
COMPLIANCE WITH FCC REGULATIONS
FCC ID: 2AVMZ-G0183A433
This device complies with Part 15 of the FCC Rules. Operation is subject to the following two conditions:
(1) This device may not cause harmful interference, and
(2) This device must accept any interference received, including interference that may cause undesired operation.
This equipment has been tested and found to comply with the limits for a class B digital device, pursuant to Part 15 of the FCC Rules. These limits are designed to provide reasonable protection against harmful interference in a residential installation. This equipment generates uses and can radiate radio frequency energy and, if not installed and used in accordance with the instructions, may cause harmful interference to radio communications. However, there is no guarantee that interference will not occur in a particular installation. If this equipment does cause harmful interference to radio or television reception, which can be determined by turning the equipment off and on, the user is encouraged to try to correct the interference by one or more of the following measures:
- Reorient or relocate the receiving antenna.
- Increase the separation between the equipment and receiver.
- Connect the equipment into an outlet on a circuit different from that to which the receiver is connected.
- Consult the dealer or an experienced radio/TV technician for help.
CAUTION: Changes or modifications not expressly approved by the party responsible for compliance could void the user’s authority to operate the equipment.
PROTECT YOUR FURNITURE!!
This system is equipped with non-skid rubber ‘feet’ to prevent the product from moving when you operate the controls. These ‘feet’ are made from non-migrating rubber material specially formulated to avoid leaving any marks or stains on your furniture.
However certain types of oil based furniture polishes, wood preservatives, or cleaning sprays may cause the rubber ‘feet’ to soften, and leave marks or a rubber residue on the furniture.
To prevent any damage to your furniture we strongly recommend that you purchase small self-adhesive felt pads, available at hardware stores and home improvement centers everywhere, and apply these pads to the bottom of the rubber ‘feet’ before you place the product on fine wooden furniture.
DEAR JENSEN CUSTOMER
Selecting fine audio equipment such as the unit you’ve just purchased is only the start of your musical enjoyment. Now it’s time to consider how you can maximize the fun and excitement your equipment offers. This manufacturer and the Electronic Industries Association’s Consumer Electronics Group want you to get the most out of your equipment by playing it at a safe level. One that lets the sound come through loud and clear without annoying blaring or distortion and, most importantly, without affecting your sensitive hearing.
Sound can be deceiving. Over time your hearing “comfort level” adapts to higher volumes of sound. So what sounds “normal” can actually be loud and harmful to your hearing. Guard against this by setting your equipment at a safe level BEFORE your hearing adapts.
To establish a safe level:
- Start your volume control at a low setting.
- Slowly increase the sound until you can hear it comfortably and clearly, and without distortion.
Once you have established a comfortable sound level:
- Set the dial and leave it there.
Taking a minute to do this now will help to prevent hearing damage or loss in the future. After all, we want you listening for a lifetime.
We Want You Listening for a Lifetime
Used wisely, your new sound equipment will provide a lifetime of fun and enjoyment. Since hearing damage from loud noise is often undetectable until it is too late, this manufacturer and the Electronic Industries Association’s Consumer Electronics Group recommend you avoid prolonged exposure to excessive noise.
Customer’s Record:
The serial number of this product is found on its bottom. You should note the serial number of this unit in the space provided as a permanent record of your purchase to aid in identification in the event of theft of loss.
LOCATION OF CONTROLS
Main unit Front
- ALARM 1 INDICATOR (ALARM)
- ALARM 1 INDICATOR (RADIO)
- ALARM 1 INDICATOR (VIBRATOR)
- SLEEP TIMER INDICATOR
- ALARM 2 INDICATOR (ALARM)
- ALARM 2 INDICATOR (RADIO)
- ALARM 2 INDICATOR (VIBRATOR)
- MEMORY INDICATOR
- USB CHARGING PORT
- PM INDICATOR

Main UNIT Top - ▼ DOWN BUTTON
- PAIR / VOLUME/ RADIO BUTTON
- RADIO ON / SLEEP TIMER BUTTON
- TIME SET / MEMORY RADIO BUTTON
- SNOOZE / RADIO OFF BUTTON
- ALARM SET BUTTON
- ALARM 1 BUTTON
- ALARM 2 BUTTON
- ▲ UP BUTTON
Main Unit Back - ROTARY DIMMER CONTROL
- SPEAKER
- BATTERY DOOR
- DC IN JACK
- FM ANTENNA
- RADIO BAND SELECTOR
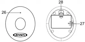
Wireless Under Pillow Vibrator - STATUS INDICATOR
- HI/MED/LO SELECTOR
- BATTERY DOOR

POWER SOURCE (AC ADAPTOR ONLY)
The JCR-255 MAIN UNIT is powered by an external AC-DC adaptor (included) with an output of DC 5V
3A
.
The unit is also equipped with a battery back-up system for the clock that uses 1 x CR2032 lithium battery (Included).
POWER CONNECTION
- Connect the cord of the power adaptor to the DC IN JACK (#23) of the JCR-255.
- Plug the power adaptor into a household wall socket. The unit is powered up and in standby mode when you see the display turn on.
Battery Back-up system
- The radio is equipped with a battery back-up system that requires a 3V
CR2032 lithium battery (included). Open the BATTERY DOOR (#22) located on the back of the unit with a coin and remove the battery insulator tab. Re-insert the battery into the battery compartment and make sure the positive and negative (+ or -) sides of the battery are in contact with the corresponding terminals located in the battery compartment. Re-place the BATTERY DOOR (#22). - If a power outage occurs, the unit automatically switches to the battery power supply and keeps the clock and timer settings.
- When replacing the battery, do not disconnect the power adaptor. Otherwise, all clock and alarm settings will be lost.
BATTERY WARNING
DO NOT INGEST BATTERY, CHEMICAL BURN HAZARD
This product contains a coin/button cell battery. If the coin/button cell battery is swallowed, it can cause severe internal burns in just 2 hours and can lead to death.
Keep new and used batteries away from children. If the battery compartment does not close securely, stop using the product and keep it away from children.
If you think batteries might have been swallowed or placed inside any part of the body, seek immediate medical attention.
The JCR-255 Wireless Under Pillow Vibrator is powered by 3 x AAA batteries (not included). For best performance and longer operating time, we recommend using alkaline batteries.
INSTALLING THE BATTERIES
- Remove the BATTERY DOOR (#28) on the bottom of the under pillow vibrator.
- Follow the polarity diagram shown inside the battery compartment and insert 3 X ‘AAA size (UM-4) batteries. Replace the BATTERY DOOR (#28).
- The STATUS INDICATOR (#26) will flash for 15 seconds.
- Press the PAIR BUTTON (#12) on the top of the JCR-255 when the STATUS INDICATOR (#26) is flashing.
- The under pillow vibrator will vibrate briefly to confirm it’s paired with the clock.
Note:
The STATUS INDICATOR (#26) will flash when the battery is low. Repeat the steps above to replace the batteries when this occurs.
BATTERY WARNING
- Be sure the batteries are installed correctly. Wrong polarity may damage the unit.
- Use only the size and type of batteries specified.
- Do not mix old and new batteries.
- Do not mix alkaline, standard (carbon-zinc) or rechargeable (nickel cadmium) batteries.
- If the unit is not to be used for an extended period of time, remove the batteries.
Old or leaking batteries can cause damage to the unit and may void the warranty. - Do not try to recharge batteries not intended to be recharged; they can overheat and rupture. (Follow battery manufacturer’s directions).
- Do not dispose of batteries in fire, batteries may leak or explode.
IMPORTANT: LED DISPLAY DIMMER CONTROL
If the LED display is OFF or very dim when you first plug the unit it, you will need to adjust the ROTARY DIMMER CONTROL (#20) located on the back of the unit.
Rotate the ROTARY DIMMER CONTROL (#20) to set the brightness of the display before proceeding. You can readjust the dimmer control later to make it brighter or dimmer if needed.
STANDBY MODE
Standby Mode is when the unit is first plugged into an AC power source (display flashing), or after all the settings have been made and the time is showing on the display. The radio is off, no buttons are pressed and no alarms are sounding.
SETTING THE TIME
The display will be flashing when the unit is plugged in for the first time. Tap the TIME SET BUTTON (#14) to go to the Time Set Mode. Setting the Time
- In standby mode, Press the TIME SET BUTTON (#14) until the hour digits of the clock display begins to flash.
- Repeatedly tap the ▲ UP BUTTON (#19) or ▼ DOWN BUTTON (#11) to set the hour. Press and hold the buttons for fast advance/reverse setting. Make sure the correct AM or PM time is selected when setting the hour.
Note: The PM INDICATOR (#10) is located in the lower part of the display and centered below the “ : ” that separates the hour digits from the minute digits. The PM INDICATOR (#10) will light when the hour digits selected are for PM time. The PM INDICATOR (#10) will be off when the hour digits selected are for AM time. - Tap the TIME SET BUTTON (#14) to confirm the time and the minute digits will blink.
- Repeatedly tap the ▲ UP BUTTON (#19) or ▼ DOWN BUTTON (#11) to set the minute. Press and hold the buttons for fast advance/reverse setting.
- Tap the TIME SET BUTTON (#14) to confirm and complete the time setting. The display will stop blinking.
Note: The unit will automatically save the settings and exit the time set mode if you do not press any buttons within 10 seconds.
ALARM OPERATION
The JCR-255 features a dual alarm clock.
Setting the alarm time:
- In standby mode, press the ALARM SET BUTTON (#16), one of the alarm 1 indicators will light and the hour of the alarm 1 time will blink.
- Tap the ▲ UP BUTTON (#19) or ▼ DOWN BUTTON (#11) to set the hour. Press and hold the buttons for fast advance/reverse setting.
- Tap the ALARM SET BUTTON (#16) to confirm the hour setting, the minute digits will blink to prompt for input.
- Tap the ▲ UP BUTTON (#19) or ▼ DOWN BUTTON (#11) to set the minute.
Press and hold the button for fast advance/reverse setting. - Tap the ALARM SET BUTTON (#16) to to confirm the minute setting. One of the alarm 2 indicators will light and the hour of the alarm 2 time will blink
- Tap the ▲ UP BUTTON (#19) or ▼ DOWN BUTTON (#11) to set the hour. Press and hold the buttons for fast advance/reverse setting.
- Tap the ALARM SET BUTTON (#16) to confirm the hour setting, the minute digits will blink to prompt for input.
- Tap the ▲ UP BUTTON (#19) or ▼ DOWN BUTTON (#11) to set the minute.
Press and hold the button for fast advance/reverse setting. - Tap the ALARM SET BUTTON (#16) to confirm and complete the alarm time setting.
Setting the “wake to” alarm source:
- In Standby or radio mode, tap the ALARM 1 BUTTON (#17). The ALARM 1 time will show on the display and the current ALARM 1 status indicator will light on the left side of the display. If no indicator is lit in means ALARM 1 of currently set to OFF.
- Repeatedly tap the ALARM 1 BUTTON (#17) to select the alarm source.
Wake to Alarm – ALARM 1 INDICATOR (ALARM) (#1) lights.
Wake to Radio – ALARM 1 INDICATOR (RADIO) (#2) lights.
Wake to Vibrator – ALARM 1 INDICATOR (VIBRATOR) (#3) lights.
Slide the HI/MED/LO SELECTOR (#27) on the vibrator to adjust the vibration speed of the under pillow vibrator.
Alarm OFF – All ALARM 1 indicators on the left side of the display are OFF. - The Alarm will sound for 60 minutes at the time you entered. The vibrator will vibrate 3 minutes for power saving.
- Setting ALARM 2 will follow the same steps as ALARM 1 above, but you will be using the ALARM 2 BUTTON (#18) and the ALARM 2 indicators will be on the right side of the display.
Turning OFF the alarm
- When the alarm sounds, the corresponding alarm indicator will flash.
- Press any button except for the SNOOZE BUTTON (#15) to turn off the alarm sound or under pillow vibrator.
Notes: - For setting a one-day alarm, just set the desired alarm time one day before.
- The alarm will activate at the time set the day prior. After having switched off the alarm sound, tap the corresponding alarm button to disable the alarm (the alarm indicator will off).
- To set another one-day alarm, just repeat the above steps.
SNOOZE FUNCTION
When the alarm sounds, tap the SNOOZE BUTTON (#15) on the top panel to temporarily turn off the alarm and activate the SNOOZE function. The alarm will stop and turn on again 9 minutes later. This can be repeated when the alarm sounds again.
NOTES:
- The corresponding Alarm 1 or Alarm 2 indicator (alarm/radio/vibrator) flashes on the display during the snooze period.
- To cancel the SNOOZE function and the alarm, press any button except the SNOOZE BUTTON (#15).
RADIO OPERATION
Listening to the radio
- Press the RADIO ON BUTTON (#13) to turn on the radio.
- Slide the RADIO BAND SELECTOR (#25) located on the back of the unit to select the AM or FM band.
- The frequency will show on the LED display. Tap the ▲ UP BUTTON (#19) or ▼ DOWN BUTTON (#11) to adjust frequency.
- Press and hold the ▲ UP BUTTON (#19) or ▼ DOWN BUTTON (#11) to automatically tune to the next or previous available station.
- Tap the VOLUME RADIO BUTTON (#12). The volume level will show on the LED display.
- Tap the ▲ UP BUTTON (#19) or ▼ DOWN BUTTON (#11) to obtain the desired volume level.
- Press the RADIO OFF BUTTON (#15) to turn the radio OFF.
Notes:
- Use manual tuning to select weaker stations that might be skipped during automatic tuning.
- If the automatic tuning does not stop on the exact frequency of the station, for example, it stops on 88.9 MHz instead of 88.8 MHz, use the manual tuning method to “fine tune” to the exact frequency of the desired station.
- In radio mode, the display will automatically switch back to showing the time after a few seconds.
- When listening to the radio, you can check the frequency of the station you are listening by tapping the RADIO ON BUTTON (#13) once.
Tips for best radio reception
AM – The AM antenna is built inside the radio. If AM reception is weak, change the position of the unit until the internal antenna picks up the strongest signal.
FM – If FM reception is weak, fully extend the FM ANTENNA (#24) and vary the position and location of the antenna until you find the strongest signal.
To set / recall the radio presets
The unit allows you to store up to 10 FM stations and 10 AM stations for easy recall at any time.
- Press the RADIO ON BUTTON (#13) to turn on the radio.
- Slide the RADIO BAND SELECTOR (#25) to select AM or FM band.
- Tap the ▲UP BUTTON (#19) or ▼ DOWN BUTTON (#11) to select the desired station.
- Press and hold the MEMORY BUTTON (#14) until “XX” (the existing preset slot) and the MEMORY INDICATOR (#8) will blink.
- Tap the ▲ UP BUTTON (#19) or ▼ DOWN BUTTON (#11) to select a preset number (01-10).
- Press the MEMORY BUTTON (#14) again to confirm the preset.
- Repeat steps 2 through 6 to preset up to 10 FM stations and 10 AM stations.
- To recall one of the preset stations already programmed, tap the MEMORY BUTTON (#14) repeatedly until you reach the desired preset number/radio station.
SLEEP OPERATION
The SLEEP TIMER feature allows you to turn off the radio automatically after a designated time has elapsed.
- Press the RADIO ON BUTTON (#13) to turn on the radio.
- Tap the ▲ UP BUTTON (#19) or ▼ DOWN BUTTON (#11) to select the desired station.
- Double tap the SLEEP TIMER BUTTON (#13) to enter sleep mode. The SLEEP TIMER INDICATOR (#4) will light.
- Repeatedly tap the SLEEP TIMER BUTTON (#13) to select the sleep timer 05 – 10 – 15 – 30 – 45 – 60 – 75 – 90 – OFF (in minutes). The unit will play for the selected length of time then turn off automatically.
- To cancel the sleep timer, repeatedly tap the SLEEP TIMER BUTTON (#13) until the timer shows OFF.
- To turn the unit “Off” before the selected length of time, press the RADIO OFF BUTTON (#15) at any time.
Note: In clock time display mode, double tap the SLEEP TIMER BUTTON (#13) once to check the remaining sleep time.
USB CHARGING
THE JCR-255 FEATURES A FRONT MOUNTED USB CHARGING PORT (DC 5V
2A) FOR CHARGING YOUR CELL PHONE.
- Plug the standard end of the USB cable (not included) into the USB CHARGING PORT (#9) located on the front of the unit. Plug the other end of the cable into the device you wish to charge.
- Observe the battery charge indicator on your device to make sure the charging process starts normally.
- Unplug the cable when your device is fully charged.
WARNING!
- The USB CHARGING PORT (#9) located on the front of the unit is designed for a smart phone or portable device battery charging only and does not support data transfer or connection to a computer.
- Don’t connect the USB CHARGING PORT (#9) of the unit to another USB charger.
It may damage both units and void the warranty.
CARE AND MAINTENANCE
- Clean the radio with a soft damp cloth and let all parts dry completely after cleaning.
- Do not use any aggressive cleaners, brushes with nylon bristles, sharp or metallic cleaning utensils, knives, hard scrapers and the like. They could damage the surfaces of the unit.
- Do not immerse the unit in water and do not let water getting into the housing of the radio.
- Unplug the power adaptor and clean the unit before storage.
- Always store the radio in a dry and clean place.
SPECIFICATIONS
| Power | AC Adaptor: Input AC 100-240V ~ Output: DC 5V |
| Backup battery: | 1 x 3V |
| Frequency Range: | FM 87.5 – 108 MHz AM 520 – 1710 KHz |
TROUBLESHOOTING GUIDE
If you experience difficulties in the use of this clock radio, please check the following or call 1-800-777-5331 for Customer Service and support.
| SYMPTOM | POSSIBLE CAUSE | POSSIBLE SOLUTION |
| Power does not come on | Power adaptor connection is unstable | Reconnect the adaptor |
| No sound | VOLUME control is turned down | Increase the Volume |
| Noise or the sound is distorted listing to the radio |
|
|
| No charging from the USB port | The USB cable is damaged or not securely attached | Replace the USB cable or try reconnect it again |
At Spectra, environmental and social responsibility is a core value of our business. We are dedicated to continuous implementation of responsible initiatives with an aim to conserve and maintain the environment through responsible recycling.
Please visit us at http://www.spectraintl.com/green.htm for more information on Spectra’s green initiatives or to find a recycler in your area.
90 DAY LIMITED WARRANTY AND SERVICE VALID IN THE U.S.A. ONLY
SPECTRA MERCHANDISING INTERNATIONAL, INC. warrants this unit to be free from defective materials or factory workmanship for a period of 90 days from the date of original customer purchase and provided the product is utilized within the U.S.A.
This warranty is not assignable or transferable. Our obligation under this warranty is the repair or replacement of the defective unit or any part thereof, except batteries, when it is returned to the SPECTRA Service Department, accompanied by proof of the date of original consumer purchase, such as a duplicate copy of a sales receipt.
You must pay all shipping charges required to ship the product to SPECTRA for warranty service. If the product is repaired or replaced under warranty, the return charges will be at SPECTRA’s expense. There are no other express warranties other than those stated herein.
This warranty is valid only in accordance with the conditions set forth below:
- The warranty applies to the SPECTRA product only while:
a. It remains in the possession of the original purchaser and proof of purchase is demonstrated. b. It has not been subjected to accident, misuse, abuse, improper service, usage
outside the descriptions and warnings covered within the user manual or nonSPECTRA approved modifications.
c. Claims are made within the warranty period. - This warranty does not cover damage or equipment failure caused by electrical wiring not in compliance with electrical codes or SPECTRA user manual specifications, or failure to provide reasonable care and necessary maintenance as outlined in the user manual.
- Warranty of all SPECTRA products applies to residential use only and is void when products are used in a nonresidential environment or installed outside the United States.
This warranty gives you specific legal rights, and you may also have other rights which vary from state to state. TO OBTAIN SERVICE please remove all batteries (if any) and pack the unit carefully and send it freight prepaid to SPECTRA at the address shown below. IF THE UNIT IS RETURNED WITHIN THE WARRANTY PERIOD shown above, please include a proof of purchase (dated cash register receipt) so that we may establish your eligibility for warranty service and repair of the unit without cost. Also include a note with a description explaining how the unit is defective. A customer service representative may need to contact you regarding the status of your repair, so please include your name, address, phone number and email address to expedite the process.
IF THE UNIT IS OUTSIDE THE WARRANTY PERIOD, please include a check for $15.00 to cover the cost of repair, handling and return postage. All out of warranty returns must be sent prepaid.
It is recommended that you contact SPECTRA first at 1-800-777-5331 or by email at [email protected] for updated information on the unit requiring service. In some cases, the model you have may be discontinued, and SPECTRA reserves the right to offer alternative options for repair or replacement.
SPECTRA MERCHANDISING INTERNATIONAL, INC.
4230 North Normandy Avenue, Chicago, IL60634, USA. 1-800-777-5331
To register your product, visit the link on the website below to enter your information. http://www.spectraintl.com/wform.htm

























