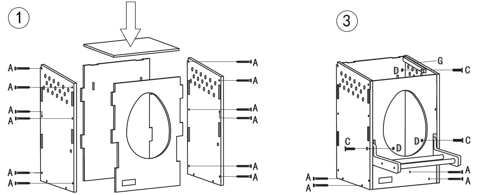
73149 Chicken Laying
Nest Instructions
73149 Chicken Laying Nest



| Albert Kerbl GmbH Felizenzell 9 84428 Buchbach, Germany Tel. +49 8086 933 – 100 Fax +49 8086 933 – 500 E-Mail [email protected] www.kerbl.de | Kerbl Austria Handels GmbH Wirtschaftspark 1 9130 Poggersdorf Tel. +43 4224 81555 Fax. +43 4224 81555-629 E-Mail [email protected] www.kerbl-austria.at | Kerbl France Sarl 3 rue Henri Rouby, B.P 46 Soultz 68501 Guebwiller Cedex, France Tel. +33 3 89 62 15 00 Fax +33 3 89 83 04 46 E-Mail [email protected] www.kerbl-france.com |
73149=BA_Legenest_1221









