

User manual

Combi Drum 30000 Pump fed Filter
Pump-fed combi drum filter – Pumpengespeister Kombi-Trommelfilter Filtre
SuperFish Koi Pro Combi Drum 30000 Pump fed filter.
General instructions
Read this manual carefully before using this device. Keep this manual for future reference.
Meaning of symbols
The following warning symbols and/or signal words are used in this manual:
DANGER!
This means an imminent danger due to electric current. Failure to follow the safety instructions can result in serious or fatal injury and/or serious damage to the product or environment.
WARNING!
This means a dangerous situation. Failure to follow the safety instructions can result in moderate or minor personal injury and/or damage to the product or environment.
NOTICE!
This means caution, useful information or advice.
Fig. … This refers to the relevant drawing … on pages 2 and 3 of this manual.
Meaning of the symbols on the device itself:
Risk of electric shock. Connect only to an earthed electrical outlet, protected by a residual-current device (RCD)/ ground-fault-circuit-interrupter (GFCI).
his device complies with all applicable EU standards.
This device may not be disposed of with normal household waste but must be collected separately for recycling.
Use
The pump-fed filter system, suitable for Koi and fish ponds up to 30,000 liters.
Suitable for water temperatures of minimum 4°C to maximum 40°C. At water temperatures below or above these values, the device must be completely disconnected from the power supply- If water inside the filter freezes, drain off the water and ensure that the filter is dry.
- Do not use for filtration of salt water, sewage water, flammable, corrosive, and/or explosive liquids (e.g. petroleum petrol, solvents), fats, oils, or foodstuffs.
- Never run the device without water.
- Do not use swimming pools and do not connect to drinking water supplies.
- Place the filter in a dry and sheltered place. Not in direct sunlight.
Safety
Always follow the safety instructions below for safe use of the device. Failure to follow these instructions may endanger persons or the environment. Please refer to the user manual for the immersion UVC to ensure the specific safety instructions are followed.
- This device must be supplied through a residual current device (RCD) having a rated residual operating current not exceeding 30 mm.
- Ensure the voltage shown on the label matches the main supply voltage.
- This device must be connected to a socket that is earthed.
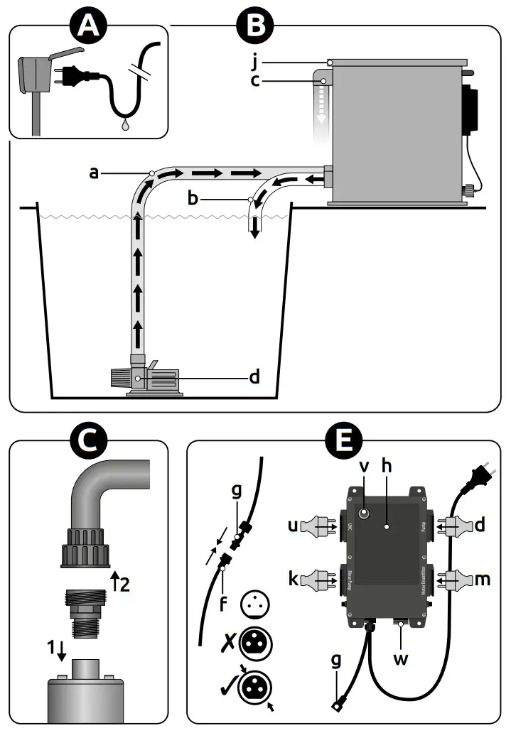
- Protect the socket and plugs against moisture. Use a drip loop to ensure that water can not reach the sockets and control box via the cords (see Fig. A).
- Place the control box in a dry place, to ensure protection from moisture and flooding.
- Don’t use the device if any electrical components, cords, or plugs are damaged. A damaged cord or plug cannot be replaced. Replace the complete part or return the device to your dealer for repair or recycling.
- Be careful with the combination of water and electricity. Do not operate with wet hands. Dry hands before carrying out maintenance.
- Always switch off all devices in the pond before maintenance. Disconnect the plug(s) from the socket.
- When removing the lid for maintenance, always switch off the appliance and unplug the control box.
- This device contains rotating parts, prevent loose clothing, long hair, and jewelry from being trapped.
- This device may only be switched on if there is sufficient water flow.
- In the event of frost or the risk of frost, appropriate precautions must be taken to prevent it from freezing.
- This device can be used by children aged from 8 years and above, persons with reduced physical, sensory or mental capabilities or lack of experience and knowledge, if they have been given supervision or instructions concerning the use of the device in a safe way and understand the hazards involved. Children shall not play with the device. Cleaning and maintenance of the device shall not be done by children without supervision.
- Modifications to the device may affect safety. The warranty will also expire.
- Aquadistri is not liable for any problems, damage or accidents due to incorrect use of this device.
Function
The complete low-maintenance 2-chamber filter system, consisting of a chamber with a drum filter and UVC, including a chamber for biological filtration. The drum filter works as a pre-filter removing dirt out of the water using a sieve mechanic. If the screen is saturated with dirt, an automatic spray system rinses the screen clean and the dirt runs into a drain. The built-in UVC reduces algae growth. The biological chamber can be optionally filled with Japanese matting or Aqwise filter media for floating bed filtration.

Installation
Fig. B Determine the location of the filter. Provide a dry sheltered place (not in direct sunlight) and a stable flat surface with sufficient space around for maintenance.
NOTICE! Ensure that the filter is fully supported, level, and above the water level of the pond.- Place a suitable pump (max. pump capacity 17,500 L/h) preferably in the deepest part of the pond.
- Connect the pump to one of the inlets (a) (ø 110 mm) of the filter using a flexible socket. Close the other inlet with the cap provided.
NOTICE! The pipe connections (ø 110 mm) on the filter can NOT be glued, use flexible rubber sockets. - Connect both outlets (b) (ø 110 mm) to the return line to the pond using flexible sockets.
- Connect the drain channel (c) (ø 110 mm) to a drain (e.g. sewer) using a flexible socket.
Fig. C Unscrew the plastic coupling from the bottom of the intake pipe (l) of the spray system. - Remove the rinse pump (k) from its packaging and screw the plastic connector into the top of the rinse pump by hand.
- Place the hole under the intake pipe (l) of the spray system and tighten the lock nut firmly.
- Place the capacitor box of the rinse pump in a safe and dry place near the filter.
NOTICE! The rinse pump on/off switch is located on the side of the capacitor box, make sure it is switched on when you put the system into operation.
Fig. D Connect an air pump (min. 1200 L/h, not supplied) to the quick-connection (q) of the filter using a ø 12 mm reinforced air tube (not supplied). - Remove the protective cap from the air stone inlet (e) and connect the transparent air tube (p).
- Install the immersion UVC (u) (check the separate user manual of the UVC for correct installation).
- Switch the pond pump on to fill the filter with water and check all connections, pipes, etc. for any leaks. Then switch the pond pump off again.
- Check if the immersion UVC is completely underwater. The UVC may only be switched on if it is completely submerged.
Fig. E Place the control box (h) in a safe and dry place near the filter. - Connect the cable (f) of the floater (s) with the cable (g) of the control box. This DMX connection is watertight and therefore sometimes difficult to fit (if required, squeeze the outside of the mating plug (f) while inserting the other plug). Tighten the union nut hand-tight.
- Insert the plugs of the rinse pump (k), immersion UVC (u), electromotor (m), and pond pump (d) into the appropriate sockets on the control box. See markings on the control box. Provide the cables with drip loops so that no water can run along with the cables into the control box.
- Plug the control box into the socket, making sure there is a drip loop here as well.
- Activate the system with the switch (w) on the bottom of the control box. The pond pump and UVC are now activated
- The filter fills up to the lowest position of the floater (Filtration mode).
Fig. F The floater has three different switching positions. The lowest position is the normal Filtration Mode (pond pump and UVC are switched on) the middle position is the Cleaning Mode (pond pump, UVC, and the electromotor and rinse pump are switched on). The highest position is the Safety mode (everything is switched off/ level protection) This floater is set to the correct height and is not adjustable.

- Now manually check the operation of the electromotor and rinse pump (cleaning mode). Press and hold the push button (v) on the control box for 10 seconds. The drum (o) starts rotating and the spraying system (n) sprays the screen clean with high pressure. The rinse water and dirt are collected in the drain (c).
- This Cleaning Mode activates automatically every 20 to 30 minutes. As the screen becomes saturated, the water level in the front chamber rises, causing the floater to activate the Clean Mode. The drum rotates and the screen is cleaned under high pressure. The water level then drops again, activating the Filtration mode.
NOTICE! At the beginning (after installation and start-up of the pond) the flushing operation will be shorter. As the contamination with floating debris decreases, the time between flashes will increase.- Should the water level in the front chamber continue to rise, the floater automatically activates Safety mode. The pond pump, UVC, rinse pump, and electromotor are switched off.
NOTICE! The screen is automatically rinsed with water from the filter, therefore the filter system requires little maintenance. However, the water level of the pond must be replenished daily. This can be up to 100 liters per day, depending on the number of rinses.- The water flows via a passage into the second filter chamber (t), which can be used for biological filtration.
- Fill the second filter chamber with the Combi Drum Japanese Matting Cartridge (Art. N6050130) or Aqwise filter media of your choice. Turn on the air pump enabling the operation of the biological filter.
- Place the cover (j) on the housing. When removing the cover, always disconnect the power supply!
Maintenance
- The drum filter requires monthly maintenance.
Remove the plug/plugs from the mains before carrying out maintenance!- Remove the cover from the housing.
- Turn the drum by hand and check the screen panel for wear and tear and any damage (see text: Replacing the screen panel for more information).
- Check the drain channel and remove any dirt or blanket weed that may have accumulated.
- Check the separate user manual for maintenance of the UVC.
- Annually check the air stone (p) and replace the air stone if damaged or clogged.
- Japanese matting hardly requires any maintenance, cleaning bacteria develop and attach themselves in the mats and ensure biological filtration. When rinsing clean you remove these useful bacteria which disrupts the biological filtration.
- A wise floating bed filter media requires no maintenance, as it is self-cleaning.
- The filter partition (d) can be removed for maintenance, by sliding it upwards. After maintenance replaces the filter partition correctly with the gutter at the top.
Replacing the screen panel
- In case of wear or damage, the screen panel should be replaced as soon as possible to ensure optimum filter performance.
Remove the plug(s) from the socket and close the water circuit.- Remove the lid from the housing.
- Ensure that the water can flow out of the filter.
Fig. G Turn the drum by hand until the mounting strip (y) and both clamping straps (z) point upwards. - Remove the mounting strip by unscrewing the screws and loosening the clamping straps.
- Remove the screen panel (x).
- Insert the new screen panel and reinstall the clamping straps and mounting strip correctly.
- Turn the drum by hand and verify that everything is fixed correctly.
- Place the lid back on the housing.
- Restore the water circuit and plugin again.
- Press and hold the push button (v) on the control box for 10 seconds so that the electromotor and spraying system are activated again.
Protection of electromotor by means of friction clutch
- The drive shaft of the electromotor is protected by means of a friction clutch. If the drum becomes jammed, the friction clutch is automatically activated to prevent the electric motor from burning out.
Remove the plug(s) from the mains and remove the lid from the housing.- First, investigate why the drum is blocked and make sure the drum can rotate freely again.
- Thereafter you can release the protection by retightening the locknut on the drive shaft with a torque spanner set at 65 Nm.
NOTICE! Never tighten the locknut with a normal spanner. If in doubt, always consult a qualified technician!- Remove the cover of the electric motor (m).
- Set the torque spanner to a tightening torque of 65 Nm.
- Place the torque spanner on the M10 locknut. The locknut is located on the driveshaft at the back of the motor.
- Hold the drum with your hand and tighten the locknut with the torque spanner.
- Check that the friction clutch is deactivated. Turn the drum by hand and check that the drive shaft rotates with it.
- Place the cover back on the electromotor, the lid on the housing, and plug(s) back into the mains.
Bypass of the drum filter
- The drum filter can be bypassed in case of treatment or technical challenges.
- Switch off the control box and remove the lid from the housing.
- Remove the two red caps (r) from the wall between the front chamber and the drum section.
- Remove the plug of the pond pump from the control box and plug it directly into another socket.
- The water now flows through these holes into the second filter chamber.
NOTICE! The control box is switched off, which means that the level protection no longer works either!
Recycling
This symbol indicates that this product (if it is discarded) may not be disposed of with normal household waste. Instead, it must be handed in at an official collection center (e.g. HWRC). Or can be returned to the dealer when purchasing a similar new product. Follow the applicable rules in your country for the separate collection of electrical and electronic products. Separate collection and recycling are better for the environment, public health and reduce waste.
Warranty
2 years manufacturer’s warranty on materials and construction defects. Devices must be returned complete with all components, accompanied with an official proof of purchase confirming a purchase date for any warranty claims. Incomplete devices of which parts are missing, and devices without proof of purchase are not eligible for warranty. After receiving and checking, we will determine whether the device will be repaired or replaced. For a device repaired or replaced under warranty, the remaining time of the original warranty period applies. Carefully read the instructions on installation, use, and maintenance. Damage due to incorrect use, damage due to contamination or not cleaning the device, glass breakage, and damage to the cord are not covered by the warranty. Always keep the proof of purchase, without proof of purchase the warranty will be void!
www.aquadistri.com
Vlietweg 8, NL-4791 EZ Klundert The Netherlands, [email protected] ![]()



















