JVC SP-AD105-B SPX1 Portable Speaker Instruction Manual
Safety Warnings
- Read all the instructions carefully before using the unit and keep them for future reference.
- Retain the manual. If you pass the unit onto a third party make sure to include this manual.
Damage
- Please inspect the unit for damage after unpacking.
- Do not continue to operate the unit if you are in any doubt about it working normally, or if it is damaged in any way – switch off and consult your dealer.
Location of Unit
- The unit must be placed on a flat stable surface and should not be subjected to vibrations.
- Do not place the unit on sloped or unstable surfaces as the unit may fall off or tip over.
- Do not place the unit close to table edge. It may fall off due to vibration during high volume listening.
Temperature
- Avoid extreme degrees of temperature, either hot or cold. Place the unit well away from heat sources such as radiators or gas/electric fires.
- Avoid exposure to direct sunlight and other sources of heat.
Naked Flames
- Never place any type of candle or naked flame on the top of or near the unit.
Moisture
- Do not submerge this unit in water. It can cause serious damage.
Water Resistance
- This product is In compliance with IPX6.
- To ensure the water resistance of the unit, all covers for the USB port must be firmly closed.
- Even if your device is resistant to dust and water, you should avoid using it unnecessarily to environments with excessive dust, sand and mud or to moist environments with extreme high or low temperatures. The water resist ability cannot be guaranteed in all environments or conditions.
Ventilation
- To prevent the risk of electric shock or fire hazard due to overheating, ensure that curtains and other materials do not obstruct the ventilation vents.
- Do not install or place this unit in a bookcase, built-in cabinet or in another confined space. Ensure the unit is well ventilated.
Interference
- Do not place the unit on or near appliances which may cause electromagnetic interference. If you do, it may adversely affect the operating performance of the unit, and cause a distorted sound.
Built-in Battery Care
- Your product is powered by a built-in rechargeable battery.
- The battery can be charged and discharged hundreds of times, but will eventually wear out.
- Unplug the charger from the electrical plug and the product when not in use.
- Do not leave a fully charged battery connected to a charger, since overcharging may shorten its lifetime.
- If left unused, a fully charged battery will lose its charge over time.
- Leaving the product in hot or cold places, such as in a closed car in the summer and winter conditions, will reduce the capacity and lifetime of the battery.
- Always try to keep your device in a cool, moisture-free environment that’s less than 32°C. A product with a hot or cold battery may not work temporarily, even when the battery is fully charged. Battery performance is particularly limited in temperatures well below freezing.
- If you plan to store your device for longer than six months, charge the battery for an hour every six months to keep it fresh.
- The unit should be fully recharged after using the device each time. This will keep the health of the battery
Battery warning!
- The battery used in this product may present a risk of fire or chemical burn if mistreated.
- Do not attempt to open the product or replace the battery. It is built-in and not changeable. Use of other batteries may present a risk of fire or explosion and the warranty will be terminated.
- Only recharge your battery with the provided approved USB cable designated for this product.
- Dispose of batteries according to local regulations. Please recycle when possible. Do not dispose as household waste or in a fire as they may explode.
- Batteries may explode if damaged.
Supervision
- Children should be supervised to ensure that they do not play with the unit.
- Never let anyone especially children push anything into the holes, slots or any other openings in the case – this could result in a fatal electric shock.
Service
- To reduce the risk of electric shock, do not remove screws. The unit does not contain any user-serviceable parts. Please leave all maintenance work to qualified personnel.
- Do not open any fixed covers as this may expose dangerous voltages.
Maintenance
- Do not use any type of abrasive pad or abrasive cleaning solutions as these may damage the unit’s surface.
- Do not use liquids to clean the unit.
This equipment is a Class II or double insulated electrical appliance. It has been designed in such a way that it does not require a safety connection to electrical earth.
~ AC voltage: This symbol indicates that the rated voltage marked with the symbol is AC voltage.
DC voltage: This symbol indicates that the rated voltage marked with the symbol is DC voltage.
Useful Information and Licences
Visit Partmaster.co.uk today for the easiest way to buy electrical spares and accessories. With over 1 million spares and accessories available we can deliver direct to your door the very next day. Visit www.partmaster.co.uk or call 0344 800 3456 (UK customers only). Calls charged at National Rate.
The symbol on the product or its packaging indicates that this product must not be disposed of with your other household waste. Instead, it is your responsibility to dispose of your waste equipment by handing it over to a designated collection point for the recycling of waste electrical and electronic equipment. The separate collection and recycling of your waste equipment at the time of disposal will help conserve natural resources and ensure that it is recycled in a manner that protects human health and the environment.
For more information about where you can drop off your waste for recycling, please contact your local authority, or where you purchased your product.
The Bluetooth® word mark and logos are registered trademarks owned by Bluetooth SIG, Inc. and any use of such marks by DSG Retail Limited is under license. Other trademarks and trade names are those of their respective owners.
All trademarks are the property of their respective owners and all rights are acknowledged.

Thank you for purchasing your new product.
We recommend that you spend some time reading this instruction manual in order that you fully understand all the operational features it offers. You will also find some hints and tips to help you resolve any issues.
Read all the safety instructions carefully before use and keep this instruction manual for future reference.
Unpacking
Remove all items from the packaging. Retain the packaging. If you dispose of it please do so according to local regulations.
The following items are included:
- Main Unit
- Type-C charging cable
- Instruction Manual
- Safety Warnings
Product Overview
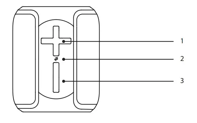
Front View

- VOLUME+ Button Press to increase the volume.
- NFC Sensor
- VOLUME– Button Press to decrease the volume.
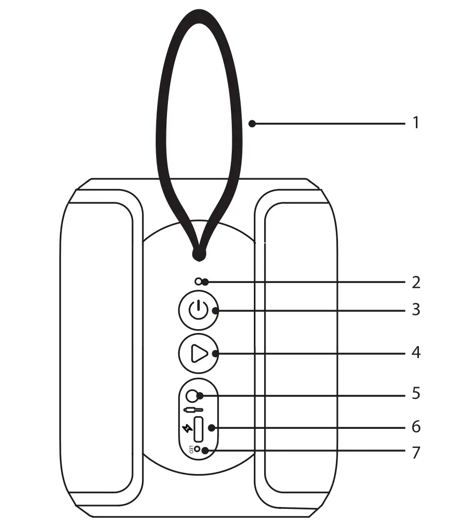
Rear View

- Strap String
- LED Indicator
ON/OFF Button
• Press to switch between Bluetooth® and AUX IN mode (if the unit is connected with a stereo audio cable [not included]).
• Press and hold to switch the unit on/off.
Play/Pause Button
• Press to play / pause / resume playback in Bluetooth® mode.
• Press to answer/end a phone call.
• Press and hold to reject an incoming call.
• Press twice to redial.
AUX IN Socket
Type-C Charging Socket- LED charging Indicator

Open the plastic cover at the rear of the unit for the connector panel shown above. Important Information about Water Resistant Operation
For proper water resistant operation, make sure the plastic jack cover of the unit is completely flush with the unit by pressing along the entire edge of the cover until it is completely and securely in place.
![]()
The unit is IPX6 splash proof rated. However, DO NOT immerse the unit in water. It may cause product failure.
- Make sure the jack cover and surrounding surfaces are completely dry before opening the jack cover to prevent moisture from damaging the internal electronics.
- Keep the jack cover free of dirt, sand, or other objects that ca interfere with proper sealing. If for any reason the jack cover is not making a tight waterproof seal water may enter the unit.
- DO NOT clean unit with oily soaps or use chemicals or solvents. Clean with damp cloth.
Charging the Speaker
The unit has a built-in rechargeable battery, which should be charged before using the speaker for the first time.
The battery is charged automatically whenever the unit is connected to a computer or a USB charging device.

- Connect the supplied Type-C charging cable to the speaker, and then connect the other end to a charging device.
- The LED charging indicator will light up RED during charging. It will go off automatically after fully charge.
![]()
- Type-C charging socket is for charging the unit only.
- Do not overcharge the battery as it may shorten its life. Disconnect the USB cable after the unit is fully charged.
- Please use a 5V/1A USB charger for charging to avoid the risk of damaging the unit.
![]()
- Use the supplied Type-C charging cable only, and connect directly to a computer or USB charging device. Charging will not be completed properly by an indirect connection, such as via a USB hub.
- If the unit is not used for a long time, the charging indicator may not light up when you connect the Type-C charging cable to charge the unit. In this case, do not disconnect the Type-C charging cable from the unit and wait until the charging indicator lights up.
- Charging time varies depending on conditions of use of the battery and the output voltage of your charging device.
- The unit will get warm during charging. This is not a malfunction.
Battery Life
When using the Bluetooth® connection, the speaker has approximately 8 hours of playback time in fully charge status and in medium sound level. Time stated above may vary, depending on ambient temperature or conditions of use.
When the Battery is Almost Empty
The LED indicator will flash quickly and the unit will prompt a warning tone. When the battery becomes empty, the speaker turns off automatically.
General Operation
Powering ON/OFF
- Press and hold
ON/OFF button to switch on the unit. - Press and hold
ON/OFF button to switch off the unit.
Automatic Power Off Function
If the speaker is left in any of the following conditions for more than approximately 15 minutes, it turns off automatically.
- No Bluetooth® connection has been established between the unit and the external mobile device.
- No audio input in AUX mode.
- When the battery becomes empty, the unit turns off automatically.
Adjusting the Volume
During playback, press + / – button on the unit to increase or decrease the volume.
True Wireless Stereo (TWS) Pairing
The unit supports true wireless stereo output with 2 speakers.
- Switch on both speakers at the same time. The LED light will flash in white.
- Press and hold the
Play/Pause button on one of the speakers. The LED light on this speaker will flash in white. - Switch on another speaker. Make sure its Bluetooth connection has been cleared.
- After both the speakers are paired, the LED light of both speakers will light up white.
Disconnect TWS pairing
- Press and hold the
Play/Pause button on either one of the speakers to disconnect the TWS Pairing.
![]()
- Before connecting your audio device to the speaker, make sure that both speakers are switched on and connected for stereo connection.
- The operation range between both speakers for wireless stereo connection is up to 2 metres.
Bluetooth® Operation
Switch the speaker on. The unit will find the last paired Bluetooth® device and connect automatically.
If there is no previously paired device found, the speaker will enter Bluetooth® pairing mode automatically. The LED light will flash in white.
Follow the steps below to pair the unit with a Bluetooth® device.
- Activate your Bluetooth® device and select the search mode.
“SP-AD105-B” will appear on your Bluetooth® device list. - Select “SP-AD105-B” and enter “0000” for the password if necessary.
If connect successful, the LED light will light up white. - To disconnect the Bluetooth® function
• Disable the function from your Bluetooth® device
• Press the
ON/OFF button twice.
![]()
- Connect the stereo audio cable (not included) to disable Bluetooth® mode.
- You can enjoy music wirelessly from a smartphone, mobile phone, or music player.
- The operational range between the unit and the device is up to 10 metres. Any obstacle between the device and the unit can reduce operational range.
- Before connecting a Bluetooth® device to the unit, ensure you know the device’s capabilities.
- Compatibility with all Bluetooth® devices is not guaranteed.
- Keep this player away from other electronic devices that may cause interference.
- The player will also be disconnected when your device is moved beyond the operational range.
NFC (Near Field Communication) Operation
Pair your NFC-enabled mobile device directly with this unit by just a single tap.
- Activate NFC on your mobile device.
- Hold your mobile device about or less than 1 cm close to the
icon of unit. The device vibrates or a message pops up. - To disconnect, hold the mobile device on the
icon of the unit to disconnect or disable NFC from your mobile device.
Listening to Music
Bluetooth® Mode
You can enjoy listening to music and basic remote control operation of a Bluetooth® device via a Bluetooth® connection. The Bluetooth® device is required to support the following Bluetooth® profiles.
- A2DP (Advanced Audio Distribution Profile): you are able to enjoy high-quality audio content wirelessly.
- AVRCP (Audio Video Remote Control Profile): use the unit to control play.
• To pause / resume playback, press
Play/Pause button once.
• To increase or decrease the volume, press +/–.
AUX IN Mode
Use a 3.5 mm to 3.5 mm stereo audio cable (not included) to connect the headphone socket of an audio device and the
AUX IN Socket of the unit.
- To increase or decrease the volume, press volume +/– .
- Operate your audio device directly for playback features.

Do not connect the unit to the device with output power more than 1V (e.g. DVD player) to avoid sound distortion. You may refer to the instruction manual of the external audio device for its output power.
Hand-free Calling
You can enjoy a hands-free call with a Bluetooth® smartphone or mobile phone that supports the Bluetooth® profile HFP (Hands-free Profile) or HSP (Headset Profile), via a Bluetooth® connection.
Call functions are only applicable if mobile phone is paired and connected with the speaker and both are switched on.
![]()
The function available may vary depending on the profile supported by your Bluetooth® smartphone or mobile phone. Even if the phone has the same profile, functions may vary depending on the specifications. Please refer to the manual supplied with your smartphone or mobile phone.
Answer an incoming phone call
When an incoming call arrives, press the
Play/Pause button to pick up the call.
Reject an incoming phone call
When an incoming call arrives, press and hold the
Play/Pause button to reject the call.
End a phone call
- Press the
Play/Pause button to end a call.
Redial a phone call
- Press the
Play/Pause button twice to redial a call.
Maintenance
Cleaning the Unit
![]()
Ensure the unit is fully removed the cables from the unit before cleaning.
- To clean the unit, wipe the case with a slightly moist, lint-free cloth.
- Do not use any cleaning fluids containing alcohol, ammonia or abrasives.
- Do not spray aerosol at or near the unit.
Hints and Tips
If a problem does occur, it may often be due to something very minor.
The following table contains various tips. If you require additional assistance,
- for UK, please call our UK Call Centre on 0344 561 1234.
- for Ireland, please call our Ireland Call Center on 1 890 818 575.


Product Fiche and Specifications

Features and specifications are subject to change without prior notice.
Declaration of Conformity
Hereby, DSG Retail Ltd., declares that this product is in compliance with Directive 2014/53/EU. The full text of the EU declaration of conformity is available at the following internet address: https://www.teamknowhow.com
Click on SEARCH and enter the model number.

The product is distributed and warranted exclusive by DSG Retail Ltd.
“JVC” is the trademark of JVCKENWOOD Corporation,
used by DSG Retail Ltd. under license.
(SP-AD105-B-200716V1)



















