DEFENDER GUARD IP4MCB1 Plug-In Power Security Camera 
WHAT’S INCLUDED

FIRST, SOME LEARNING
Important: Guard Wi-Fi Camera will only work on 2.4 GHz frequency and is not compatible with 5.0 GHz networks.
Indicator Light Meaning
Solid: Initializing
Flashing: Camera not connected
Solid: Camera is connected Flashing: Camera-ready to connect
Tip: To turn off the Indicator Light, tap (• •) on the home screen, then select Device Details and then More to toggle the light off.
What You’ll Need
- High speed internet connection and wireless router
- Drill and or Phillips #2 screwdriver (Drilling template included)
- 3/32” drill bit for pilot holes
- 7/32” drill bit for wall anchors
- 7/8” long drill bit
- A compatible Android or iOS phone or tablet/iPad
- Ethernet cable (If you’d like a wired camera setup)
LET’S GET STARTED
Plug-In Your Camera
- You can also setup a wired ethernet connection. See pg. 13 for more details.

Download the App
- Download the Defender Guard app and follow the steps to create an account. An email account is required for verification.
- This App is compatible with iOS 9+ and Android 4.1+
SETTING UP YOUR CAMERA
IMPORTANT
- Before pairing, ensure your phone is connected to a 2.4 Ghz wifi network
- After powering on your device, wait 60 seconds for the LED to flash green before pairing.

- Tap + and Scan the QR code with your camera and follow the on-screen steps. Please turn the volume UP on your phone.

- When prompted, enter your Wi-Fi network password.

- Enter a device password to protect your camera.

- You must be on a 2.4 Ghz network for your cameras to connect.
- If you forget your password, press and hold the Reset button on your camera to restore the camera to factory settings.
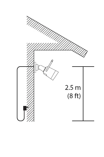
Position and Install Your Camera
Important: Before mounting your camera, use the app to test your Wi-Fi strength and video feed. Plug the camera in the area you’ll be monitoring and view your footage to ensure you have a clear and uninterrupted view. To check your network signal strength, navigate to the Home Screen, select Me > Tool > Wi-Fi Detection Tool
Note: Cement walls, exterior finishes, and thick insulation can significantly affect Wi-Fi strength. Detection takes about 60 seconds. Install your camera in a preferred place, at a height where you can clearly see faces. Make sure there is a nearby power outlet.
Tip: Your Guard Camera comes with a 25 ft. extension cable, giving you 35 ft. to mount your camera from the power outlet.

- Position the camera using the adjustable joints to ensure the best possible camera angle.

USING THE APPGet To Know Your Home Screen

See It All With Live View


Setting Up Motion Detection
- To access Detection Settings, navigate to the home screen, tap (• •), select Device Details and Detection.



- You can turn Motion Detection on or off.
- Select Detection Region Setting to set Activity Regions, reducing motion notifications from high movement areas, such as the road or a tree.

- Tap (or drag) the grid to set your motion detection area. Regions highlighted in orange will detect motion. No alarm will be triggered when motion is detected in the non-motion detection areas.
Select Detection Sensitivity to set your motion sensitivity level. 1 is a low sensitivity level, with 5 being the highest.

Tip: We recommend starting with level 2, as level 5 will result in significant alerts. Adjust as needed.
Setting Up Continuous Recording
- To access Continuous Recording settings, from the home screen, tap (• •), select Device Details > Local Storage Rule > General Record Storage



- Camera video will be continuously stored after enabled.
- Once your SD card is full, older footage will be overwritten.

- To set a schedule or record continuously, select Recording Schedule.

- Tap the Gear icon or any day of the week to add recording periods.

OPTIONAL WIRED SETUP
- These steps should be followed when your Wi-Fi network is not stable enough for a Wi-Fi connection or you intend to use this camera via a wired connection.
- Connect an ethernet cable (not included) from your router directly to your camera. The ethernet cable should always be connected from this step onwards.
- Once connected with ethernet, wait for the indicating light to be solid green means the camera is connected to the internet.
- Start adding the camera via the Guard App, it should automatically add and ask for a password to protect the camera just like the Wi-Fi option.

FREQUENTLY ASKED QUESTIONS
Is the Guard Camera Cordless?
Guard is a wireless device, transmits your footage without the use of video cables. It is not cordless. Guard must be plugged into a power source at all times, never risking a dead battery.
How Many Guard Cameras Can You Connect to One App?
You can pair up to 6 Guard cameras to the app and view up to 4 cameras in quad screen, at one time.
How Long is the Defender Guard Power Cord?
Included with your purchase is a 10ft. power supply and 25ft. extension cord. Additional extension cables are available if needed.
What are the Network Requirements to Use the Guard?
A 2.4 GHz Wi-Fi network connection is required. 5.0 GHz is not supported. For further assistance on connecting cameras, please contact Defender Support. (DefenderCameras.com/Support)
Can I View my Live or Recorded Footage from a Web Browser?
We do not offer web viewing. Footage can be viewed from the free Defender Guard app or from the SD card with a compatible device.
SHARE YOUR MOMENTS WITH US
moments@defendercameras.com#DefenderMomentsFb/defenderusainsta @DefenderCameras









Select Detection Sensitivity to set your motion sensitivity level. 1 is a low sensitivity level, with 5 being the highest.






![Defender 4k Ultra Hd Security Cameras User Manual [4k1t4b4, 4k2t8b8, 4k4t16b16] Defender 4k Ultra Hd Security Cameras User Manual [4k1t4b4, 4k2t8b8, 4k4t16b16]](https://static-data1.manualsee.com/1/img/62/61778/2021/02/Defender-4k-Ultra-HD-Security-Cameras-User-Manual-4K1T4B4-4K2T8B8-4K4T16B16.jpg)














