Leuchtendireckt 13571-60 Diy Pendant Light Brass Instruction Manual

Leuchtendireckt 13571-60 Diy Pendant Light Brass Instruction Manual

LeuchtenDireckt - logo13571-60 DIY Pendant Light Brass
Instruction Manual

LeuchtenDireckt 13571-60 DIY Pendant Light Brass996246/996247/ – DIY 996248/996249

DIY Pendant Light Brass

LED230V/50Hz
3x E27 max. 60W
LeuchtenDireckt 13571-60 DIY Pendant Light Brass - icon 1LeuchtenDireckt 13571-60 DIY Pendant Light Brass - icon 2
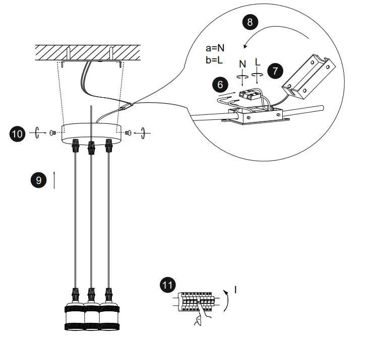
LeuchtenDireckt 13571-60 DIY Pendant Light Brass - partsLeuchtenDireckt 13571-60 DIY Pendant Light Brass - parts 2

LeuchtenDireckt - logoLeuchtenDirekt GmbH Olakenweg 36
sumsung HW A450 Soundbar wDolby Audio - Icon 21D-59457 Wed +49(0)2922 9721 9290
[email protected]
www.leuchtendirekt.de

References

Documents / Resouces

Download manual
Here you can download full pdf version of manual, it may contain additional safety instructions, warranty information, FCC rules, etc.


Related Manuals