TotalLEDS E39 400-Watt LED Corn Lamp Instruction Manual
IMPORTANT SAFEGUARDS
Before installation read these instructions thoroughly.
When using electrical equipment, basic safety precautions should always be followed including the following:
- Follow all national and local electrical and construction codes and regulations.
- Avoid all temptation to disassemble the Fixture and/or Power Box because there are no serviceable parts and tampering could cause shock.
- Comply with the maximum voltage ratings of the Fixtures and Power Box.
- Please cut off the electric current before installing.
- Please ask the professional electrician to install or service it.
- Please use the product in the required input voltage range.
- All internal driver led corn light from our company are non dimmable, please never use it with dimmer switch or inductive switch together.
- Led corn light is non-waterproof product, we recommend you to use it indoor, and never use it at outdoor directly, if you have to use it at outdoor, please add some safeguard procedures.
- To get a good heat dissipation for LED, the led corn light can’t be used in closed environment,if you have to use it at closed environment, you must ensure that the environment temperature in closed environment must be lower than 50 when the product working.
- The products has designed with high efficiency high precise constant current driver, you can connect with electric supply directly, and if you’ll use it to replace traditional high pressure sodium lamp or high pressure mercury lam, you must remove the ballast in the circuit at first, to avoid malfunction.
INSTALLATION
The installing of LED corn light include full new installing and replace installing.
Full new installing (the whole line new wiring installation)
Installing steps:
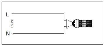
Step 1: Install the right lamp holder at the right location, the input end on the screw thread of the lamp holder connect with the null line of electric supply directly, the center of the input through control switch connect with the live of electric supply directly. (The switch must be turn off in advance)
Step 2: Install the reflector on the lamp holder. (If it’s necessary).
Step 3: Install the led corn light into the holder.
Step 4: Turn on the switch, and you can enjoy the brightness which the led corn light bring.

Replace installing(There has old circuit, just need to use led corn light to replace the old lamp.)
Installing steps:
Step 1: Turn off the switch at first, then take off the old HID system. (Secure incoming power)
Step 2: Take off the ballast for traditional lamp(If the circuit have ballast)
Step 3: Install the led corn light to the holde.
Step 4: Turn on the switch, and you can enjoy the brightness which the led corn light bring.

Step 1
Remove or bypass the Ballast,Capacitor and Flip-flop (if existing).
Remove HPS or MHL.
Note the input voltage to be appropriate.
Step 2
Reconnect directly to existing lampholder.
Note the input voltage to be appropriate.
Step 3
Install new LED corn light.
Note the input voltage to be appropriate
SAFETY NOTICE
![]()
- Please always use the light out of its package. Before starting use of the light, please check if the light was damaged during transportation. If any damage shown, please do not install or use it.
- Any maintenance should be performed by trained professionals only.
- Keep packaging materials away from the reach of children and pets. Risks of suffocation!
- Caution! The packaging contains small parts that may be swallowed by children.
- Never leave children unattended in the vicinity of the lights and do not allow them to play with electrical devices.
- Try to avoid looking directly in the LED beam-especially for extended periods of time.
- Do not shine the LED light in another person’s eyes.
- Never cover the light by other objects.
- The products need to re-repair, inspection or special treatment of retirement after service time.


















