FRENCH DOOR BOTTOM MOUNT REFRIGERATOR
OWNER’S MANUAL
REFRIGERATOR SAFETY
Your safety and the safety of others are very important.
We have provided many important safety messages in this manual and on your appliance. Always read and obey all safety messages.
This is the safety alert symbol.
This symbol alerts you to potential hazards that can kill or hurt you and others.
All safety messages will follow the safety alert symbol and either the word “DANGER” or “WARNING.” These words mean:
DANGER You can be killed or seriously injured if you don’t immediately follow instructions.
WARNING You can be killed or seriously injured if you don’t follow instructions.
All safety messages will tell you what the potential hazard is, tell you how to reduce the chance of injury, and tell you what can happen if the instructions are not followed.
IMPORTANT SAFETY INSTRUCTIONS
WARNING: To reduce the risk of fire, electric shock, or injury to persons when using your appliance, follow basic precautions, including the following:
- Children should be supervised to ensure that they do not play with the appliance.
- This appliance is not intended for use by persons (including children) with reduced physical, sensory, or mental capabilities, or lack of experience and knowledge, unless they have been given supervision or instruction concerning use of the appliance by a person responsible for their safety.
- Do not use an extension cord.
- If power supply cord is damaged, it must be replaced by the manufacturer, its service agent, or a similarly qualified person in order to avoid a hazard.
- Connect to potable water supply only.
- This appliance is intended to be used in household and similar applications such as: staff kitchen areas in shops, offices, and other working environments; farm houses and by clients in hotels, motels, and other residential-type environments; bed and breakfast-type environments; and catering and similar non-retail applications.
- Do not store explosive substances such as aerosol cans with a flammable propellant in this appliance.
- Do not use replacement parts that have not been recommended by the manufacturer (e.g., parts made at home using a 3D printer).
- Keep ventilation openings, in the appliance enclosure or in the built-in structure, clear of obstruction.
- Do not use mechanical devices or other means to accelerate the defrosting process, other than those recommended by the manufacturer.
- Do not damage the refrigerant circuit.
- Do not use electrical appliances inside the food storage compartmentsof the appliance, unless they are of the type recommended by the manufacturer.
- Do not use this appliance outdoors, in garage or in basement.
SAVE THESE INSTRUCTIONS
Proper Disposal of Your Old Refrigerator
WARNING : Risk of child entrapment. Before you throw away your old refrigerator or freezer:
- Take off the doors.
- Leave the shelves in place so that children cannot easily climb inside.
WARNING
Suffocation Hazard Remove doors from your old refrigerator. Failure to do so can result in death or brain damage.
IMPORTANT: Child entrapment and suffocation are not problems of the past. Junked or abandoned freezers or refrigerators, are still dangerous, even if they will sit for “just a few days.” If you are getting rid of your old refrigerator or freezer, please follow these instructions to help prevent accidents.
Important information to know about disposal of refrigerants:
Dispose of refrigerator in accordance with Federal and Local regulations. Refrigerants must be evacuated by a licensed, EPA certified refrigerant technician in accordance with established procedures.
Getting Started
INSTALLATION CHECKLIST
✓ Electrical Power
| Electrical Shock Hazard Plug into a grounded 3 prong outlet. Do not remove ground prong. Do not use an adapter. Do not use an extension cord. Failure to follow these instructions can result in death, fire, or electrical shock. |
- Plug refrigerator into a earthed socket.
✓ Doors - If doors need to be removed during installation, see the “Remove and Replace Refrigerator Doors” and “Remove and Replace Freezer Door Fronts” sections.
- Doors seal completely.
- Refrigerator is level. Adjust leveling feet so they are snug against the floor.
- Doors are even across the top. (Use door alignment feature if necessary).
✓ Final Checks - Remove all shipping material.
- Set temperature controls to the recommended setting.
- Save instructions and other literature.
Unpack the Refrigerator
WARNING
Excessive Weight Hazard Use two or more people to move and install refrigerator. Failure to do so can result in back or other injury.
Refrigerator Delivery
A minimum door opening of 838 mm (33″) is required. If door opening is 914 mm (36″) or less, then removal of doors, drawer and hinges is required. Cart the refrigerator from the side for all door openings.
When Moving Your Refrigerator: Your refrigerator is heavy. When moving the refrigerator for cleaning or service, be sure to cover the floor with cardboard or hardboard to avoid floor damage. Always pull the refrigerator straight out when moving it. Do not wiggle or “walk” the refrigerator when trying to move it, as floor damage could occur.
Remove the Packaging
- Remove tape and glue residues from surfaces before turning on the refrigerator. Rub a small amount of liquid dish detergent over the adhesive with your fingers. Wipe with warm water and dry.
- Do not use sharp instruments, rubbing alcohol, flammable fluids, or abrasive cleaners to remove tape or glue. These products can damage the surface of your refrigerator.
- Dispose of/recycle all packaging materials.
Clean Before Using
After you remove all of the packaging materials, clean inside of your refrigerator before using it. See cleaning instructions in the “Refrigerator Care” section.
Important information to know about glass shelves and covers:
Do not clean glass shelves or covers with warm water when they are cold. Shelves and covers may break if exposed to sudden temperature changes or impact, such as bumping. Tempered glass is designed to shatter into many small, pebble-size pieces. This is normal. Glass shelves and covers are heavy. Use both hands when removing them to avoid dropping.
Location Requirements
| Explosion Hazard Keep flammable materials and vapors, such as gasoline away from appliance. Use nonflammable cleaner. Failure to do so can result in death, explosion, or fire. |
To ensure proper ventilation for your refrigerator, allow for a 1/2′ space on each side and at the top. Allow for a 2″ (50 mm) space behind the refrigerator. If your refrigerator has an ice maker, allow extra space at the back for the water line connections. When installing your refrigerator next to a fixed wall, leave a 33/4″ (95.3 mm) minimum space between the refrigerator and wall to allow the door to swing open.
NOTE: This refrigerator is intended for use in a location where the temperature ranges from a minimum of 50°F (10°C) to a maximum of 110°F (43°C). The preferred room temperature range for optimum performance, which reduces electricity usage and provides superior cooling, is between 60°F (15°C) and 90°F (32°C). It is recommended that you do not install the refrigerator near a heat source, such as an oven or radiator.
*Space from a side wall required to open the door at 118° and open the drawers and trays insie the bottom compartments
Electrical Requirements
| Electrical Shock Hazard Plug Into a grounded 3 prong outlet. Do not remove ground prong. Do not use an adapter. Do not use an extension cord. Failure to follow these instructions can result in death, fire, or electrical shock. |
Before you move your refrigerator into its final location, it is important to make sure you have the proper electrical connection. If the supply cord is damaged, it must be replaced by the manufacturer or its service agent or a similarly qualified person. Do not use a cord that shows cracks or abrasion damage along Its length or at either the plug or connector end. Recommended Grounding Method A 115 V. 60 Hz, AC-only 15 A or 20 A fused, grounded electrical supply is required. It is recommended that a separate circuit serving only your refrigerator and approved accessories be provided. Use an outlet that cannot be turned off by a switch. Do not use an extension cord. IMPORTANT: If this product is connected to a GFCI (Ground Fault Circuit Interrupter) protected outlet, nuisance tnpping of the power supply may occur, resulting in loss of cooling. Food quality and flavor may be affected. If nuisance tripping has occurred, and if the condition of the food appears poor, dispose of the food.
NOTE: Before performing any type of installation or cleaning, or removing a light bulb, turn cooling off or turn the control (Thermostat, Refrigerator or Freezer Control depending on the model) to Off. On models with a digital temperature control, press the minus sign touch pads repeatedly until a dash (-) appears in both the freezer and refrigerator displays. Disconnect the refrigerator from the electrical source. When you are finished, reconnect the refrigerator to the electrical source and turn cooling on or reset the control (Thermostat, Refrigerator or Freezer Control depending on the model) to the desired setting. See the “Quick Start Guide”.
Remove and Replace Refrigerator Doors
NOTE: Measure the width of your door opening to see whether or not you need to remove refrigerator doors to move refrigerator into your home. If door removal is necessary, see the following instructions.
IMPORTANT: If refrigerator was previously installed and you are moving it out of the home, turn refrigerator control off before you begin removing the doors. Unplug refrigerator or disconnect power. Remove food and adjustable door or utility bins from doors. Gather required tools and read all instructions before removing doors.
TOOLS NEEDED: 6 mm socket wrench, 5 mm socket wrench and #2 Phillips screwdriver.
WARNING
Electrical Shock Hazard Disconnect power before removing doors.
Failure to do so can result in death or electrical shock.

WARNING
Excessive Weight Hazard
Use two or more people to move and install refrigerator.
Failure to do so can result in back or other injury.
Remove Refrigerator Doors
| Electrical Shock Hazard Disconnect power before removing doors. Failure to do so can result in death or electrical shock. |
Remove Right-Hand Door
- Unplug refrigerator or disconnect power.
- Keep refrigerator doors closed until you are ready to lift them free from the cabinet.
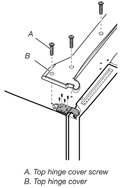
NOTE: Provide additional support for refrigerator door while the hinges are being removed. Do not depend on the door gasket magnets to hold the door in place while you are working. - Using a Phillips screwdriver, remove cover from top hinge.
- Using 5 mm socket wrench, remove four screws from top hinge and set aside.

- Lift refrigerator door from the middle hinge pin. The top hinge will come away with the door.
Remove Left-Hand Door
IMPORTANT: The wiring for UI run through left-hand door hinge, so they must be disconnected before removing the door.
- Using a Phillips screwdriver, remove cover from top hinge.

- Disconnect two wiring plugs located on top of the door hinge.
■ Grasp each side of wiring plugs. With your left thumb, press down to release the catch and pull the sections of the plugs apart.
- Using 5 mm socket wrench, remove four internal screws from top hinge and set aside.
NOTE: Provide additional support for refrigerator door while hinges are being removed. Do not depend on the door gasket magnets to hold the door in place while you are working. - Lift refrigerator door from bottom hinge pin. The top hinge will come away with door.
NOTE: It may not be necessary to remove bottom hinges and brake feet assemblies to move the refrigerator through a doorway.
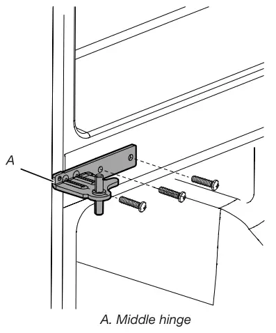
■ Only if necessary, use 6 mm socket wrench and #2 Phillips screwdriver to remove middle hinge.
Replace Right-Hand Refrigerator Door
- Set right-hand door onto middle hinge pin.
- Insert top hinge pin into open hole in top of refrigerator door.
- Using four 5 mm socket screws, fasten hinge to cabinet. Do not tighten screws completely.
Replace Left-Hand Refrigerator Door
- Set left-hand door onto middle hinge pin.
- Using four 5 mm socket screws, fasten hinge to cabinet. Do not tighten screws completely.
- Reconnect electrical wiring.
■ Push together two sections of wiring plug.
■ Reconnect earth wire to hinge screw.
Final Steps
- Completely tighten eight 5 mm socket screws.
- Replace top hinge covers.
Remove and Replace Freezer Door
- Keep freezer doors closed until you are ready to lift them free from cabinet.
NOTE: Provide additional support for freezer door while hinges are being removed. Do not depend on door gasket magnets to hold door in place while you are working.
■ Using a #2 Phillips screwdriver and 6 mm socket wrench to remove middle hinge from cabinet
■ Lift freezer door from the bottom hinge pin.
Final Steps
| Electrical Shock Hazard Plug Into a grounded 3 prong outlet. Do not remove ground prong. Do not use an adapter. Do not use an extension cord. Failure to follow these instructions can result in death, fire, or electrical shock. |
- Plug into an grounded (earthed) socket.
- Return all removable parts and food to the drawers.
Refrigerator Levelling
- Move refrigerator to its final location.
- Using hand, rotate the brake feet. Turn them counterclockwise until the rollers are off the floor and both brake feet are snug against the floor. This keeps refrigerator from rolling forward when opening the doors.
IMPORTANT: If you need to make further adjustments involving brake feet, you must turn both brake feet same amount to keep the refrigerator level. 3. Use a level to make sure refrigerator is level from side to side and front to back.
Information about heated side surfaces
- The heat felt on the left and right sides of the cabinet is normal for this cooling technology.

Water Supply Requirements
A cold water supply with water pressure between 35 psi and 120 psi (241 kPa and 827kPa) is required to operate the water dispenser and ice maker. If you have questions about your water pressure, call a licensed, qualified plumber.
NOTE: If the water pressure is less than what is required, the flow of water from the water dispenser could decrease or ice cubes could be hollow or irregular shaped. Reverse Osmosis Water Supply
IMPORTANT: The pressure of the water supply coming out of a reverse osmosis system and supplying the water inlet valve of the refrigerator needs to be between 35 psi and 120 psi (241 kPa and 827kPa).
If a reverse osmosis water filtration system is connected to your home cold water supply, the water pressure to the reverse osmosis system needs to be a minimum of 40 psi to 60 psi (276 kPa to 414 kPa).
- Check to see whether the sediment filter in the reverse osmosis system is blocked. Replace the filter if necessary.
- Allow the storage tank on the reverse osmosis system to refill after heavy use. The tank capacity could be too small to keep up with the requirements of the refrigerator. NOTE: Faucet-mounted reverse osmosis systems are not recommended.
- If your refrigerator has a water fitter, it may further reduce the water pressure when used in conjunction with a reverse osmosis system. Remove the water filter. See the “Water Filtration System” section. If you have questions about your water pressure, call a licensed, qualified plumber.
Connect the Water Supply
Read all directions before you begin.
IMPORTANT:
- Connect to potable water supply only.
Do not use with water that is microbiologically unsafe or of unknown quality without adequate disinfection before or after the system. Systems certified for cyst reduction may be used on disinfected waters that may contain filterable cysts. - Plumbing must be installed in accordance with the International Plumbing Code and any local codes and ordinances.
- Copper and PEX tubing connections from the household water line to the refrigerator are acceptable and will help avoid off-taste or odor in your ice or water. Check for leaks. If PEX tubing is used instead of copper, we recommend the following: 7 ft (2.14 m) jacketed PEX, 5 ft (1.52 m) PEX, or 25 ft (7.62 m) PEX.
- Install tubing only in areas where temperatures will remain above freezing.
Tools Needed:
Gather the required tools and parts before starling installation.
- Flat-blade screwdriver
- 7/16″ and 1/2″ open-end wrenches or 2 adjustable wrenches
- 1/4″ nut driver
NOTE: Do not use a piercing-type or 3/16″ (4.76 mm) saddle valve, which reduces water flow and clogs easier.
Connect to Water Line
IMPORTANT: If you have turned the refrigerator on before the water was connected, turn off the ice maker.
- Unplug refrigerator or disconnect power.
- Turn off main water supply. Turn on nearest faucet long enough to reduce water pressure in the water line.
- Use a quarter-turn shut-off valve or the equivalent, served by a 1/2″ household supply line.
NOTE: To allow sufficient water flow to the refrigerator, a minimum 1/2″ (12.7 mm) size household supply line is recommended.
- Now you are ready to connect the copper or PEX tubing to the shut-off valve. Use 1/4″ (6.35 mm) O.D. (outside diameter) soft copper or PEX tubing to connect the shut-off valve and the refrigerator.
■ Ensure that you have the proper length needed for the job. Be sure both ends of the copper tubing are cut square.
■ Slip compression sleeve and compression nut onto copper tubing as shown. (PEX tubing has compression sleeves and compression nuts preinstalled.) Insert end of tubing into outlet end squarely as far as it will go. Screw compression nut onto outlet end with adjustable wrench. Do not overtighten.
- Place the free end of the tubing into a container or sink and turn on main water supply to flush out tubing until water is clear. Turn off shut-off valve on the water pipe.
NOTE: Always drain the water line before making the final connection to the inlet of the water valve to avoid possible water valve malfunction. - Bend the copper or PEX tubing to meet the water line inlet, located on the back of the refrigerator cabinet as shown. Leave a coil of copper tubing to allow the refrigerator to be pulled out of the cabinet or away from the wall for service.
Connect to Refrigerator
Follow the connection instructions specific to your model.
- Remove plastic cap from water valve inlet port. Attach the copper or PEX tubing to the valve inlet using a compression nut and sleeve as shown. Tighten the compression nut. Do not overtighten. Confirm copper or PEX tubing is secure by pulling on copper tubing.
- Create a service loop with the copper tubing. Avoid kinks when coiling the copper tubing. Secure copper or PEX tubing to refrigerator cabinet with a “P” clamp.

- Turn on water supply to refrigerator and check for leaks. Correct any leaks
- If ice is desired, turn on the ice maker.
Note: Allow 24 hours to produce the first batch of ice. Discard the first three batches of ice produced. Allow three days to completely fill the ice storage bin.
REFRIGERATOR USE
Opening and Closing Doors
There are two fresh food compartment doors. The doors can be opened and closed either separately or together. There is a vertically hinged seal on left refrigerator door.
- When left-side door is opened, hinged seal automatically folds inward so that it is out of the way.
- When both doors are closed, the hinged seal automatically forms a seal between two doors.
NOTE: When closing the door, the hinged seal should be in correct position (be bent inside). Otherwise it will hit the right door or the fixing shaft.
The fresh food compartment door switch is located in top left and right hinge cover. - For Freezer and Multi Temperature Zone, door switch is located in the bottom mullion.
- The door switch uses magnet to sense door opening/closing.
- Ensure there are no magnet or electronic devices (Speaker, Coolvox® etc.) within 7.62 cm of the hinge cap.
NOTE: The light will not turn on if door opening is not detected.

Ice Maker
Turn the Ice Maker On\Off
Turn on the ice maker by moving the switch to the On position.
NOTES:
- The Ice Maker switch is located at the bottom of the ice maker as shown in the picture below.

- Your ice maker has an automatic shutoff. The sensor will automatically stop ice production if the storage bin is full or the door is open. The control will remain in the On position.
- Turn off the ice maker before removing the ice storage bin to serve ice or to clean the bin. This will keep the ice cubes from dropping out of the ice maker and into the freezer compartment. After replacing the ice storage bin, turn on the ice maker.
Ice Production Rate
- Your ice maker should produce approximately 3 lbs (1.4 kg) of ice per day under normal operation.
- To increase ice production, activate “Fast Freeze” or “Max Freeze” feature from the control panel. The ice maker should produce approximately 3.5 lbs (1.6 kg) of ice per day. See the Quick Start Guide document.
Audio Reference
Tone Assignment
| Tone Name | Usage Examples |
| Power On | Cooling system is turned on every time the product is powered on. |
| Key Press | User presses a valid button. |
| Invalid (Error) | User presses two or more valid buttons at the same time. Count-down interruption for pressand-hold buttons. |
| Engage | Acknowledgement of entry into any mode. |
| Disengage | Acknowledgement of exit from any mode. |
| Alert | Door Ajar alert. |
This table is for quick reference only. See corresponding sections for details. In case of inconsistency, section details will prevail.
REFRIGERATOR CARE
Cleaning
| Explosion Hazard Risk of Fire or Explosion. Flammable Refrigerant Used. Do Not Use Mechanical Devices to Defrost Refrigerator. Do Not Puncture Refrigerant Tubing. |
All of the Refrigerator, Freezer and Multi Temp Compartment sections defrost automatically. However, clean all the sections about once a month to avoid build-up of odours. Wipe up spills immediately.
Style 1 — Fingerprint-Resistant Stainless
IMPORTANT:
- Avoid exposing stainless steel appliances to caustic or corrosive elements such as high-salt, high-moisture, or high-humidity environments. Damage due to exposure to these elements is not covered under the warranty.
| DO USE | DO NOT USE |
| ✓ Soft, clean cloth | X Abrasive cloths X Paper towels or newsprint X Steel-wool pads |
| ✓ Warm, soapy water with a mild detergent | X Abrasive powders or liquids X Window sprays X Ammonia X Acidic or vinegar-based cleaners X Oven cleaners X Flammable fluids |
NOTES:
- If unintentional contact does occur, clean plastic part with a sponge and mild detergent in warm water. Dry thoroughly with a soft cloth.
- Just because a cleaner is a liquid does not mean it is non-abrasive. Many liquid cleansers formulated to be gentle on tile and smooth surfaces still damage stainless steel.
- When cleaning stainless steel, always wipe in the direction of the grain to avoid cross-grain scratching.
- Citric acid permanently discolours stainless steel.
- To avoid damaging the finish of your stainless steel refrigerator:
Do not allow these substances to remain on the finish:
X Mustard
X Tomato juice
X Marinara sauce
X Citrus-based sauces
X Citrus-based products
Interior Cleaning
IMPORTANT: Refrigerator shelves with under-shelf, LED lighting are not dishwasher safe.
- Unplug refrigerator or disconnect power.
- Hand wash, rinse, and dry removable parts and interior surfaces thoroughly. Use a clean sponge or soft cloth and a mild detergent in warm water.
NOTE: Do not use abrasive or harsh cleaners such as window sprays, scouring cleansers, flammable fluids, cleaning waxes, concentrated detergents, bleaches, or cleansers containing petroleum products on plastic parts, interior and door liners, or gaskets. - Plug in refrigerator or reconnect power.
Condenser Cleaning
| Explosion Hazard Risk of Fire or Explosion due to Puncture of Refrigerant Tubing. Follow Handling Instructions Carefully. Flammable Refrigerant Used. |
There is no need for routine condenser cleaning in normal home operating environments. If the environment is particularly greasy or dusty or there is significant pet traffic in the home, the condenser should be cleaned every 6 months to ensure maximum efficiency.
- Unplug refrigerator or disconnect power
- Remove the base grille.
- Use a vacuum cleaner with a soft brush to clean the grille, the open areas behind the grille, and the front surface area of the condenser.
- Replace the base grille when finished.
- Plug in refrigerator or reconnect power.
NOTE: If you are unable to clean the condenser, please call for service.
Lights
The lights in both the fresh food and freezer compartments are LEDs which do not need to be replaced. If the lights do not illuminate when the door is opened, contact the dealer from whom you purchased your refrigerator.
Moving Care
Extented away
If You Choose to Leave the Refrigerator On While You’re Away:
- Use up any perishables and freeze other items.
- If your refrigerator has an automatic ice maker and is connected to the household water supply, turn off the water supply to the refrigerator. Property damage can occur if the water supply is not turned off.
- If you have an automatic ice maker, turn off the ice maker.
■ Press the switch to Off (0) for the door ice maker. - Empty the ice bin.
If You Choose to Turn Off the Refrigerator Before You Leave:
NOTE: Put refrigerator in Demo Mode while on Vacation. See the Quick Start Guide document.
- Remove all food from the refrigerator.
- If your refrigerator has an automatic ice maker:
■ Turn off water supply to the ice maker at least 1 day ahead of time.
■ When last load of ice drops, press the switch to Off (0) for display to be unlit on the top inside of the refrigerator, depending on your model. - Empty ice bin.
- Turn off temperature controls. See the Quick Start Guide document.
- Clean refrigerator, wipe it and dry well. 6. Tape rubber or wood blocks to the tops of both doors to prop them open far enough for air to get in. This stops odours and mould from building up.
Moving
When you are moving your refrigerator to a new home, follow these steps to prepare it for the move.
- If your refrigerator has an automatic ice maker:
■ Turn off water supply to the ice maker at least 1 day ahead of time.
■ Disconnect water line from the back of the refrigerator.
■ When last load of ice drops, press the switch to Off (0) either on the ice maker or the control, depending on your model. - Remove all food from refrigerator and pack all frozen food in dry ice.
- Empty ice bin.
- Unplug refrigerator.
- Clean, wipe and dry thoroughly.
- Take out all removable parts, wrap them well and tape them together so they don’t shift and rattle during the move.
- Depending on the model, raise the front of the refrigerator so it rolls more easily or raise the levelling screws so they do not scrape the floor. See the “Adjust the Doors” or “Refrigerator Levelling and Door Closing” sections.
- Tape doors closed and tape the power cable to the back of the refrigerator.
When you get to your new home, put everything back and refer to the “Installation Instructions” section for preparation instructions. Also, if your refrigerator has an automatic ice maker, remember to reconnect the water supply to the refrigerator.
W11409844D
810F950001034



NOTE: Provide additional support for refrigerator door while hinges are being removed. Do not depend on the door gasket magnets to hold the door in place while you are working.
■ Lift freezer door from the bottom hinge pin.
IMPORTANT: If you need to make further adjustments involving brake feet, you must turn both brake feet same amount to keep the refrigerator level. 3. Use a level to make sure refrigerator is level from side to side and front to back.


The fresh food compartment door switch is located in top left and right hinge cover.
















