August 9 Inch Digital TV Media Player 
User Manual
Thank you for purchasing this August TV. You may already be familiar with using similar products but please take the time to read these instructions carefully. They are designed to familiarise you with the product’s many features and to ensure that you get the very best from your purchase. Safety Please read the Safety Instructions before using this product to ensure your safety and the safety of others. Disposal Please ensure the product and its accessories are disposed in compliance with WEBB (Waste Electrical and Electronic Equipment) Directive and any other applicable regulations. Please check with your local authority for current disposal regulations. Declaration of Conformity The Declaration of Conformity can be found on our website at http://augustint.com/en/declaration/
Customer Service
If you need help, please contact our Customer Service:
Telephone: +44 (0) 845 250 0586
Email: [email protected]
Quick Start Guide DTV905
- It is suggested that you use a roof top aerial when searching for TV channels for the first time. If any signal is detected, the channel information will be saved onto the TV, you may then switch back to the portable antenna supplied and change your location to find the best place to receive the signal.
- Connect the device to the mains power or use the built-in battery, switch on the Power Switch to tum it on.
- When turning on the device for the first time, “Installation Guide” will show, follow the instructions to select desired OSD Language and Country, then press <ENTER>, the auto search will then start. Once the search has finished, press <.&. > or <T > to select channels. Press <TV /RADIO> to switch between Freeview TV and Radio channels.
- If you have done the first time installation before, and would like to search for Digital Freeview channels again. or if you have moved to a different region and need to search channels again, press <MENU>, move to “Channel Search” menu, select Auto Search and press <ENTER> to start the search. Once the search has finished, press <.&. > or <T > to select channels. Press <TV/RADIO> to switch between Freeview TV and Radio channels.
- To play music, photos, movies or PVR from a USB memory stick, insert the memory stick into the USB port, press <MENU>, move to Media Player menu, select ”Music”, ”Photo”, “Video” or “PVR”, press <ENTER> to view the file list. Select a file and press <ENTER> to Play.
- Please note that the signal strength in some areas may not be sufficient to support TV reception using a portable aerial. The distance from the closest transmitter and other factors such as surrounding buildings, the walls of your house, weather and electromagnetic interference caused by power and telecommunication infrastructure may affect signal strength. Changing location may improve signal reception and a rooftop aerial designed for digital TV can be used to achieve the best possible reception. Reception can also be affected by various factors such as how close you are to transmitters, tall buildings, thick walls, ceilings, weather etc.
- For any further queries, please telephone August International Ltd helpline + 44 (0) 845 250 0586 or email service@augustintcom
Safety Instructions
Storage and Use
keep this machine away from hot or cold places. Working temperature of this device is 0 C-50 C temperature is -10C -60C.
Never expose the TV set to moisture, dust, oil or smoke.
Never put this machine in containers that are unstable as this may cause damage.
Keep the Tv set away from water or damp environment.
Avoid dropping or exposig to impacts.
Never extrude or chafe this machine with sharp objects.
Maintenance
Please unplug all connection wires before start cleaning this machine
Please wipe the display screen and buttons with a soft cloth. Only clean 1he screen with professional LCD’IV screen cleanser.
Never wipe this machine with an abrasive cloth, detergent powder, alcohol and benzene etc. various propellants or chemical cleaning products.
Operation Precautions
- Use only the supplied power adaptor with this device. Failure to do so can cause damage to the device and risk personal injury.
- For the sake of safety, when you do not intend to use the display, please switch off the AC adaptor or car adaptor.
Warning: For the sake of safety for yourself and others, please do not watch the TV while driving.
Special notice:
A few highlights or dark spots may appear on the LCD screen. It is a very common phenomenon of active matrix display technology, and does not mean any defects or fault. Never try to repair this machine by yourself. In case of any fault or failure, please turn m off the display at once, and notify our company or the corresponding dealer. The display c5 is made up of many precision electronic components. Any disassembly or modification may lead to further damage.
Main Features
- High Resolution Widescreen LCD Display
- PVR and Multimedia Player
- Internal Rechargeable Battery
- 7 Day EPG and Subtitles
- AVInandAVOut
Box Contents
Interchangeable Plugs
Part Names and Functions Front
- TV/AV Mode
- CH+/CH- Menu I Channel Selection
- Volume+/- button: increase I reduce volume
- Enter button: enter I confirm
- Menu button: main menu I exit the menu
- Speakers
- LCD display
- IR.receiver window
Back
- Battery compartment
- Stand
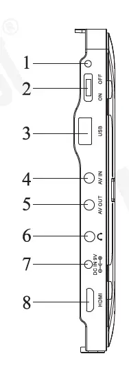
Left
- Status LED
- Power Switch
- USBPort
- AVIN
- AVOUT
- Earphone Socket
- 9VDCIN
- Mini HDMI Out
Top
- Antenna In
Remote Control
- MODE TV and AV Mode Switch
- 0-9 Numbers
- Mute /Unmute
- RECALL Recall Last Channel
- MENU Main Menu
- Exit
- Up/Channel Up
- Down /Channel Down
- Left /Volume Down
- Right/Volume Up
- ENTER Confirm
- Page Up
- Page Down
- TV/RADIO TV and Radio Switch (TV Mode)
- Information
- Favourite Channel List (TV Mode)
- AUDIO Audio Language
- Subtitle
- Teletext (not available in UK) I Previous Track(Media Player)
- Electronic Program Guide I Next Track (Media Player)
- Play I Pause (TimeShift and Media Player) I LCD Setup (AV M ode)
- Stop
- Fast Forward (TimeShift and Media Player)
- Rewind (TimeShift and Media Player)
- Record I Zoom in
- Repeat (Media Player) I Timeshift(TV Mode)
- Go To function (Media Player)
- Schedule
Use of the Remote Control
Please remove the PVC packaging before using the remote control for the first time.
- Do not expose the remote control to direct sunlight or very strong/bright light.
- Do not drop or step on the remote control or subject it to shocks.
- Keep the remote control away from extreme hot or humid environment.
Keep the remote control away from water.
Connecting the earphones
Plug the earphone’s 3.5mm. connector into the TV’s earphone socket.
Whilst earphones are connected, no sound will be played through the TV’s speakers.
Connecting the AV cable
AVIN
Connect the yellow wire of the AV cable to the source’s video out socket, the white wire and red wire to the source’s left audio socket and right audio socket. Then insert the 3.5mm.AV cable connector into the TV’s AV IN socket.
AVOUT
Connect the yellow wire of the AV cable to the target’s video out sock.et, the white wire and red wire to the target’s left audio sock.et and right audio socket. Then insert the 3.5mm AV cable head into the TV’s AV OUT socket.
Connecting the HDMI cable
Connect a mini HDMI to HDMI cable (not included) from the HDMI socket on the DTV905 to the HDMI sock.et on your target device.
LCD Setup
InAV mode, press <I> to enter the LCD setup. Press <I> again to exit. In LCD setup, press < or <T> to select a item, then press < _,.. > or<> to adjust the value.
Operation
Initial Installation
After you first switch-on your device, an Installation Guide is displayed that allows you to set your location preferences and search for channels.
Press <.6.> or <T> to navigate up or down. Press<..,..> or<..,..> to change the options. After setting the OSD Language and Country, then press <ENTER> to start the search.
Press <EXIT> to enter the main menu.
After the search has finished, you can start watching any channels which have been found.
Press <TV/RADIO> to switch between Freeview TV and Radio channels. Ifno channels are found, it will return to the Installation Guide. You can try a different location or use a rooftop aerial.
Channel Information
Press <INFO> in TV display mode to show Now and Next for the current station.
Press <INFO> again to show detailed information. 
Channel List
Press <ENTER> in TV display mode to show the channel list. Press< …. > or<..,..> to switch between the TV and Radio channel list.
Press <.6.> or <T> to select the desired channel and press <ENTER> to confirm. Press <EXIT> to close the list. 
Recall
Press <RECA LL> in TV display mode to change back to the last channel you watched.
Record
Plug a USB memory stick into the USB socket, then press < ml > to record the channel you are watching. Whilst recording a timer will show in the top left corner of the screen. 
To stop recording, press again. Then press <ENTER> to confirm or <EXIT> to keep recording. 
Time Shift
To enable Time Shift, press < I > whilst watching TV, the program will pause. Press< I> again to resume,<..,….,..> to rewind and<..,….,..> to fast forward. Press < • > to exit Time Shift and return to the live broadcast. 
Schedule
Press <S > in TV display mode to enter the Schedule. This function supports scheduled viewing or scheduled recording of Programs. You can choose to record at the same time daily, weekly or schedule a one off recording.
Add Event
To add an event, press<&>, the Event Add window will pop up. 
Press <.A> or <T> to select an item, press< …. > or<..,..> to change the settings. Then press <ENTER> to confirm or
press <EXIT> to exit.
Edit Event
To edit an existing event, press<.6.> or <T> to select the event and press <D >.
Delete Event
To delete an existing event, press <.6.> or <T> to select the event and press <E>. Then press <ENTER> to confirm or press <EXIT> to cancel. Press <EXIT> to exit Schedule.
AV IN/AV OUT
The DTV905 supports both AV IN and AV OUT, to use AV IN, press <MODE> to enter AV mode then connect your source device using the provided AV cable. To use AV OUT, connect the TV to your target device using the provided AV cable.
HDMIOUT
To use HDMI OUT, connect the TV to your target device using a mini HDMI cable (not included).
Main Menu
Press <MENU> to enter the main menu, press <EXIT> to exit the menu.
In the main menu, press<…,..> or<..,.> to select between the Channels, Display, Channel Search, Time, Language, System or Media Player submenus. Press <ENTER> to enter a submenu or press <EXIT> to exit the main menu.
In a submenu, press <.A> or <‘f”> to select an item, then press <ENTER> or press < ….. >or< …. > to change the settings. Press <EXIT> to save the settings and go back to the previous menu.
Channels
The Channels menu allows you to manage channels, access the Electronic Program Guide (EPG), sort channels in different orders and enable or disable Local Channel Numbers (LCN).here are four items in the Channels submenu, Channel Management, EPG, Sort and LCN .
Channel Manager
After selecting Channel Manager press <ENTER> then type in the password to continue . The default password is 000000. 
To move a channel, press <.A> or <‘f”> to highlight the channel and < m > to select it, the [S;il icon will display next to the channel name. Then press <.A> or <‘f”> to move the channel to the desired position and press <ENTER> to confirm.
To skip or un sk:ip a channel, press <.A> or <‘f”> to highlight the channel then press <IE>. Skipped channels are not found whilst browsing up and down channels and are indicated by the 8 icon. To lock or unlock a channel, press <.A> or <‘f”> to highlight the channel then press <D >, you will be prompted to input your password . Locked channels are indicated by the [i] icon. To delete a channel, press <.A> or <‘f”> to highlight the channel then press <Gm!> Press <ENTER> to confirm or press <EXIT> to cancel. To add a channel to your favourites list, press <.A> or <‘f”> to highlight the channel then press <FAV>. Select a category from the list and press <ENTER> to confirm. Press <EXIT> to close the window. Favourite channels are indicated by the C icon. 
To rename a channel, press <.A> or <‘f”> to highlight the channel then press <RECALL>.
To use the onscreen keyboard, press <.A>, <‘f”>, <…,..>or<..,.> to select a character then press <ENTER> to confirm.
EPG
The EPG (electronic program guide) is a schedule of programs due to be broadcast in the next 7 days. Please note that not all channels offer listing information. 
<.A> or <‘f”> Channel Select
< ….. >or< …. > Program Select
<D>or<ID> PageDown orUp
<8 > or <Gm!> Scroll through program
description
To schedule recording or viewing, select the program you would like to watch or record and press <ENTER>. This opens the Event Add window. (Please refer to 6. 7 .1)
Pressing <INFO> whilst in the EPG opens the Schedule window where you can view a list of scheduled events.
Sort
Sort can be used to automatically reorder your channels by LCN (logical channel number), ONID (Original Network ID), Service Name and Service ID. Press<…,..> or <..,. > to select an option.
LCN
Press<…,..> or<..,.> to enable or disable Logical Channel Number.
Display
The Display menu allows you to change aspect ratio, HDMI output resolution and TV format.
Aspect Ratio
Press <<11111> or<..,..> to select between Auto, 4:3,16:9 aspect ratios
HDMI Output
Press <<11111> or< ….. > to select between 576i, 576p, 720p, 1080i and 1080p (SOHz) HDMI output resolution.
TV Format
Press <<11111> or< ….. > to select a between PAL and NTSC TV formats.
Channel Search
The Channel Search menu allows you to search for channels and change channel search settings. 
Auto Search
Select Auto Search and press <ENTER> to start searching for channels, the selected countries settings will be used.
If no channels are found, the Installation Guide window will be displayed (Please refer 6.1) Press <EXIT> during the search to searching.
Press <MENU> during the search to skip the current frequency.
Manual Search
Manual Search is used to search for channels on a specific frequency. 
Press < <11111> or < ….. > to select the desired Frequency and press <ENTER> to start searching. The selected countries settings will be used
Country
Press <<11111> or< ….. > to select the countries broadcast settings to use in auto search or manual search.
Aerial Power
The device can output SV power from the coaxial aerial socket, press <<11111> or< ….. > to select Aerial Power ON ifyour external aerial takes SV input via its coaxial plug
Time
The Time menu allows you to change the system time.
Time Offset
Press <<11111> or<..,..> to select between manual and automatic Time Offset
Country Region
Press <<11111> or< ….. > to select which regions time to use for automatic time offsetting. 
Time Zone
Press <<11111> or< ….. > to select a time zone to use for manual time offsetting.
Setting
The Settings menu allows you to change language settings for the OSD ,Subtitle and Audio. and select the Digital Audio output mode.
Press <A> or <..,.> to select an item and press < <11111 > or < ….. > to change the language. Whilst watching TV you can press <AUDIO> or <SUB-T> to access language settings for the audio and subtitles.
System
The System menu allows you to change parental control age and password settings, restore the device to factory default, view system information and upgrade the software. 
Parental Control Age
Enter your password to access the parental guidance settings then use < <11111 > or< ….. > to select between off, or to specify an age group between 04 and 18. The default password is 000000. 
Set Password
Enter your current password using the number buttons on the remote control then enter your new password twice.
After entering your new password a pop up message will appear. Press <EXIT> to close the pop up message and return to the password menu.
Factory Reset
Press <ENTER;> then enter your password and press <ENTER;> to reset the device to factory default settings or press <EXIT> to return to the system menu.
Once the default settings have been restored, the Installation Guide will appear. (Please refer 6.1)
Information
Press <ENTER;> to display information on the device model, current software and hardware version.
Software Update
This function is for manufacturers use only.
Media Player
Media Player allows you to play music, photos, video and PVR files from a USB memory device. The supported formats can be found in chapter 6, Specifications.
Media Player
(Playback) In Media player menu Press <&> or <T> to select Media Player item, Press < …. >or <OK> to enter media player options and press < …. > or < …. > to select Music, Photo, Video, PVR items. and press <OK> to select player files. 
Music Player
<.A.>or <T> Select a folder or file <OK> Open folder or play a file <RECALI> Go back to previous folder <REPEAT> Set repeat mode <GOTO> Jump to a specific track position <EXIT> Exit music player mode.
Photo Player
- Select a folder or preview a file
- Open folder or display a file in full screen Go back to previous folder
- Start the slide show Set repeat mode
- Exit the slide show or photo player mode
- Switch to grid view Rotate Image.
Video Player
- <a> or <T> Select a folder or file
- Open folder or preview a file
- Go back to previous folder Play/Resume
- Pause
- Rewind
- Fast forward
- Next
- Previous
- Enter or exit full screen
- Set repeat mode
- Jump to a specific track position
- Exit the movie player mode.
- PVR Player

- Select a folder or file
- Open folder or preview a file
- Go back to previous folder Play I Resume
- Pause
- Rewind
- Fast forward
- Next
- Previous
- Enter or exit full screen
- Set repeat mode
- Jump to a specific track position
- Exit the movie player mode
- Rename a file
- Delete a file
Photo Settings
Press <A> or <T> to select Photo Settings and press <> or<OK> to Set Photo Settings options.
Slide Time
The duration each picture is displayed for in a slide show. It can be set to between I and 8 seconds.
Slide Mode
Switch slide show mode between sequential and random.
Aspect Ratio
This is used to control the aspect ratio of pictures in a slide show. There are two options, Original and Screen Fit. Press <EXIT> to return to the main menu.
Video Settings
Press <A> or <T> to select Video Settings and press < > or<OK> to set Video Settings options.
Subtitle Specific
[Small]: Displays the subtitle as small mode. [Normal]: Displays the subtitle as normal mode. [Big]: Displays the subtitle as big mode.
Subtitle BG
[White]: Displays the subtitle in white background.
[Transparent]: Displays the subtitle in transparent background.
[Grey]: Displays the subtitle in grey background.
[Yellowgreen]: Displays the subtitle in yellow green background
Subtitle Font Color
[Red]: Displays Subtitle in red font.
[Blue]: Displays Subtitle in blue font.
[Green]: Displays Subtitle in green font. Press <EXIT> to return to the main menu.
PVR Settings
Press <A> or <T> to select PVR Settings and press <>or <ok> to enter PVR Settings.
Users can select the record device and format the USB memory stick in PVR Configure.
Record Device
Users can select which disk is used for record and time shift and set the Time shift Space in Record Device. Press <A> or <T> to select an item and press <.,..> or <> to change the settings.
Format
Format allows you to format a USB memory device in either FAT32 or NTFS.
Press < <Ill> or<> to highlight File System then press <<Ill> or<> to select between FAT32 and NTFS. Press <<Ill> or<> to highlight Format and press <OK>. Then press <OK> to begin formatting or press <EXIT> to return to the Format menu.
Recharge the battery
- Connect the mains adaptor to the DC IN 9V socket on the TV.
- When the TV is on, the power indicator lights orange when charging and green when the device is fully charged.
- When the TV is off, the power indicator lights red when charging and turns off when the device is fully charged.
- A red battery icon will be flashing in the right top comer of the screen when the battery is low and the TV will automatically switch off.
- It normally takes about 3 hours for the battery to fully charge, the TV will play up to 2 hours.
Specifications
| LCD Display | Screen siz.e:9 Inch Resolution: 800 x 480 pixels Aspect Ratio: 16:9 Brightness: Max 220 cd/m1 Contrast: 500: 1 |
| DVB-Tm Video Decoder | MPEG1/2/4 H.264 |
| DVB-Tm Audio Decoder | MP3 WMA AAC |
| DVB-Tm Band | 6, 7,8MHz |
| DVB-Tm Frequency | VHF: 177.5-227.5 MHz UHF: 474-858MHz |
| AVIn | CVBS,UR |
| AV Out | HDMI;CVBS ,UR |
| USB Port | USB 2.0 host (5V) |
| Built-in Speaker | 2 x 1.5W, 8 ohm |
| Power Adaptor | AC 100-240V 50/60Hz DC9V/1.5A |
| Built-in Battery | 7.4V 2200mAh Rechargeable Battery |
| Working Time | 2hours |
| Charging Time | 3 Hou rs |
| Power consumption | < 13.5W |
| Dimensions | 254x 162 x 21.65 mm |
| Net Weight |
Media Formats
| Music | mp3, aac, wma,wav, ogg |
| Photo | jpg,jpeg,jpe, bmp, png |
| Video | mpg, mpeg, dat, ts, trp, tp, m2ts, vob, mp4, mov, mkv, avi, flv, 3gp |
Troubleshooting
Problems listed below do not necessarily signify a fault with the unit Please check this list before requesting repairs.
| Problems | Possible Causes and Solutions |
| No picture and no sound | Check the connection with the AC adaptor or car adaptor. Use of an unauthorized power supply. |
| No image | Check the channel selection. Scan for channels again. Always rescan for channels innew locations. |
|
No sound | Check the sound volume. Ifyou are using earphones, test them on another item. Check the earphone cable is plugged into the earphone socket on the device. Set the device to factory default, then try again. |
| Picture freezing, and/or sound distorting | Signal too weak, please check the aerial. Try to use a proper roof top aerial or an amplified aerial. |
| No signal | Signal too weak, please check the aerial. Try to use a proper roof top aerial or an amplified aerial. |
| Dark Picture | Please adjust Brightness and/or Contrast settings. |
| Snowstorm | Motors!I’rains/Hgh Voltage Lines and Neon Lights may affect the signal. |
| Achromatic/Flashing/No Colour | Please adjust the Colour Setting. |
Warning: This operation instruction is only intended for reference. No further notice is available to any modification of all information contained therein. Due to continuing improvements, the features and design are subject to change without notice.
Warning: No user serviceable components are fitted inside this TV. Do not attempt any repairs, as this will invalidate the warranty. Any repairs must be carried out by either manufacturer or their nominated service centre. Parts inside this set are subject the to high voltage.
Warranty
This product is guaranteed for twelve months from the date of the original purchase. In the unlikely event of any defect arising due to faulty materials or workmanship, the unit will be either replaced or repaired free of charge (where possible) during this period. An alternative product will be offered in case the product is no longer available or repairable. This warranty is subject to the following conditions:
- The warranty is only valid within the country where the product is purchased The product must be correctly installed and operated in accordance with the instructions given in the user’s manual.
- The product must be used solely for domestic purposes.
- The warranty only covers the main unit, and does not cover the accessories. The warranty does not cover the damage caused by misuse, negligence, accident and natural disaster.
- The warranty will be rendered invalid if the product is resold or has been damaged by inexpert repairs. The manufacturer disclaims any liability for incidental or consequential damages.
- Please consult our customer service before returning any product; we are not responsible for any unexpected product returns. Any faulty products must be kept and returned in the original packaging with all the accessories and the original copy of the purchase receipt.
The warranty is in addition to, and does not diminish, your statutory or legal rights.
Please note:
1. A LCD display panel comprises a very large number of pixels and each pixel contains three sub-pixels – red, green and blue. Due to the complex manufacturing process, occasional pixel anomalies may occur. Pixel anomalies cannot be fixed or repaired and can happen at any stage in the LCD’s life. August products should not be deemed as faulty if there are no more than three bright and dark pixels respectively.
2. Portable TV antennas included in the box are for people to watch Freeview TV in areas where the signal is very strong and there may be difficulties in receiving signal with the included portable antennas in some regions at present. This is due to the fact that Freeview is yet to operate in full power in the UK. August TVs should not be deemed as faulty if it can receive Freeview by connecting to a proper digital rooftop aerial.
Customer Service:
Telephone: +44 (0) 845 250 0586
Email: service@}augustintcom




























