INSTALLATION INSTRUCTIONS
USER GUIDE
Chimney Pyramid Rangehood
HC60PLX4 and HC90PLX4 models
NZ AU
IMPORTANT!
SAVE THESE INSTRUCTIONS
The models shown in this user guide may not be available in all markets and are subject to change at any time. For current details about model and specification availability in your country, please go to our website www.fisherpaykel.comhttp://www.fisherpaykel.com or contact your local Fisher & Paykel dealer.
Registration
Register your product with us so we can provide you with the best service possible.To register your product visit our website: www.fisherpaykel.com
SAFETY AND WARNINGS
WARNING!
(HC60) 15 kg (HC90) | Weight Hazard The range hood is heavy. Please ensure adequate care is taken when installing the rangehood to prevent personal injury. The rangehood must be installed onto a solid wall, stud, beam or truss. The weight of the HC60PLX4 is 12.8 kg and the weight of the HC90PLX4 is 15 kg. |
WARNING!
| Electric Shock Hazard Always disconnect the appliance from the mains power supply before carrying out any maintenance or repairs. Alterations to the domestic wiring system must be made by a qualified electrician. Failure to follow this advice may result in electric shock or death. |
IMPORTANT SAFETY INSTRUCTIONS
WARNING! When using this appliance always exercise basic safety precautions including the following:
- Please read the entire set of instructions before installing or using this appliance.
- Please make this information available to the person installing the appliance – doing so could reduce your installation costs.
- Always switch the power off prior to installation, servicing or cleaning of the rangehood.
- This appliance must be installed and connected to the mains power supply only
by a suitably qualified person according to these installation instructions and in compliance with any applicable local building and electricity regulations. Failure to
install the appliance correctly could invalidate any warranty or liability claims. - To comply with electrical safety regulations, the rangehood must be plugged into a socket near the appliance. The socket must be accessible or have an accessible isolating switch, to enable the end user to isolate the rangehood from the power for the purpose of internal cleaning or maintenance.
- A power outlet should be within 750 mm of the motor assembly and can either be on the wall, behind the chimney or in the ceiling.
- If the supply cord of this equipment is damaged, it must only be replaced by the manufacturer, its service agent or a similarly qualified person in order to avoid a hazard.
- Ducting accessories are not supplied. All ducting must comply with local requirements and building codes.
- Attention should be given to ensuring that any applicable regulations concerning the discharge of exhaust air are fulfilled.
- Before connecting any pipes, consult municipal ordinances to ensure that any applicable regulations concerning the discharge of exhaust air are adhered to and request permission from the person in charge of the building.
- Exhaust air must not be discharged into an existing flue that is used for exhausting fumes from appliances burning gas or other fuels.
- There shall be adequate ventilation of the room when the rangehood is used at the same time as appliances burning gas or other fuels.
- For Australia and New Zealand: Range hoods and other cooking fume extractors may adversely affect the safe operation of appliances burning gas or other fuels (including
those in other rooms) due to backflow of combustion gases. These gases can potentially result in carbon monoxide poisoning. After installation of a range hood or
other cooking fume extractor, the operation of flued gas appliances should be tested by a competent person to ensure that backflow of combustion gases does not occur. - The minimum distance between the supporting surface for cooking vessels on the
cooktop and the lowest part of the rangehood shall be 600 mm or 650 mm if installed over a gas cooktop. - Stainless steel is very easily damaged during installation if abraded or knocked by tools. It is recommended to protect the top of the rangehood with cardboard or polystyrene during the installation to minimize the risk of damage occurring.
- To reduce the risk of damage occurring to the cooktop, it is recommended that the surface of the cooktop is protected with cardboard or a similar object during the installation of the range hood.
- This appliance is not intended for use by persons (including children) with reduced physical, sensory or mental capabilities, or lack of experience and knowledge unless they have been given supervision or instruction concerning the use of the appliance by a person responsible for their safety.
- Children should be supervised to ensure they do not play with the appliance. Cleaning and user maintenance shall not be made by children without supervision.
- You must read the details concerning the method and frequency of cleaning.
- There is a fire risk if cleaning is not carried out in accordance with the instructions.
- Never leave frying food unattended since grease can overheat and catch fire. The risk of fire is even greater in the case of used oil.
- Do not flambé under the rangehood.
- Never use the rangehood without the filters in place.
- During an electrostatic discharge (ESD) it is possible that the device will stop working. By switching the device off and on the device will again work as intended.
- CAUTION: Accessible parts may become hot when used with cooking appliances.
- Remove all packaging, including protective wrappings, before use.
INSTALLATION INSTRUCTIONS
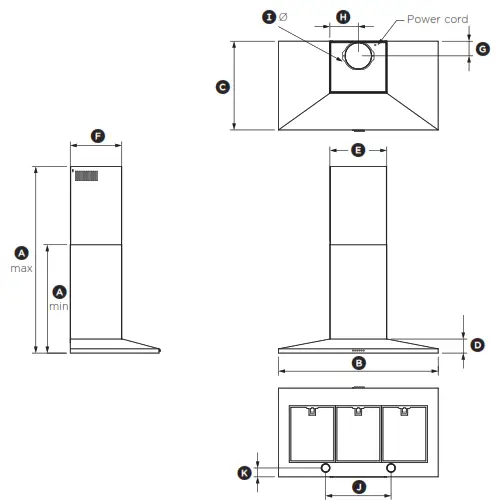
Contents of packaging

Product dimensions

| HC6OPLX4 | HC9OPLX4 | |
| PRODUCT DIMENSIONS | mm | mm |
| An Overall height of product | min. 610 – max. 1050 | min. 610 – max. 1050 |
| B Overall width of the product | 598 | 898 |
| C Overall depth of product | 500 | 500 |
| D Height of the product | 80 | 80 |
| E Width of chimney | 320 | 320 |
| F Depth of chimney | 290 | 290 |
| G Distance from center of ducting outlet to back of the product | 80 | 80 |
| H Distance from center of ducting outlet to side of the chimney | 160 | 160 |
| I Diameter of ducting outlet | 150 | 150 |
| J Distance between the center of lights | 235 | 370 |
| K Distance between the center of lights to the back of the product | 50 | 50 |
| Length of power cord | 1400 | 1400 |
IMPORTANT!
Actual product dimensions may vary by ± 2 mm. Please read the entire instructions before installing the range hood.
Height of rangehood

| INSTALLATION DIMENSIONS | mm |
| L Installation height Ducted Recirculation | min. 650 – max. 1050 min. 690 – max. 1050 |
| M Height top of cooktop to base of the product Electric Cooktop Gas Cooktop | min. 600 – max. 750 min. 650 – max. 750 |
Rangehood installation height above the cooktop is the user’s preference. Lower installation heights will improve the efficiency of capturing cooking odors, grease, and smoke. This rangehood must be installed between the minimum and maximum dimensions indicated in the table above.
Venting options
Attention should be given to ensuring that any applicable regulations concerning the discharge of exhaust air are fulfilled.
The rangehood can be installed to operate with the exhaust air ducted externally from the kitchen, or installed to operate with the exhaust air recirculating within the kitchen. Ducted
For ducted installation, it is recommended that 150 mm diameter, rigid or semi-rigid ducting is used. This will require a 160 mm (min) round hole in the ceiling or wall. Care should be taken to position the hole correctly.
For optimal efficiency use the shortest and straightest duct route possible and use rigid or semi-rigid ducting for reduced noise and increased airflow. Flexible metal ducting should only be used as a last resort (ie in difficult installations) and if used ensure that it is straight and smooth and extended as much as possible.
Recirculating
To enable the product to operate with the air recirculating, please purchase a recirculation diverter and carbon filters (refer to the ‘Parts and accessories section). The recirculation diverter is required to channel the air out the side vents at the top of the chimney and the carbon filters are required to remove odors.
Note: a ducting hole is not required in the wall or ceiling if the rangehood is installed to operate with exhaust air recirculating.
WARNING!
- This product is heavy and requires two persons for installation.
- Installation work and electrical wiring must be done by a qualified person(s) in accordance with all applicable codes and standards.
- Failure to install the screws or fix the device in accordance with these instructions may result in electrical hazards
IMPORTANT!
Wear gloves to protect against sharp edges.
The manufacturer is not liable for any damage caused by not following these instructions.
Installation
- Preparing for installation:
Before installing your rangehood:
• Please read the instructions carefully.
• Unpack the rangehood.
• Ensure that the voltage (V) and the frequency (Hz) indicated on the serial plate match the voltage and frequency at the installation site.
• Check that all functions are working.
• Check that the area behind the installation surface to be drilled is clear of any electrical cables or pipes, etc.
• The rangehood surfaces can be damaged during installation if grazed or knocked by tools. Please take care to protect the surfaces during installation.
• Protect the cooktop surface with cardboard, or the like, to prevent damage from occurring whilst the rangehood is being installed above.
• Temporarily mark the height of the bottom of the range hood and the center of the cooktop on the wall according to the information given in the ‘Installation instructions – Height of rangehood section.
• The wall used for mounting the rangehood should have sufficient strength and a flat surface. - Attach chimney brackets and rangehood mounting screws to the wall
• Attach the chimney bracket and upper chimney bracket in the location shown in Fig.2 (refer to page 10) and 3 (refer to page 11). Use the 30 mm screws (and expansion plugs if attaching to masonry).
• Attach the upper rangehood mounting screws in the locations shown in Fig.2 (refer to page 10) and 3 (refer to page 11). Use the 30 mm screws (and expansion plugs if attaching to masonry). Ensure that there is a 2 mm gap between the screw head and the wall (see Fig.1).

HC6OPLX4 HC9OPLX4 PRODUCT DIMENSIONS mm mm N Lower rangehood attachment point width 440 550 O Lower rangehood attachment point height 40 40 P Upper rangehood attachment point width 250 250 Q Upper rangehood attachment point height 295 295 R Chimney bracket attachment point width 235 235 S Chimney bracket attachment point height 575 575 T Upper chimney bracket attachment point width 250 250 U Upper chimney bracket attachment point height 25 25 
- Attach the ducting adapter to the rangehood
• Place the ducting adapter onto the rangehood and screw it in place using the 10 mm screws.
- Wall mounting
• Remove the filters – pull the relative catch and tilt the filter downwards until it disengages from the supports.
• Hang the rangehood off the upper rangehood mounting screws with a 2 mm gap. Hang off the keyhole attachment points on the back of the range hood then tighten the screws.
• Attach the lower rangehood mounting screws to fix the rangehood to the wall.
• Refit the filters. - Attach ducting
Attach ducting to the ducting adapter using aluminum duct tape and vent outside. - Attach chimney
• Bend the tabs on the chimney (A).
• Place chimney around the hood chassis and hang off the bracket (B).
• Extend the upper chimney and attach to the chimney bracket with 10 mm screws (C).
- Remove packaging
Remove all packaging and protective wrappings.
OPERATING INSTRUCTIONS
Control panel

Note: we recommend turning your rangehood on before you start cooking for optimal performance.
CLEANING AND MAINTENANCE
WARNING!
Unplug or disconnect the appliance from the power supply before servicing or cleaning.
IMPORTANT!
- Never use abrasive or oil-based cleaners.
- Wear gloves to protect against sharp edges.
Maintenance
The rangehood should be cleaned regularly using a mild, liquid detergent and a clean soft cloth to avoid a build-up of grease occurring. Avoid the use of corrosive chemicals, abrasive cleaning products, hard brushes, and steel wool pads. Grease deposits are corrosive and can cause damage to your rangehood.
Note: in areas of high humidity or coastal environments, cleaning should be carried out more frequently.
Aluminum filters
- Depending on use, and at least once a month, the aluminum grease filters should be removed and cleaned with hot soapy water or in a dishwasher.
- If washed in a dishwasher, the filters should be placed in an upright position to prevent food from falling on them.
- After rinsing and drying, refit the filters.
Note: some discoloration of the frames may occur.
Removing the aluminum filters:
- Pull the relative catch, tilting the filter downwards until it disengages from the supports
- Reverse these instructions when refitting the filters.

WARNING!
When replacing the bulb, let the bulb cool, and assure that power to the rangehood has been turned off. Use new bulbs according to that indicated on the rangehood nameplate.
Carbon filters – for use in recirculation mode
Active carbon filters are disposable items designed to remove grease and odors from cooking vapors before the air is channeled back into the kitchen. The active carbon filters must be replaced periodically to work properly, at least every three months, depending on the frequency with which the rangehood is used.
Note: fully saturated carbon filters can become a barrier to air movement, therefore, limiting rangehood performance. In the event of a fire, grease-laden filters could be flammable and therefore regular replacement is recommended.
Replacing the light bulb
ILOCOS D code: DRR-3.5-220/240-GU10-50/50
- To replace a light bulb, first, disconnect the rangehood from its power supply
- Apply finger pressure to the face of the light bulb and twist one quarter turn anti-clockwise.
- Remove the faulty bulb and fit the replacement bulb into the lamp holder by applying finger pressure—twist one quarter turn clockwise.
Note: replacement bulbs are not covered by the Manufacturer’s Warranty.
PARTS AND ACCESSORIES
| ITEM | REFERENCE NUMBER |
| LED bulb | 792603 |
| Aluminum filter | 792527 |
| Recirculation carbon filter x2 | 792481 |
| Recirculation diverter | 791820 |
| Ducting kit 150 mm (eaves) | PD-RHK150E |
| Ducting kit 150 mm (wall) | PD-RHK150W |
CUSTOMER CARE
Before you call for service or assistance…
Check the things you can do yourself. Refer to the installation instructions and your user guide and check that:
- Your product is correctly installed.
- You are familiar with its normal operation.
If after checking these points you still need assistance or parts, please refer to your nearest Authorised Service Centre, Customer Care, or contact us through our website
www.fisherpaykel.com.
In New Zealand, if you need assistance…*
Visit us online or call the Fisher & Paykel Customer Care Centre and talk to one of our Customer Care Consultants.
Toll-Free: 0800 FP CARE or 0800 372 273
Website: www.fisherpaykel.com
Postal address: Fisher & Paykel Appliances Ltd, PO Box 58550, Botany, Auckland 2163
If you need service…*
Fisher & Paykel has a network of independent Fisher & Paykel Authorised Repairers whose fully trained technicians can carry out any service necessary on your appliance. Your dealer or our Customer Care Centre can recommend a Fisher & Paykel Authorised Repairer in your area.
In Australia, if you need assistance…*
Visit us online or call the Fisher & Paykel Customer Care Centre and talk to one of our Customer Care Consultants.
Toll-Free: 1300 650 590
Website: www.fisherpaykel.com
Postal address: Fisher & Paykel Appliances Ltd, PO Box 798, Cleveland QLD 4163
If you need service…*
Fisher & Paykel has a network of Fisher & Paykel trained and supported service technicians responsible for servicing only Fisher & Paykel branded appliances. Our Customer Care Centre can recommend a Fisher & Paykel trained and supported service technician in your area.
if you call, write or contact our website please provide your name and address, model number, serial number, date of purchase, and a complete description of the problem. This information is needed in order to better respond to your request for assistance.
Product details can be found under the aluminum filter.
Registration
Register your product with us so we can provide you with the best service possible. To register your product visit our website: www.fisherpaykel.com
Complete and keep for safe reference:
Model: —————————
Serial No.————————
Purchase Date—————–
Purchaser———————-
Dealer————————-
Suburb————————-
Town————————-
Country————————–
FISHERPAYKEL.COM
© Fisher & Paykel Appliances 2022. All rights reserved.
The models shown in this guide may not be available in all markets
and are subject to change at any time.
The product specifications in this guide apply to the specific products and
models described at the date of issue. Under our policy of continuous product
improvement, these specifications may change at any time.
For current details about model and specification availability in your country,
please go to our website or contact your local Fisher & Paykel dealer.
104033D 06.22




• Hang the rangehood off the upper rangehood mounting screws with a 2 mm gap. Hang off the keyhole attachment points on the back of the range hood then tighten the screws.
• Attach the lower rangehood mounting screws to fix the rangehood to the wall.


















