Whirlpool WFE505W0HB3 30″ Freestanding Electric Range

COOKTOP PARTS
Part No. Description
- Literature Parts
W11333124 Use and Care Guide
W11333088 Installation
Instructions
W11326982 Diagram, Wiring
W11351201 Tech Sheet - W10225448 Spring, Element
- W10607641 Bracket, Cooktop
(Left)
W10607642 Bracket, Cooktop
(Right) - Cooktop
W11034825 Black
W11034824 White - 5 W10275048 Element
(3000/1400W)
(Left Front) - W10248261 Element (1200W)
(Left Rear and Right Rear) - W10248262 Element (2500W)
(Right Front) - W10799048 Element, Warm Zone
(Center) - W11379945 Bracket, Anti-Tip
- 7101P485-60 Screw, Anti-Tip Kit
- 3196169 Screw
- W10691223 Pan, Radiant Element
FOLLOWING PARTS
NOT ILLUSTRATED
W11452624 Harness, Main
W11134592 Harness, Warm Zone
W1113455 1 Harness, Cooktop
(Right)
W11134603 Harness, Cooktop (Left)
CONTROL PANEL PARTS
Part No. Description
- Endcap
W11130372 Black (Left)
W11130379 Black (Right)
W11130371 White (Left)
W11130378 White (Right) - W10695491 Bracket, Control
- Panel, Console
W11027374 Black
W11027375 White - W10434452 Switch, Infinite (Dual)
(Left Front)
3148951 Switch, Infinite
(Left Rear and Right Rear)
3148954 Switch, Infinite
(Orange)
(Right Front) - 3196169 Screw
- Control, Electronic (LCX)
W11511579 Black W11428349 White - Knob
W11022718 Black
W11022720 White - W10134247 Shield, Heat
- 3400882 Screw
- 8272473 Cover, Upper Rear
- W10525121 Bracket, Console
Mounting
CHASSIS PARTS
Part No. Description
- W10289077 Receiver, Hinge
- W10362924 Screw
- Panel, Side
W10162245 Black
W10575396 White - 3400029 Nut
- W10129032 Seal, Door
- 9757340 Element, Broil
- W11111743 Element, Bake
- 3196154 Screw
- 9 W10134285 Tube, Vent
- W10674705 Glide, Drawer Front
- W10341186 Front Foot Assembly 12
- W10067840 Screw
- 8054068 Retainer, Insulation
- W10137382 Clip, Panel
- W10390007 Base Rail Assembly (Right)
W10390008 Base Rail Assembly (Left) - W10058460 Foot, Leveling
- 3196548 Fuse, Thermal
- 3196172 Screw
- W10404688 Clip, Oven Support
- 3186034 Bracket, Service
- W10245259 Block, Terminal
- W10281322 Kit, Bare Wire Adapter Block
- 3196178 Screw
- W11430367 Light Assembly
- W10571723 Bulb, Halogen 40 Watts
- 3400016 Screw
- W10181986 Sensor, Oven
- 3196169 Screw
- W10326122 Cover, Terminal Block
- W10031780 Screw
- W11173792 Rack, Oven
- W10910404 Counterweight
- W11034869 Screw
- 9761301 Screen, Vent
FOLLOWING PARTS
NOT ILLUSTRATED
8273263 Insulation, Wrap
8272611 Insulation, Back
W10333344 Insulation, Flue
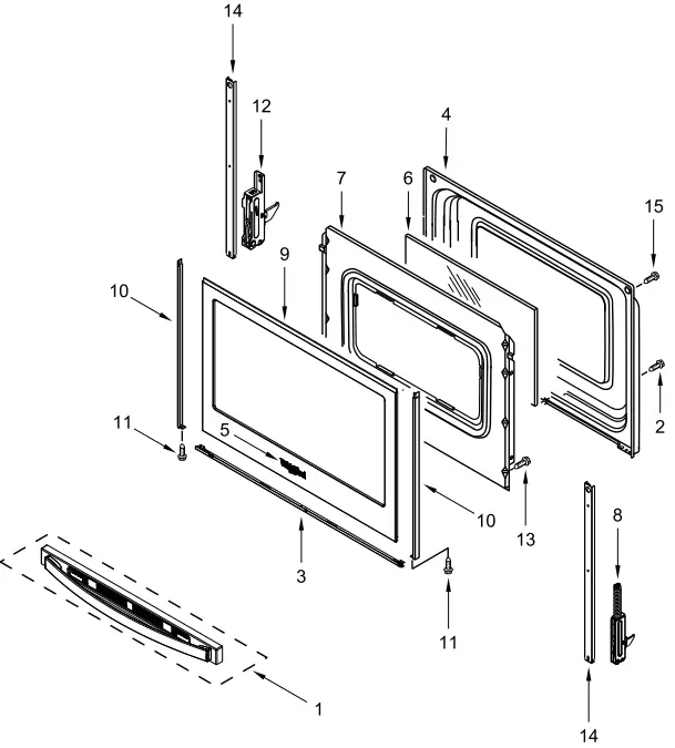
DOOR PARTS
Part No. Description
- Handle and Vent Assembly
W11242949 Black
W11242947 White - W10031790 Screw
- Trim, Lower Door
8523177 Black
8523175 White - 9761344 Liner, Door
- W10884775 Badge
- W11367326 Glass, Inner
- 9761505 Retainer, Insulation
- W10299225 Hinge, Active
- Glass Assembly, Outer Door
W10884159 Black
W10409945 White - Trim, Side
W10746436 Black (Left)
W10746435 Black (Right)
8523172 White (Left)
8523166 White (Right) - W10327235 Screw
- W10299227 Hinge, Door (Passive)
- W10031780 Screw
- W11379944 Strap, Door
- W10200660 Screw
DRAWER PARTS
Part No. Description
- 3196169 Screw
- W10688022 Drawer, Storage
- Rivet, Push
3196813 Black
3196814 White - W10674708 Glide, Drawer Rear
- 3196165 Screw
- Panel, Drawer Front
W11123900 Black
W11123901 White - W10462912 Bracket, Mounting Drawer
OPTIONAL PARTS (NOT INCLUDED)
REFINISHING MATERIAL
Part No. Description
- 242756 Oven Liner Touch-Up Paint
INSULATION
Part No. Description
- 261514 Insulation (1-1/2″ x 24″x 120″)
- 240132 Insulation (2-1/2″ x 22″x 120″)
PAINT, TOUCH-UP (1/2OZ.)
Part No. Description
- 72017 White
- 511873 White Porcelain (2 oz.)
PAINT, PRESSURIZED SPRAY (12 OZ.)
Part No. Description
- 350930 White
- 285006 Black
- 206922 Primer (White)
PAINT, BULK (1 QT.)
Part No. Description
- 799344 White (Uncut)
ACCESSORY PARTS
Part No. Description
- 4396923 Grid, Broiler Pan and
W10355016 Cleaner, Stainless Steel
W10355051 Cleaner, Cooktop
WA906B Scraper, Cooktop 4396096RB Griddle
4396923 Grid, Broiler Pan and
W10123240 Rack, Broiler Pan &Roasting


























