Midea EMB17G5MA-S Microwave Oven
INSTRUCTIONS
Read these instructions carefully before using your microwave oven, and keep it carefully. If you follow the instructions, your oven will provide you with many years of good service.
PRECAUTIONS TO AVOID POSSIBLE EXPOSURE TO EXCESSIVE MICROWAVE ENERGY
- Do not attempt to operate this oven with the door open since the operation can result in harmful exposure to microwave energy. It is important not to defeat or tamper with the safety interlocks.
- Do not place any object between the oven front face and the door or allows soil or place any object between the oven front face and the door or allows soil or
- Do not operate the oven if it is damaged. It is particularly important that the oven door close properly and that there is no damage to the:
- DOOR (bent)
- HINGES AND LATCHES (broken or loosened
- DOOR SEALS AND SEALING SURFACES
- The oven should not be adjusted or repaired by anyone except properly qualified service personnel.
Specifications
| Model: | EMB17G5MA-S |
| Rated Voltage: | 208/230V~60Hz |
| Rated Input Power(Microwave): | 3200W |
| Rated Output Power(Microwave): | 2100W |
| Oven Capacity: | 17L |
| External Dimensions: | 420 563 340mm |
| Net Weight: | Approx. 29.3kg |
IMPORTANT SAFETY INSTRUCTIONS
When using electrical appliances basic safety precautions should be followed, including the following:
WARNING
To reduce the risk of burns, electric shock, fire, injury to persons or exposure to excessive microwave energy:
- Read all instructions before using the appliance.
- Read and follow the specific: “PRECAUTIONS TO AVOID POSSIBLE EXPOSURE TO EXCESSIVE MICROWAVE ENERGY” found on page 2.
- This appliance must be grounded. Connect only to a properly grounded outlet. See “GROUNDING INSTRUCTIONS” found on page 5 .
- Install or locate this appliance only in accordance with the provided installation instructions.
- Some products such as whole eggs and sealed containers – for example, closed glass jars – are able to explode and should not be heated in this oven.
- Use this appliance only for its intended use as described in the manual. Do not use corrosive chemicals or vapors in this appliance. This type of oven is specifically designed to heat, cook or dry food. It is not designed for industrial or laboratory use.
- As with any appliance, close supervision is necessary when used by children.
- Do not operate this appliance if it has a damaged cord or plug, if it is not working properly, or if it has been damaged or dropped.
- This appliance should be serviced only v by qualified service personnel. Contact the nearest authorized service facility for examination, repair, or adjustment.
- Do not cover or block any openings on the appliance.
- Do not store this appliance outdoors. Do not use this product near water – for example, near a kitchen sink, in a wet basement, near a swimming pool, or a similar location.
- Do not immerse the cord or plug in water.
- Keep cord away from heated surface.
- Do not let cord hang over edge of table or counter.
- When cleaning surfaces of door and oven that comes together on closing the door, use only mild, nonabrasive soaps, or detergent applied with a sponge or soft cloth.
- To reduce the risk of fire in the oven cavity:
- Do not overcook food. Carefully attend appliance when paper, plastic, or other combustible materials are placed inside the oven to facilitate cooking.
- Remove wire twist-ties from paper or plastic bag before placing bag in oven.
- If material inside of the oven ignite, keep oven door closed, turn oven off, and disconnect the power cord, or shut off power at the fuse or circuit breaker panel.
- Do not use the cavity for storage purposes. Do not leave paper products, cooking utensils, or food in the cavity when not in use.
- Liquids, such as water, coffee, or tea are able to be overheated beyond the boiling point without appearing to be boiling. Visible bubbling or boiling when the container is removed from the microwave oven is not always present.
THIS COULD RESULT IN VERY HOT LIQUID SUDDENLY BOILING OVER WHEN THE CONTAINER IS DISTURBED OR A UTENSIL IS INSERTED INTO THE LIQUID.
To reduce the risk of injury to persons:
- Do not overheat the liquid.
- Stir the liquid both before and halfway through heating it.
- Do not use straight-sided containers with narrow necks.
- After heating, allow the container to before removing the container.
- se extreme care when inserting a stand in the microwave oven for a short time spoon or another utensil into the container.
SAVE THESE INSTRUCTIONS GROUNDING INSTRUCTIONS
This appliance must be grounded. In the event of an electrical short circuit, grounding reduces the risk of electric shock by providing an escape wire for the electric current. This appliance is equipped with a cord having a grounding wire with a grounding plug. The plug must be plugged into an outlet that is properly installed and grounded.
WARNING
Improper use of the grounding can result in a risk of electric shock. Consult a qualified electrician or serviceman if the grounding instructions are not completely understood, or if doubt exists as to whether the appliance is properly grounded. If it is necessary to use an extension cord, use only a 3-wire extension cord that has a 3-blade grounded plug, and 3-slot receptacle that will accept the plug on the appliance. The marked rating of the extension cord shall be equal to or greater than the electrical rating of the appliance.
DANGER
Electric Shock Hazard Touching some of the internal components can cause serious personal injury or death. Do not disassemble this appliance.
WARNING
Electric Shock Hazard Improper use of the grounding can result in electric shock. Do not plug into an outlet until the appliance is properly installed and grounded.
- A short power-supply cord is provided to reduce the risks resulting from becoming entangled in or tripping over a longer cord.
- Longer cord sets or extension cords are available and may be used if care is exercised in their use.
- If a long cord or extension cord is used:
- The marked electrical rating of the cord set or extension cord should be at least as great as the electrical rating of the appliance.
- The extension cord must be a grounding-type 3-wire cord.
- The longer cord should be arranged so that it will not drape over the countertop or tabletop where it can be pulled on by children or tripped over unintentionally.
RADIO INTERFERENCE
- The operation of the microwave oven may cause interference to your radio, TV equipment.
- When there is interference, it may be reduced or eliminated by taking the following measures:
- Clean door and sealing surface of the oven
- Reorient the receiving antenna of radio or television.
- Relocate the microwave oven with respect to the receiver.
- Move the microwave oven away from the receiver.
- Plug the microwave oven into a different outlet so that the microwave oven are on different branch circuits.
SAFETY
- The oven must be on a leveled surface.
- The turntable and turntable roller rest must be in the oven during cooking. Place the cookware gently on the turntable and handle it carefully to avoid possible breakage.
- Incorrect use of browning dish may cause the turntable to break.
- Use only the specified bag size when using Direct Access Popcorn.
- The oven has several built-in safety switches to ensure that the power remains off when the door is open. Do not tamper with these switches.
- Do not operate the microwave oven empty. Operating the oven with no food or food that is extremely low in moisture can cause fire, charring or sparking.
- Do not cook bacon directly on the turntable. Excessive local heating of the turntable may cause the turntable to break.
- Do not heat baby bottles or baby food in the microwave oven. Uneven heating may occur and could cause physical injury.
- Do not heat narrow-necked containers, such as syrup bottles.
- Do not attempt to deep-fry in your microwave oven.
- Do not attempt home canning in this microwave oven, as it is impossible to be sure all contents of the jar have reached boiling temperature.
- Do not use this microwave oven for commercial purpose. This microwave oven is made for household use only.
- To prevent delayed eruptive boiling of hot liquids and beverages or scalding yourself, stir liquid before placing the container in the oven and again halfway through cooking time. Let stand in the oven for a short time and stir again before removing the container.
- Use carefully when cooking food in the microwave oven to avoid burning due to excessive cooking.
- When the appliance is operated in the combination mode, children should only use the oven under adult supervision due to the temperatures generated.
- Failure to maintain the oven in a clean condition could lead to deterioration that could adversely affect the life of the appliance and possibly result in a hazardous situation.
UTENSILS
CAUTION
Personal Injury Hazard Tightly-closed utensils could explode. Closed containers should be opened and plastic pouches should be pierced before cooking. See the instructions on “Materials you can use in microwave oven or to be avoided in a microwave oven.” There may be certain non-metallic utensils that are not safe to use for microwaving. If in doubt, you can test the utensil in question following the procedure below. Utensil Test:
- Fill a microwave-safe container with 1 cup of cold water (250ml) along with the utensil in question.
- Cook on maximum power for 1 minute.
- Carefully feel the utensil. If the empty utensil is warm, do not use it for microwave cooking.
- Do not exceed 1 minute of cooking time.
Materials you can use in a microwave oven
Materials to be avoided in a microwave oven
SETTING UP YOUR OVEN
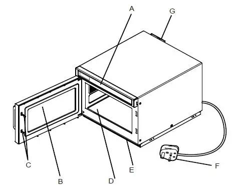
Names of Oven Parts and Accessories Remove the oven and all materials from the carton and oven cavity. Your oven comes with the following accessories:
Instruction Manual 1
- Control panel
- Observation window
- Safety interlock system
- Ceramic board
- Filter
- Plug
- Ventilation
Note:
- Don’t press the ceramic board forcibly.A
- utensils gently during the operation in order to avoid damage to the ceramic board
- After using, don’t touch the ceramic board by hand in order to avo i d h i g h temperature scald.
Countertop Installation
Remove all packing material and accessories. Examine the oven for any damage such as dents or broken door. Do not install if oven is damaged.Cabinet: Remove any protective film found on the microwave oven cabinet surface.
Installation
Select a level surface that provides enough open space for the intake and/or outlet vents(Figure1).
Stacking and installation of the microwave oven. The maximum height of stacking shall be two layers. Specific stacking installation is as follows
- Unscrew and remove the mounting plate, and then tighten the screws.
- Remove the four screws as shown in Figure.
- Mount the mounting plate to the lower position and fix the screws that are just loosened.

A 10-cm spacing should be kept between the appliance and right and back walls, and a 30-cm spacing kept on the top. Never dismantle the appliance’s feet , nor block the air intake and exhaust opening. The left side must be open.
- Blocking the intake and/or outlet openings can damage the oven.
- Place the oven as far away from radios and TV as possible. The operation of a microwave oven may cause interference to your radio or TV reception.
- Plug your oven into a standard household outlet. Be sure the voltage and the frequency is the same as the voltage
and the frequency on the rating label. - Warning: The plugs socket, electric appliances or the appliance which are liable affected by heat and moisture should be kept away from any vents on the oven.
Cleaning Instructions Always keep the oven clean
- Cleaning the glass viewing window, the inner door panel and oven front face. For best performance and to maintain the high degree of safety, the inner door panel and oven front face should be free of food or grease build-up. Wipe these parts with a mild detergent, rinse and wipe dry. Never use abrasive powders or pads.
- Cleaning the control panel and plastic parts. Do not apply a detergent or an alkaline liquid spray to the control panel and plastic parts, as this may cause damage to these parts. Use a dry cloth (not a soaked cloth) to clean these parts.
- Cleaning the oven interior After use be sure to clean up spilled liquids, spattered oil and food debris as quickly as possible. If the oven is used when dirty, efficiency drops and the dirt gets stuck on the oven surface and may cause bad odours. Clean the interior with a cloth soaked in lukewarm water with a mild detergent dissolved in it, then rinse the soap off with a damp cloth.
- Cleaning the oil blockage regularly, keep the oil blockage clear . Otherwise,the stain on the oil blockage will drop on the food.
- Cleaning the filter regularly, keep it clear.The appliance will overheat when the filter is blocked.
- When the appliance is operated,oil blockage and filter location must correct, avoiding to damage other parts(the installation in page 19and 20).
CAUTION:
Do Not wipe plastic and painted sections of the oven with bleach, thinners or other cleaning agents, as this may cause these parts to dissolve or change sharp.
OPERATION
- Defrost Button
- USB Buttons
- Power Level Button
- Time Entry Button
- Double Quantity Button
- Triple Quantity Button
- Number Buttons
- Stop/Reset Button
- Start Button
OPERATION INSTRUCTION
| Option | Setting | Discription |
| 1 EOC Tone | OP:10 | 3 seconds beep |
| OP:11 | Continuous beep | |
| OP:12 | 5 quick beeps,Repeating | |
| 2 Beeper Volume | OP:20 | Beeper Off |
| OP:21 | Low | |
| OP:22 | Medium | |
| OP:23 | High | |
| 3 Beeper On/Off | OP:30 | Keybeep Off |
| OP:31 | Keybeep On | |
| 4 Keyboard Window | OP:40 | 15 seconds |
| OP:41 | 30 seconds | |
| OP:42 | 60 seconds | |
| OP:43 | 120 seconds | |
| 5 On the Fly | OP:50 | On-the-Fly Disabled |
| OP:51 | On-the-Fly Enabled | |
| 6 Door Reset | OP:60 | Door reset Disabled |
| OP:61 | Door Reset Enabled | |
| 7 Max time | OP:70 | 60 Minute Maximum Cook T ime |
| OP:71 | 10 Minute Maximum Cook Time | |
| 8 Manual Programming | OP:80 | Manual Programming Disabled |
| OP:81 | Manual Programming Enabled | |
| 9 Double Digit | OP:90 | Single Digit Mode-10 programs |
| OP:91 | Doule Digit Mode-100 programs | |
| 0 Clean filter | OP:00 | Off-Never Display Clean filter |
| OP:01 | Weekly-Display every 7 days | |
| OP:02 | Monthly-Display every 30 days | |
| OP:03 | Quarterly-Display every 90 days |
Appendix. B Default Cook T imes
The oven shall ship with the following Preset Cook Times unless otherwise noted in the Product Specification.
| Button | Display (Time) | Power | Cook Factors |
| 1 | 0:10 | 100% | 80% |
| 2 | 0:20 | 100% | 80% |
| 3 | 0:30 | 100% | 80% |
| 4 | 0:45 | 100% | 80% |
| 5 | 1:00 | 100% | 80% |
| 6 | 1:30 | 100% | 80% |
| 7 | 2:00 | 100% | 80% |
| 8 | 2:30 | 100% | 80% |
| 9 | 3:00 | 100% | 80% |
| 0 | 3:30 | 100% | 80% |
Power Up
When the oven is electrified for the first time, the voltage will display for 3 times and then” ” will display. If button is pressed, the oven will change to idle mode.
Note:
Under idle mode, any button press will no respond.
Idle Mode
- Entry.The oven shall enter idle mode after a set of seconds have expired in Ready Mode without a keyboard press or a door open and close. The number of seconds is determined by the keyboard Timeout Window, set by User Option 4.
- During idle mode, the screen is blank.And there shall be no oven activity.
- Opening and then closing the oven door, the oven will exit the idle mode and into ready mode.
Ready Mode
- In this mode, the oven is ready to either begin a manual or preset cook cycle.
- Opening and closing the door while the oven is in Idle Mode will put the oven into Ready Mode.
- During Ready Mode, “READY” displays.
- From the Ready Mode, the oven can go to almost all of the other modes.
Door Open Mode
- While the door of the oven is open, the oven shall be in Door Open Mode.
- During this mode, the screen is blank. If the door is open during cooking state, “DOOR” and “OPEN” will diplay in order for once.Then the screen will display the remaining cooking time. And the fan and oven lampwork.
- When the door is closed, the oven shall be entered Ready Mode.
Note:
When the door is open, if User Option OP:60 is selected and the oven was running a manual or preset cook cycle, the oven shall enter Pause Mode. In all other cases, the oven shall return to Door open set,opening and closing the door will clear out any information about a Manual or Preset Program which was running.
Pause Mode
- This mode allows the users to temporarily stop the cooking cycle to inspect or stir the food item.
- While in Manual Cook Mode or Preset Program Cook Mode, if the door is open and then closed, or if the ” ” pad is pressed, the oven will enter Pause Mode.
- While paused, the screen will display the remaining cooking time.
- Pause Mode will expire back to Idle Mode in the exact fashion as Ready Mode, dependent on User Option 4. Additionally,if the ” ” button is pressed, the oven shall immediately enter Ready Mode.OR if press ” ” button,
the oven will go into working mode.
Manual Cook Entry Mode
- The user may manuallly enter a cook time and power level while in this mode.
- While the oven is in the Ready Mode,pressing the “Time Entry” pad on the keyboard will put the oven into Manual Cook Entry Mode.
- During this mode, “00:00” displays
- Press “Power Level” button, “%POWER” displays. Press number buttons to select power level you want, and the corresponding power will light. If you want to choose full power level, press “1” and “0” successively.Then the screen will display”%POWER” If no power chosen, 100% power is default.
- During setting process, press ” enter Ready Mode. ” to enter Manual Cook Mode. Press “
Manual Cook Mode
- This mode allows cooking of the food items.While in Manual Cook Entry Mode, pressing the ” ” pad will cause to the oven to begin Manual Cook Mode.
- During this mode, remaning cooking time displays. The fan and oven lamp will light.
- When cooking program finish, the oven will enter End of Cook Cycle Mode. ” button under this mode,the oven will enter Pause Mode.
End of Cook Cycle Mode
- After the time has expired in a Manual Cook Mode, or a Preset Program Cook Mode, the oven shall go into The End of Cook Cycle Mode.
- During this mode, “DONE” displays.
- If either User Option OP:11 or “OP:12″ is selected, the oven shall continue to sound until the user acknowledges this by either opening and closing the door or pressing the ” ” pad. If User Option OP:10 is selected, after the 3 second beep, the oven shall display
- “DONE”. After the beep, “READY” will display and the oven will enter Idle Mode without any operation for a period of time.
Preset Program Cook Mode
- This mode allows cooking of food items through a one pad touch operation. While in Ready Mode,pressing number buttons will cause the oven to run the Preset Program associated with that number button.
- During this mode, the screen displays the remaining cooking time. If it is multi-stage cooking, the total remaning cooking time displays not a particular stage cooking time. )
- When cooking program finish, the oven will enter End of Cook Cycle Mode. ” button under this mode,the oven will enter Pause Mode.
On the Fly Cooking
- While the oven is cooking, if User Option OP:51 is selected,press number buttons, the preset cooking program will start automatically.
- The screen displays the remaining cooking time.
- When the cooking program finish, the oven will enter End of Cook Cycle Mode.
Time Defrost Function
- In Ready Mode, APress ” ” button, screen will display “00.00”.
- Press the number buttons to input defrosting time. The maximum time is 99 minutes and 99 seconds.
- The remained cooking time will be displayed. will enter End of Cook Cycle Mode. If you press ” will enter Pause Mode. ” button under this mode,the oven
Programming Mode
This mode allows the user to assign cook times and power levels to the once touche button.
- Open the door and press “1” pad for 5 seconds,the buzzer will sound once and enter to Programming Mode.
- “PROGRAM” displays.
- Setting Program: Press number button to set the program. 2 seconds later, the screen will display the time associate with that number button.
- Input the time: Press number buttons to input time.
- Press “POWER LEVEL” button, “%POWER” displays. Press number buttons to If press ” ” button during setting process, the oven turn to Door Open Mode. The program that not saved will be lost. If there is program saved as memory procedure, press the related number button, the saved program will start. If no saved program, the buzzer will alarm when pressing number button and it will not work.For example: set the program as memory cooking. Power level 70% and cooking time is 1 minute and 25 seconds.
Step1:
Open the door, press number button “1” for 5 seconds,”PROGRAM” displays.
Step 2:
Press number button “3”, the screen will display “P:03″,After two seconds, the screen will display the related time ” :30″.
Step 3:
Press number buttons “1”, “2” and “5” to input the cooking time.
Double/ Triple Quantity cooking
Press “X2”, “DOUBLE” displays. Press “X3”, “TRIPLE” displays. When pressing number buttons, the screen will display the quantity preset time. For example, number button “5” and its preset time is 1 minute. Then press “X2”, then time will change to 1:00*2=2 (2 minutes) When cooking program finish, the oven will enter End of Cook Cycle Mode.
Stage Cooking Programming
This allows the user to cook food items at manual cook mode and programming mode.
- Three stages can be set at most under cooking mode or programming mode. Aftet setting the power and time for the first stage, press ” Time Entry ” to set the second stage. And the same step to set the third stage.
- When setting the second, third stage, press ” Time Entry”, “STAGE-2″,”STAGE-3”
displays. - Press the” ” button to start cooking. Example: In programming mode, press number buttons “3” to set two stages cooking. The first stage is PL7 and time is 1 minute 25 seconds. The second stage is PL5 and 5 minutes and 40 seconds. The steps are follow.
Filter Cleaning Function
- If User Option OP:51 is selected and the setting time arrives, the oven will remind the user to cleaning the filter. The oven must be electrified.
- The screen will display “CLEAN FILTER”. At this time, pressing ” the door will put the oven into Ready Mode.out the reminder information. Otherwise, the oven will remind you all the time during Idle Mode.
USB Function
- During Ready Mode, insert the U disk which saved the “Utable” file.
- Press “USB” button to update the data of computer board. “LOADING”
- If the update is successful, the screen will display “SUCCESS”. Otherwise, “Fail” will display.
Filter cleaning
The front filter serves as the air inlet; the filter on time to keep the chamber clean. should be cleaned
- Turn counterclockwise to unscrew and take down it with warm soap water;
- Install the filter screen Tighten clockwise the screws to fix the filter ;
- Make sure the filter is installed before use of the microwave oven;
- The factory setting has the function to remind the user of washing the filter every 30 days. hands (as shown by the arrows). Exert your strength following the direction of the arrows and pull downwards after you have pulled out the buckles:
Wash the splash shield: Installation: Pick up the splash shield and obliquely put it into the chamber in the way that insert the first pin at the rear into the positioning hole on the rear plate of chamber, then push the other side to insert all positioning pins into their positioning holes.
Installation (supplement)
- The switching operation of this microwave oven can cause voltage fluctuations on the supply line. The operation of this oven under unfavorable voltage supply conditions can have adverse effects. This device is intended for the connection to a power supply system with a maximum permissible system impedance Zmax of 0.2 Ohms at the interface point of the user’s supply. The user has to ensure that this device is connected only to a power supply system which fulfills the requirement above. If necessary, the user can ask the public power supply company for the system impedance at the interface point.
- If there is no equipotential bonding conductor in the electric supply, an external equipotential bonding conductor must be installed at the rear of the appliance (see symbol). This terminal shall be in effective electrical contact with all
fixed exposed metal parts and shall allow the connection of a conductor having a nominal cross-sectional area up to 10 mm².
Troubleshooting
Check your problem by using the chart below and try the solutions for each problem. If the microwave oven still does not work properly, contact the nearest authorized service center.
| TROUBLE | POSSIBLE CAUSE | POSSIBLE REMEDY |
|
Oven will not start | a. Electrical cord for oven is not plugged in. b. Door is open. c. Wrong operation is set. | a. Plug into the outlet. b. Close the door and try again. c. Check instructions. |
|
Arcing or sparking | a. Materials to be avoided in microwave oven were used. b. The oven is operated when empty. c. Spilled food remains in the cavity. | a. Use microwave-safe cookware only. b. Do not operate with oven empty. c. Clean cavity with wet towel. |
|
Unevenly cooked | a. Materials to be avoided in microwave oven were used. b. Food is not defrosted completely. c. Cooking time, power level is not suitble. d. Food is not turned or stirred. | a. Use microwave-safe cookware only. b. Completely defrost food. |
| foods | c. Use correct cooking time, power level. d. Turn or stir food. | |
| Overcooked foods | Cooking time, power level is not suitable. | Use correct cooking time, power level. |
|
Undercooked foods | a. Materials to be avoided in microwave oven were used. b. Food is not defrosted completely. c. Oven ventilation ports are restricted. d. Cooking time, power level is not suitable. | a. Use microwave-safe cookware only. b. Completely defrost food. c. Check to see that oven venti- lation ports are not restricted. d. Use correct cooking time, power level. |
|
Improper defrosting | a. Materials to be avoided in microwave oven were used. b. Cooking time, power level is not suitable. c. Food is not turned or stirred. | a. Use microwave-safe cookware only. b. Use correct cooking time, power level. c. Turn or stir food. |























