chicco E-Motion Glider and Bouncer
WARNING
Failure to follow these warnings and the instructions could result in serious injury or death Fall and Strangulation Hazards: Babies have suffered skull fractures and head injuries while falling in and from bouncers and swings and have strangled in straps.
- Use the product ONLY on the floor. Never use on any elevated surface.
- NEVER lift or carry baby in product.
Suffocation Hazard:
Babies have suffocated when bouncers tipped over on soft surfaces.
- NEVER use on a bed, sofa, cushion, or other soft surface.
- NEVER leave baby unattended. Stay near and watch baby during use. This product is not safe for un-supervised use or unattended sleep.
To prevent falls and suffocation:
- ALWAYS use restraints and adjust to fit snugly, even if baby falls asleep.
- STOP using product when baby starts trying to sit up, attempts to climb out (approximately 9 months), or has reached 20 lbs., whichever comes first.
- Do not use the product if any components are broken or missing.
- This product and all its components must be assembled by adults only.
- Make sure that the seat cover is always fitted correctly on the product frame.
- Do not carry the product with child in it.
- Periodically check for worn parts, loose screws, worn or frayed fabrics and immediately replace any damaged parts.
- Do not allow children to play unsupervised near the product.
Strangulation Hazard:
- Do not place the product near windows or other objects where strings, curtains or other items with cords could become entangled with the child.
- To prevent the risk of fire, never place the product near electrical appliances, gas cookers or other sources of intense heat.
- Do not use accessories or replacement parts other than those approved by the Chicco.
Components

How to Assemble Glider
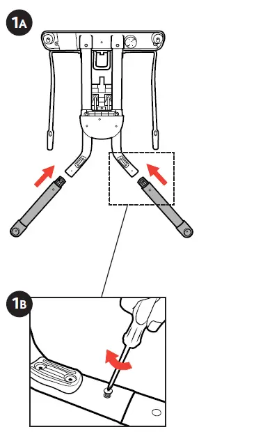
- Place the Base Frame upsidedown on a flat surface. Insert the Rear Legs (E) into the Base Frame (C), as shown.
- Secure the Rear Legs using the Screws (D) provided. Tighten the Screws with a Phillips head screw driver (not included).
How to Assemble Glider
- Turn the Base Frame right side up and locate the lower support arms. Lift up on the support arms until they lock into the open position.
- Line up and insert both arms of the Base Frame into the arms of the Top Support Frame (B). Push down to make sure the Support Frame is secure.

- Slide the Seat Fabric (A) onto the Top Support Frame. Pull the bottom edge of the Seat Fabric down over the lower section of the Support Frame.
- To secure the Seat Fabric to the Support Frame, wrap the corners of the fabric under the bottom of the Support Frame and attach both snap buttons.
- Locate the center fabric loop on the back of the Seat Frame, as shown. Secure the loop over the tab.


How to use Glider
WARNING
Avoid serious injury from falls or sliding out. Always secure child in the restraint. Never leave child unattended in Glider. Always keep child in view.

- Slide both Waist Clips into the Crotch Strap Buckle as shown. Pull on both sides to make sure the Clips are secured to the Buckle.
- The safety harness can be released by pressing the button on the center of the Crotch Strap Buckle and pulling both Waist Clips out.
- The length of the Waist Straps can be adjusted by pressing the tab at the end of the Waist Strap Clip and pulling on the strap to tighten or loosen to better fit your child.
- Press the Glide button on the front of the base. The button will light up and the Glider function will be active for 30 minutes. To start the movement of the Glider, gently push on the side of the seat.

- To use the Power Cord (F), make sure USB end of the Power Cord is attached to the Adapter.Insert the Power cord into the back of the Seat Base, as shown. Then plug the adapter into electrical outlet.

- The Glider has a function panel on the side of the base, as shown.

Music (top button):
Press the button to start playing the music cycle. Press it again to stop/restart the music. Volume/Cycle (middle button): Press and hold the middle button to change the volume of the music. Volume will cycle through 3 settings: low > medium > high > low, etc. Release the button when the desired volume is reached. Or, press the button once to select a different song. Keep pressing the button to cycle through the songs, until desired tune is reached. The song sequence will restart from this point.
Timer (bottom button):
Press button once when the front button light is lit. The light will start to blink indicating timer mode is active. The music and glider function will be active for 10 minutes. A movement from the baby or a tap on the seat will activate another 10 minute cycle (motion only). This can be repeated twice for a total of three 10 minute cycles.
Fitting and/or Replacing Batteries
The Glider requires 4 x “AA” 1.5 Volt alkaline type batteries (not included).
- Batteries must only be fitted by an adult.
- Always keep batteries and tools out of reach of children.
- Always remove spent batteries from the Glider to avoid the danger of possible battery leakage.
- Remove batteries before putting product into storage for a prolonged period of time.
- Only use alkaline batteries of the same type or equivalent to the type recommended for the correct function of this product.
- Do not mix new and old batteries, or different types of batteries.
- Do not mix Alkaline, standard (carbon-zinc), rechargeable (ni-cad) batteries.
- Make sure batteries are inserted correctly.
- Do not burn or dispose of spent batteries into the environment. Dispose of spent batteries at an appropriate differentiated collection point.
- Do not short-circuit the battery terminals.
- Do not attempt to recharge non-rechargeable batteries: they might explode.
- The use of rechargeable batteries is not recommended, since they could impair the functionality of the Glider.
- If rechargeable batteries are used, take them out of the Glider before recharging them. Batteries must always be recharged under adult supervision
- This Glider uses (4)1.5v AA batteries. To replace the batteries, loosen the screw holding the battery cover with a Phillips screwdriver and remove the battery cover.
- Insert the new batteries; check-ing to make sure the polarity (+/-) on the batteries matches the markings on the product. Replace the battery cover and tighten screw.

- To fold the Glider, lift up on the seat back then pull back on the release button while the seat back is lifted. Allow the seat back to rotate down flat, as shown. Store for later use.

- To remove the Seat Fabric, undo the snap buttons and release the fabric loop (see step 4C).

- Slide the Seat Fabric off of the Seat Frame, as shown. To replace the Fabric, see step 4.

Cleaning and Maintenance
The cleaning and maintenance of the Rocker must only be carried out by an adult.
CLEANING
The fabric seat can be removed (please refer to the steps 12-13). Please refer to the care label for instructions on how to clean the fabric seat. It is recommended to periodically wipe clean plastic parts with a soft damp cloth. Always dry the metal parts to prevent the formation of rust if the Glider has come into contact with water. Plastic can be cleaned with mild detergent and warm water, no bleach or harsh cleaners/abrasives.
MAINTENANCE
This product requires regular maintenance. Periodically check the Glider for wear, damage, or missing components. Should any parts be missing or damaged, the Glider must not be used. Please call customer service for assistance.
FCC Information
Changes or modifications not expressly approved by the party responsible for compliance could void the user’s authority to operate the equipment.
NOTE: This equipment has been tested and found to comply with the limits for a Class B digital device, pursuant to Part 15 of the FCC Rules. These limits are designed to provide reasonable protection against harmful interference in a residential installation. This equipment generates, uses and can radiate radio frequency energy and, if not installed and used in accordance with the instructions, may cause harmful interference to radio communications. However, there is no guarantee that interference will not occur in a particular installation. If this equipment does cause harmful interference to radio or television reception, which can be determined by turning the equipment off and on, the user is encouraged to try to correct the interference by one or more of the following measures:
- Reorient or relocate the receiving antenna.
- Increase the separation between the equipment and receiver.
- Connect the equipment into an outlet on a circuit different from that to which the receiver is connected.
- Consult the dealer or experienced radio/TV technician for help.


































