M M ONE Dual SIM Smartphone

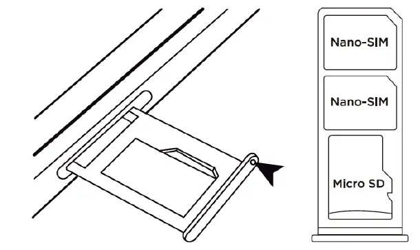
Insert SIM card
The phone is Dual SIM, which allows you the option of having two service providers.
To insert SIM card(s):
- insert the supplied tool into the hole on the left side of the terminal and remove the hidden tray
- Put the nanoSIM(s) and microSD card in their slots

- Put the tray back in place.
Camera and sensors
A rear quad camera module.
- 48MP main camera
- SMP wide angle
- 2MP depth sensor
- 2MP Macro
- 16MP Front Camera

Charge the Battery
The USB slot to charge the mobile or connect it to the computer is located at the bottom of the terminal

Keys and parts
The smartphone supports 4G/LTE cards and brings you a wonderful experience when you use its various features like 48MP main camera, 1080p video recorder, fingerprint reader, music player and an IPS FHD+ screen. It allows you to install various apps, games, and more (supports APK format) by downloading them from the Play Store.

Lock and unlock the screen
Press power button to enter Sleep mode and meanwhile the screen will be locked; press power button again to wake up and then drag the lock to the up side to unlock.

Make a call
On the start screen choose ” and enter a complete phone number to make a call.
Maintenance & Safety
Please read the following information carefully for your safety, proper use of your phone and to prevent damage. Please keep this guide in an accessible place after reading it.
- Use of unauthorized cables, power adapters, or batteries may cause fire, explosion, or other hazards.
- Use only authorized accessories that are compatible with your device.
- The operating temperature range of this device is 0°C to 40°C. Using the device in environments with a temperature range outside the indicated range may damage the device.
- If your device is provided with a built-in battery, please do not try to replace it yourself to avoid damage to the battery or the device.
- Charge the device only with the included and authorized power adapter and cable. Using other adapters may cause fire, electric shock, and damage to the device and adapter.
- When charging is complete, unplug the adapter from both the device and the power outlet. Do not leave the device charging for more than 12 hours.
- Keep the device dry.
General Notice
- Do not place your phone near other devices or objects with magnetic components such as credit cards, phone cards, subway tickets, etc. Magnetism could damage the data stored on the phone
- Talking on the phone for a long quality and produce heat.
- Using the phone near wave receiving devices may cause interference such as TV and Radio. can reduce call
- Do not immerse your phone in water. In case this happens, please take your phone to an authorized service center.
- The data stored on your phone can be deleted if the equipment requires any repair or Software update.
- Please back up your phone before handing it over to an authorized service center or performing a software update. The manufacturer will not be responsible for the loss of data on the phones.
- Do not turn your phone on or off when it is close to your ear.
- When the phone is not going to be used for a long period of time, store it unplugged in a safe place.
- Do not paint your phone
WARNING
FCC RF Exposure Information and Statement: The SAR limit of USA (FCC) is 1.6W/kg averaged over one gram of tissue. Product, model number: ONE (FCC ID: 2A67L-ONE) has also been tested against this SAR limit. The highest SAR value reported under this standard during product certification for use at the head is 1.550W/kg and when properly worn on the body Is1.066W/kg.The device was tested for typical body-worn operations with the back of the handset kept 10mm from the body. To maintain compliance with FCC RF exposure requirements, use accessories that maintain a 10mm separation distance between the user body and the back of the handset. The use of belt clips, holders and similar accessoriess should not contain metallic components in its assembly. The use of accessories that do not satisfy these requirements may not comply With FCC RE exposure requirements, and should be avoided.
This device complies with part 15 of the FCC Rules. Operation is subject to the following two conditions: () This device may not cause harmful interference, and (2) this device must accept any interference received, including interference that may cause undesired operation. Any changes or modifications not expressly approved by the party responsible for compliance could vold the users authority to operate the equipment. Note: This equipment has been tested and found to comply with the limits for a class B digital device, pursuant to part 15 of the FCC Rules. These limits are designed to provide reasonable protection against harmful interference in a residential installation. This equipment generates uses and can radiate radio frequency energy and, if not installed and used in accordance with the instructions, may cause harmful nterterenceto radiocommunication5. However, there 5no guarantee that interference willnot occur in a particular installation. If this equipment does cause harmful interference to radio or television reception, which can be determined by turning the equipment off and on, the user is encouraged to try to correct the interference by one or more of the following measures: -Reorient or relocate the receiving antenna Increase the separation between the equipment and receiver. -Connect the equipment into an outlet on a circuit different from that to which the receiver is connected, -Consult the dealer or an experienced radio/TV technician for help




















