CELESTRON 48029 Elements ThermoCharge 3 Power Bank Instruction Manual
Thank you for purchasing the Celestron ThermoCharge 3! The ThermoCharge 3 is an essential multi-use tool designed to be used in the elements. Its portable, high-capacity power pack can supply power to your cell phone, MP3 player, and many other USB-powered devices.
WARNING: Read all instructions and warnings thoroughly before using ThermoCharge 3. Improper use of this product may result in product damage, excess heat, toxic fumes, fire or explosion. Do not allow children to use this product without proper adult supervision.
WHAT’S IN THE BOX:
1 – ThermoCharge 3
1 – USB cable with Mini USB connection
1 – Soft carrying bag
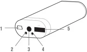
THERMOCHARGE 3

- Mini USB port
- Green/red LED status indicators
- Green indicates ThermoCharge 3 is charging an
external device - Red indicates hand warmer mode is on
- Green indicates ThermoCharge 3 is charging an
- On/off button
- Blue LED status indicator
- Blue indicates ThermoCharge 3’s internal battery is charging
- USB 2.0 port
CHARGING THE INTERNAL LITHIUM ION BATTERY
Your ThermoCharge 3 2-in-1 device has an internal, 3000 mAh rechargeable lithium ion battery, which allows for at least 4 hours of continuous use at a constant temperature of 104° to 113° Fahrenheit (40° to 45° Celsius). Your ThermoCharge 3 ships with a partial charge, but you should charge it completely
before using it for the first time.
Follow these steps to charge the internal battery:
- Attach the Mini USB connector end of the included USB cable to the Mini USB “in” port (1) on your ThermoCharge 3.
- Plug the standard USB plug end of the cable into a USB port on a PC, laptop, car charger or USB 5V-1A adapter plug.
- Once plugged in, the blue LED (4) will start to blink, indicating that charging is in progress.
- Charging is complete when the blue LED (4) stops blinking.
NOTE: The ThermoCharge 3 is designed with overcharge protection to prevent damage to the internal battery.
USING THE HAND WARMER FEATURE
- Press and release the on/off button once (3). The unit will begin to heat up. In minutes, it will reach its maximum temperature and you will feel the heat being conducted through the aluminum housing.
- Press the on/off button again to turn the ThermoCharge 3 off.
CHARGING AN EXTERNAL DEVICE
- Plug your device’s USB charging cable into the USB 2.0 port (5) on the ThermoCharge 3.
- Press and release the on/off button (3) quickly, then press and hold the on/off button to begin charging. Your device should indicate it is charging.
- When charge is complete, the ThermoCharge 3 will automatically power off.
SPECIFICATIONS
BATTERY: Rechargeable lithium polymer – 3000 mAh
INPUT: Mini USB Connector / 5V- 1A
OUTPUT: Standard 2.0 USB Connector / 5V- 1A
INTERNAL BATTERY CHARGE TIME: USB – 5 hours
MINIMUM NUMBER OF RECHARGES: >500
LED STATUS INDICATORS:
- Green LED/Red LED –
- Green indicates charging external device
- Red indicates hand warmer mode
- Blue LED indicates internal battery charging
HAND WARMER TEMPERATURE RANGE: 104° TO 113° Fahrenheit (40° TO 45° Celsius)
HAND WARMER CONTINUOUS USE TIME: At least 4 hours continuous use (based on fully charged battery)
OPERATING TEMPERATURE RANGE: 32° to 113° Fahrenheit (0° to 45° Celsius)
STORAGE TEMPERATURE RANGE: 68° to 77° Fahrenheit (optimal)
WEIGHT: 5.22 oz. (148 grams)
DIMENSIONS: 1.76 in x 3.72 in x 0.9 in
(44.9 mm x 94.6 mm x 22.9 mm)
POWER DELIVERY CHART:
iPhone XS (2658 mAh): 1.1 charges
iPad 4th (11,560 mAh): 0.25 charges
GoPro Hero 7 (1220 mAh): 2.5 charges
NOTE: Storage of more than 6 months without use may have detrimental effects on the condition of the lithium ion battery. It is recommended that you discharge and recharge fully every 3-4 months to maintain optimal battery life.
WARNINGS
Read all instructions and warnings prior to using this product. Improper use of this product may result in product damage, excess heat, toxic fumes, fire or explosion, for which damages you (“Purchaser”), and not Smart Team or Celestron (collectively “Manufacturer”) are responsible.
- Do not store battery in high temperature environment, including intense sunlight.
- Do not place battery in fire or other excessively hot environments.
- Be cautious of excessive drops, bumps, abrasions or other impacts to this battery. If there is any damage to the battery such as dents, punctures, tears, deformities or corrosion, due to any cause, discontinue use and contact manufacturer or dispose of it in an appropriate manner at your local battery recycling center.
- Do not disassemble this battery or attempt to repair or modify it in any manner.
- Do not expose this battery to moisture or submerge it in liquid. Keep battery dry at all times.
- Do not attempt to charge battery using any method, apparatus or connection other than the device’s USB connector. For questions or instructions for the various ways to charge the ThermoCharge 3, refer to this manual.
- Do not attempt to replace any part of this battery.
- This battery is intended for adult use only. If this battery is intended by Purchaser to be used by a minor, purchasing adult agrees to provide detailed instructions and warnings to any minor prior to use. Failure to do so is sole responsibility of Purchaser, who agrees to indemnify Manufacturer for any unintended use/misuse by a minor.
- All batteries have gone through a thorough quality assurance inspection. If you find that your battery is excessively hot, is emitting odor, is deformed, abrased, cut or is experiencing or demonstrating an abnormal phenomenon, immediately stop all battery use and contact Manufacturer.
- For extended storage, first charge your battery for at least one hour.
- Never dispose of batteries in the garbage. Disposal of batteries in the garbage is unlawful, in the United States, under state and federal environmental laws and regulations. Always take used batteries to your local battery-recycling center.
DISCLAIMER
Manufacturer shall not in any way be liable to you or to any third party for any damages you or any third party may suffer as a result of use, intended or unintended, or misuse of this battery. Manufacturer will not be responsible for any damages you or any third party may suffer as a result of misuse of this battery as outlined above. If you are responsible for battery use with an unintended mobile device and damages result from such use, you agree to indemnify Manufacturer for any resulting injuries to any third party or parties.
This device complies with part 15 of the FCC Rules. Operation is subject to the following two conditions:
- This device may not cause harmful interference, and
- this device must accept any interference received, including interference that may cause undesired operation.
NOTE: This equipment has been tested and found to comply with the limits for a Class B digital device, pursuant to part 15 of the FCC Rules. These limits are designed to provide reasonable protection against harmful interference in a residential installation. This equipment generates uses and can radiate radio frequency energy and, if not installed and used in accordance with the instructions, may cause harmful interference to radio communications. However, there is no guarantee that interference will not occur in a particular installation.
If this equipment does cause harmful interference to radio or television reception, which can be determined by turning the equipment off and on, the user is encouraged to try to correct the interference by one or more of the following measures:
- Reorient or relocate the receiving antenna.
- Increase the separation between the equipment and receiver.
- Connect the equipment into an outlet on a circuit different from that to which the receiver is connected.
- Consult the dealer or an experienced technician for help.
CAUTION: To comply with the limits of the Class B digital device, pursuant to Part 15 of the FCC Rules, this device is comply with Class B limits. All peripherals must be shielded and grounded. Operation with non-certified peripherals or non-shielded cables may results in interference to radio or reception.
MODIFICATION: Any changes or modifications not expressly approved by the grantee of this device could void the user’s authority to operate the device.
![]()
![]()
© 2019 Celestron • All rights reserved celestron.com/pages/technical-support
2835 Columbia Street • Torrance, CA 90503 USA
(Products or instructions may change without notice or obligation).
Designed and intended for those 14 years of age and older. 06-20



















