DAYTON AUDIO TT-1BT High Fidelity Belt Drive Turntable With Universal Tonearm Headshell

Product Information
- The Dayton Audio TT-1BT Turntable is a high-fidelity belt drive turntable with a universal tonearm/headshell. It is designed to play 33-1/3RPM and 45RPM records and can be connected to any audio system with various outputs. The turntable comes with a factory-fitted and adjusted cartridge, but instructions for adjusting the cartridge are provided in case it needs to be replaced with a different model.
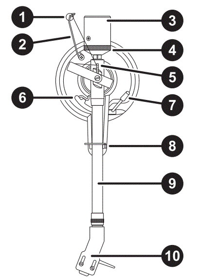
- The turntable features a top panel with a turntable plinth, motor pulley, turntable platter, speed selection dial, tonearm assembly, and start/stop dial. The rear panel includes a dust cover, dust cover hinge, ground connector, phono/line out RCA jacks, phono/line out switch, USB output, DC power port, Bluetooth indicator, and a power switch. The tonearm assembly consists of an anti-skating weight, anti-skating weight wire support, counterweight, tracking forge gauge ring, anti-skate stub, tonearm lift, tonearm lift control lever, tonearm locking ring, tonearm, and headshell with the cartridge.
Product Usage Instructions
- Initial Setup: The initial setup of the turntable should take about five minutes. Follow the instructions in the manual or refer to the how-to video at daytonaudio.com/topic/turntablesetup.
- Installing the Dust Cover: Carefully install
the dust cover over the hinge prongs, ensuring that they snap into
the slots on the dust cover. - Platter and Belt Setup:
- Place the platter on the turntable spindle, ensuring it is
fully seated and does not wobble. - Rotate the platter until the drive motor pulley is visible
through one of the windows in the platter. - While pulling both ends of the red ribbon attached to the belt,
place it around the slot of the motor pulley. Be careful not to
twist the belt during this process.
- Place the platter on the turntable spindle, ensuring it is
Please refer to the user manual for detailed instructions on other controls, functions, and setup procedures.
Safety Information
IMPORTANT SAFETY INSTRUCTIONS
To reduce the risk of electric shock, do not remove cover. No user serviceable parts inside. Refer servicing to qualified personnel. To reduce the risk of fire and shock do not expose unit to rain or moisture. The unit should be connected to an earth grounded AC electrical socket. The unit should be oper-ated in a well ventilated area. Minimum clearance is 2 inches from the ventilation openings.
FCC STATEMENT
- This device complies with Part 15 of the FCC Rules. Operation is subject to the following two conditions:
(a) This device may not cause harmful interference.
(b) This device must accept any interference received, including interference that may cause undesired operation.
NOTE: This equipment has been tested and found to comply with the limits for a Class B digital device, pursuant to part 15 of the FCC Rules. These limits are designed to provide reasonable protection against harmful interference in a residential installation. This equipment generates, uses and can radiate radio frequency energy and, if not installed and used in accordance with the instructions, may cause harmful interference to radio communications. However, there is no guarantee that interference will not occur in a particular installation. If this equipment does cause harmful interference to radio or television reception, which can be determined by turning the equipment off and on, the user is encouraged to try to correct the interference by one or more of the following measures:
- Reorient or relocate the receiving antenna.
- Increase the separation between the equipment and receiver.
- Connect the equipment into an outlet on a circuit different from that to which the receiver is connected.
- Consult the dealer or an experienced radio/TV technician for help.
Changes or modifications not expressly approved by the party responsible for compliance could void the user’s authority to operate the equipment.
Welcome
- Thank you for purchasing The Dayton Audio TT-1BT Turntable. This belt drive turntable can play 33-1/3RPM and 45RPM records and can connect to any audio system with a variety of outputs. Before using this product, read through the entire user manual to ensure proper setup and operation. Please keep this manual for future reference.
What’s In The Box
- TT-1BT Turntable
- Dust Cover
- Platter With Belt
- Reversible Slipmat
- Counterweight
- Anti-skate Weight
- 45 RPM Adaptor
- Cartridge Alignment Protractor
- USB-PC Cable
- Phono Out Cable
- 2pcs Lid Spare Rubber
- AC Adaptor
- User Manual (This document)
- This turntable is supplied with a factory-fitted and adjusted cartridge.
- The following instructions for adjusting the cartridge are provided in case the cartridge is replaced by a different model at a later date.
Controls and Functions
- Turntable Plinth
- Motor Pulley
- Turntable Platter
- Tonearm Assembly (p.5)
- Speed Selection Dial
- Start/Stop Dial
Rear Panel
- Dust Cover
- Dust Cover Hinge
- Ground Connector
- Phono / Line Out RCA Jacks
- Phono / Line Out Switch
- USB Output
- DC Power Port
- Bluetooth Indicator
- Power Switch
Tonearm Assembly
- Antiskating Weight
- Antiskating Weight Wire Support
- Counterweight
- Tracking Forge Gauge Ring
- Antiskate Stub
- Tonearm Lift
- Tonearm Lift Control Lever
- Tonearm Locking Ring
- Tonearm
- Headshell and Cartridge
Setup
- The initial setup of your new turntable should take about five minutes. Follow the instructions in this manual or you can view our handy how-to video at daytonaudio.com/topic/turntablesetup
Useful Tip
- The turntable should be positioned on a low-resonance surface such as wood or multiple-layer plywood board to avoid structural vibrations disturbing playback.
Installing the Dust Cover
- Install the lid carefully over the hinge prongs. The hinge prongs will snap into the slots on the dust cover.

Platter and Belt Setup
- Place the platter on the turntable spindle, making sure that is fully seated and does not wobble. Rotate the platter until the drive motor pulley is visible through one of the windows in the platter.

- While pulling both ends of the red ribbon that come attached to the belt and place it around the slot of the motor pulley. Be careful not to twist the belt when placing it on the motor pulley.

- Remove the red ribbon from the belt.

- Place the felt slipmat on top of the platter. Placing records directly on the aluminum platter is not recommended. The felt slipmat is reversible and can be used with the Dayton Audio logo facing up or down.

Cartridge Downforce Adjustment
- The counterweight needs to be adjusted to ensure that the cartridge applies the proper force to the record. Too much force will result in distorted audio and can lead to potential damage to records and decrease the life of the cartridge. Too little force will result in thin-sounding music and can cause the cartridge to skip and slide across the record.
- The counterweight supplied is suitable for cartridges weighing between 3.0-6.0g.

- Gently push and turn the counterweight onto the rear of the tonearm with the downforce scale facing toward the front of the turntable.

- Remove the cartridge protection cap, tie-wrap, and unlock the tonearm.

- Lower the tonearm lift and position the cartridge in the space between the tonearm rest and the platter.
- Carefully rotate the counterweight until the tonearm achieves a neutral, level balance. The tonearm should return to the balanced position if it is moved up or down. Perform this adjustment carefully.

- Once the tonearm is correctly balanced return it to the tonearm rest. “Zero” the tonearm by holding the counterweight still, and gently rotating only the tracking forge gauge ring until the zero is in line with the black line on the top of the tonearm. Unlock the tonearm and verify that it still maintains a level balance.

- Rotate the counterweight counterclockwise (seen from the front) to adjust the downforce according to the cartridge manufacturer’s recommendations. One mark on the scale represents 0.05g of downforce.
NOTE: The recommended downforce for the supplied AT-VM95E cartridge is 2.0±0.5g.
Anti-Skating Force Adjustment
The anti-skating weight is designed to keep a properly balanced tonearm and counterweight from drifting to the center of the record improperly.
Properly setting the anti-skate mechanism will provide a clear and balanced stereo image from your records. The directions here are designed for use with the supplied AT-VM95E cartridge.
- Slip the looped end of the line over the anti-skating weight adjustment stub and into Groove 3 (the correct antiskating force for the factory-fitted AT-VM95E cartridge). Pull the anti-skating weight slightly to let the tie of the line move to the stub.

- Lift the anti-skating weight over the anti-skating weight wire support. The anti-skating weight should now be dangling in free space to the left of support.

Anti-Skating Weight Settings
| Downforce | Groove in the stub |
| 5 – 10mN | 1st from bearing rings |
| 10 – 15mN | 2nd from bearing rings |
| 15 – 20mN | 3rd from bearing rings |
| 20mN and bigger | 4th from bearing rings |
Output Connections
Phono and Line Outputs
This product has a built-in phono equalizer function. The turntable can be used with any amplifier regardless of whether it was a phono input or not.
Use The Phono-Line Out Switch as follows
| Connected Device being Used | Position of Phono-Line Out Switch |
| Device with phono Input | Phono |
| Device without phono input | Line |
Phono Connection
When connecting to a device that has a built-in phono input, set the phono-line out switch to “PHONO”. Use the included RCA cable with ground wire to connect the turntable to the device. If the device has a ground terminal, connect the included ground wire to reduce potential noise during playback. If the phono-line out switch is set incorrectly the audio will be extremely distorted.
Line Connection
When connecting to a device that does not have a phono input, set the phono-line out switch to “LINE” to use the turntable’s built-in phono equalizer. Use the included cable to connect the turntable to the device. If the phono-line out switch is set incorrectly the audio will be extremely quiet and lack bass.
Note: RCA jack is not designed to be connected directly to the passive/unpowered speakers and if it does, the volume will be very low.
Bluetooth Connection
The TT-1BT has a built-in Bluetooth transmitter for connecting to any Bluetooth headphones, speakers, or other receivers.
- To pair the TT-1BT to your Bluetooth device, first make sure that the device is turned on and in pairing mode and that the TT-1BT is powered off.
- Power on the TT-1BT. The Bluetooth indicator light will flash to indicate that it is in search mode.
- When pairing, the light will flash and will become solid when paired successfully.
- To disconnect pairing, power off the TT-1BT or turn off Bluetooth pairing on your device.
- The TT-1BT will connect to the closest Bluetooth receiver. If no connection is made within 2 minutes the TT-1BT will stop searching and the Bluetooth indicator light will turn off. To connect to a Bluetooth device again, power off the turntable off and back on again.
- Note: The Bluetooth transmitter is unable to receive audio and will only work to transmit audio to other devices.
USB Connection
- The turntable can also be connected to a computer for archiving or recording audio from records. The USB connection can be used regardless of the position of the phono-line switch. Use the included USB cable to connect the turntable to any computer and will not require special drivers. There are many third-party audio recording software packages available that can be used.

Operation
Before Playing a Record
- Remove the cartridge’s protector.

- Turn the power switch to the ON position.
- Place the record on the platter so that the center hole aligns with the spindle.
- Some records will require the use of the included 45RPM adaptor
- Set the speed selection dial to match the required speed of the record (33-1/3 RPM, 45 RPM). This is usually printed on the center label of each record.

Playing a Record
- Turn the Start/Stop selector to the “Start” position. The platter will begin to rotate.
- Release the tonearm lock and raise the tonearm lift control lever.
- Position the tonearm over the desired location or groove on the record.
- Lower the tonearm lift control lever. The tonearm will slowly lower to the record surface.
Pausing a record
Raise the tonearm lift control lever to lift the tonearm off the record. The platter will continue to spin and the tonearm can be lowered again to continue playback.
Stopping a Record
Once the record has played to the end of the side the tonearm will not return to the tonearm rest. The tonearm should be raised and the needle removed from the record surface promptly to avoid unnecessary wear on the cartridge stylus.
- Lower the volume of the amplifier, speakers, or any connected equipment
- Raise the tonearm lift control lever
- Return the tonearm back to the tonearm locking ring
- Turn the Start/Stop selector to the “Stop” position
Maintenance and Cleaning
- The TT-1BT turntable requires little regular maintenance. Remove dust with a slightly damp antistatic cloth. Never use a dry cloth, this will create static electricity and attract more dust. Antistatic cleaning agents are available at specialist stores but must be applied sparingly to avoid damage to rubber parts. It is recommended to install the needle cover or remove the headshell assembly before cleaning or maintenance is carried out to avoid damage.
- If the turntable is not used over a long period of time, the drive belt should be removed from the motor pully to prevent unequal stretching.
Cartridge Replacement
- The supplied cartridge can be replaced with another cartridge based on user preference.
- Before replacement, put the stylus protector back on the stylus to prevent damage to the stylus during the replacement process.
- Carefully remove the wire leads from the original cartridge.
- Loosen the two screws on the head shell that are securing the cartridge and then remove the original cartridge.
- Mount the new cartridge to the headshell and tighten it lightly. Do not completely tighten the screws at this moment.
- Connect the wire leads to the new cartridge’s terminals. The wire lead color codes are as below:
- White Left channel positive (L+)
- Blue Left channel negative (L–)
- Red Right channel positive (R+)
- Green Right channel negative (R-)
- Adjust the cartridge’s position to make sure it is precisely aligned on the headshell so that the stylus will be tracking the grooves in parallel perfectly.
- To achieve this, place the included paper cartridge alignment protractor over the turntable spindle, carefully lift the tone arm and place the tip of the stylus on the points marked 130mm and 250mm respectively. Fine-tune the cartridge’s position on the headshell until the cartridge is perfectly in parallel with the reference lines at both points.
- Tighten the screws completely once the perfect alignment is achieved.
Troubleshooting
| Problem | Cause | Solution |
| The unit fails to | The power cable is not | Check to make sure both ends of the power cable are |
| turn on | connected properly | connected properly. |
| The main power switch | Check that the power switch on the rear of the turntable is | |
| is turned off | turned on. | |
| The platter does | The turntable does not | Verify that the power adaptor is connected to a working outlet |
| not spin | have power | and that the main power switch in the rear panel is turned on. |
| The Drive belt has been | Contact your Dayton Audio dealer for a replacement belt. | |
| damaged | ||
| The Drive belt is not | Correctly place the belt back on the platter and motor pulley | |
| installed or has slipped | (pg.6). | |
| off | ||
| There is no sound | The tonearm support | Lower the tonearm lift control lever. The tonearm will lower to |
| arm is not lowered | the record surface (pg.12). | |
| The stylus skips | The record is warped or | Check the record for damage. Damaged records can cause the |
| scratched | stylus to become worn and damaged. | |
| There tonearm is | Rotating the counterbalance weight counterclockwise will increase | |
| balanced incorrectly | the pressure that the stylus applies to the record. Ensure the | |
| proper tracking force is applied by properly setting the cartridge | ||
| downforce adjustment (pg.7). | ||
| There is a | No ground connection | Make sure that the GND connection is made between the |
| “humming sound” | from the turntable to | turntable and the amplifier or preamplifier (pg.10). |
| the amplifier | ||
| The sound is | The turntable is set | Verify that if your turntable is using a line out signal that it is |
| distorted or | to line output but is | connected to the AUX input on the amplifier. If the turntable |
| inconsistent | connected to the | is outputting a phono signal verify that it is connected to the |
| PHONO input | PHONO input (pg.10). | |
| The phono connection | Make sure that there is a connection between the grounding | |
| is imporperly grounded | terminals on the amplifier and the turntable (pg.10). | |
| Drive belt is | Contact your Dayton Audio dealer for a replacement belt. | |
| overstretched or dirty | ||
| There is dust on the | Keeping the record and stylus clear of any dust or debris is | |
| stylus or record | important. There are many products available for cleaning | |
| records and turntable styli. Choose one that is mild and | ||
| non-abrasive for continued long-term performance. | ||
| The Line/ Phono switch | Verify that the Line/Phono switch is set properly for the current | |
| is set incorrectly | setup (pg.10). |
Specifications
Motor
- Drive Type………………………………………………. Belt Drive
- Nominal Speeds…………………………………….. .. 33-1/3 RPM, 45 RPM
- Speed Variance..………………………………………. ±1.0%
- Wow and Flutter..……………………………………… ≤0.15%
- Signal-to-noise Ratio.………………………………… 55 dB
Tonearm
- Type……………………………………………………………. Static Balance
- Tonearm Effective Length………………………………. 8.6” (218.5 mm)
- Overhang…………………………………………………….. 0.73” (18.5 mm)
- Headshell Terminal..……………………………………… Ø1.2mm 4-pin terminal
Digital Output
- Bluetooth Version …………………………………………5.0
- Supported Bluetooth Codecs………………………….Qualcomm aptX
- USB Output Samples Rates……………………………44.1 and 48 kHz
General
- Power Consumption……………………………………… 6W
- AC Adaptor………………………………………………….. 12V, 500mA DC
- Dimensions (W x D x H)………………………………… 16.34” x 10.2” x 4.44” (415 x 340 x 148 mm)
- Weight………………………………………………………… 13.67 lbs. (6.2 kg)
MM Cartridge – Audio Technica AT-VM95E
- Type……………………………………………………………. Moving Magnet (MM)
- Output Voltage……………………………………………… 4.0 mV (@1 kHz, 5 cm/sec.)
- Channel Balance………………………………………….. <2.0 dB
- Channel Separation………………………………………. >20 dB
- Recommended Load Resistance……………………. 47kΩ
- Mass…………………………………………………………… 6.1g (0.22 oz)
- Recommended Vertical Tracking Force…………… 1.8-2.2 g (2.0g standard)
- 5-Year Limited Warranty
- See daytonaudio.com for details
- daytonaudio.com
- tel + 937.743.8248
- [email protected]
- 705 Pleasant Valley Dr. Springboro, OH 45066 USA






































