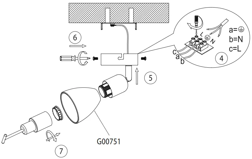
LeuchtenDireckt 11951-55 KARO Wall Light Instructions
Features

230V/50Hz~
1xE14max.40 W
Assembly instruction



Support
+49(0)2922 9721 9290
[email protected]
www.leuchtendirekt.de
LeuchtenDireckt 11951-55 KARO Wall Light Instructions

230V/50Hz~
1xE14max.40 W



+49(0)2922 9721 9290
[email protected]
www.leuchtendirekt.de
Download manual
Here you can download full pdf version of manual, it may contain additional safety instructions, warranty information, FCC rules, etc.