GUSTO Air Powered and Water Free Cleaning Device

Product Information: Gusto
Gusto is an appliance designed for use in caravans or other similar recreational vehicles. The device is a ventilation fan that provides adequate airflow and ventilation to the interior of the caravan. Gusto comes with various safety precautions that should be followed to avoid any hazards. The device should not be used by children or persons with reduced physical, sensory, or mental capabilities unless supervised by someone responsible for their safety. The device should not be submerged in water, and the power cable should be replaced by an accredited and licensed electrician if damaged or shows signs of wear.
Provided Components
The Gusto product comes with a template for installation, blower support brackets, and all-weather sealant. However, screws for the support brackets, battery, additional wiring, connectors, and a junction box are not provided.
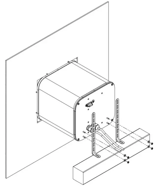
Installation
To install the Gusto appliance, follow the steps below:
- Place the template provided on the caravan wall and mark out the hole to be cut using an appropriate marker. Also, take note of the holes’ positions for fasteners to be used.

- Cut out the marked hole using an appropriate tool for the caravan material.
- Ensure a 10mm air gap is maintained around the aluminum housing of the Gusto unit upon installation.
- Maintain a minimum air gap of 20mm between the rear of the Gusto unit and any fixed structure to ensure easy access to support brackets, electrical connections, and blade fuse, all located on the rear plate of the device.
- Slide the Gusto into place and check overall fitment and clearance.
- Ensure the Gusto unit is switched off and disconnected from power before installing it into the side of the caravan.

- Place the hook in the preferred location, ensuring that the handle can reach and sit correctly on the hook.

- If required, construct a suitably sized mounting block out of wood. The mounting block should be flat, structural, and parallel with the bottom of the Gusto. Ensure foot brackets are secured to a solid surface. Adjust blower support brackets until Gusto is approximately level. Lightly tighten support nuts and washers.

- Slide out the Gusto and apply all-weather sealant to the contact surface. Cover rivet holes from the front with tape or plugs to ensure large amounts of sealant don’t come out.

- Slide Gusto into place, ensuring sealant forms a waterproof seal. Now install rivets to secure in place.

- Rivets should be installed from the outside to maintain aesthetics. Clear sealant out of holes and install rivets or screws.

- Fasten blower support brackets to the structural block, ensuring blower box is level. Note that screws are not supplied and will depend on support block material. Adjust and tighten bracket nuts and washers, as required.

- Connect Gusto to an appropriate 12V DC power source. Use 6 B&S size cable up to 3m from the battery. If the battery and Gusto are more than 3m apart, you will require a thicker cable as voltage drop will occur. This step is to be completed by an accredited and licensed electrician.

- Install 40amp blade fuse. Ensure the unit is switched off before installing.

- Switch on at ‘ON / OFF’ switch.
Wave hand in front on proximity sensor to test operation.
By following these installation steps, you can ensure that Gusto is securely installed and functioning correctly in your caravan.
GUSTO SAFETY PRECAUTIONS
The appliance is not intended for use by persons (including children) with reduced physical, sensory or mental capabilities, or lack of experience and knowledge, unless they have been given supervision or instruction concerning the use of the appliance by a person responsible for their safety.
Children should be supervised to ensure that they do not play with the appliance.
Check the blower and hose outlet for the presence of foreign objects prior to use. ·Check that there are no foreign objects obstructing the pre-motor filter prior to use.
If the cable suppling power to Gusto is damaged or shows signs of wear, it must be replaced by an
accredited and licensed electrician or similarly qualified persons in order to avoid a hazard.
The Gusto unit should not be submerged in water.
When not in use, we recommend the Gusto be turned off, the door fastened and hose securely stowed away.
Ensure the Gusto is switched off after use.
PROVIDED COMPONENTS

FILTER REPLACEMENT DIAGRAM

BRUSH REMOVAL AND INSTALL PROCESS
Line up brush with handle and push on. No rotation required.
NOTE: brush to be attached to hose prior to use – brush & blower combination ensures maximum effectiveness.
BAYONET FITTING INSTALLATION
- Align wings horizontally and push into front panel.

- Twist 90 degrees clockwise to lock in place.

WARRANTY
The Gusto motor, parts and accessories have a one-year warranty period.
For warranty purposes, please keep your receipt. This will be required if you need to submit a warranty claim.
Need help with your appliance?
Visit: gustoglobalindustries.com
Due to continued product improvements, product illustrations & photographs in this manual may differ slightly from the actual product.
[email protected]
www.gustoglobalindustries.com
@gusto_global_industries
















