weather guard ASRS001 AL Safari Rack Full Size Standard

PRODUCT INFORMATION
- Weather Guard/WERNER CO. 420 E. Terra Cotta Ave. Crystal Lake, IL 60014 USA
- Weather Guard/WERNER CO. 9133 Leslie St. Unit 105 Richmond Hill, ON L4B4N1
- 800-456-7865 (Toll Free) 800-334-2981 (Fax)
- 888-562-2251 (Toll Free) 888-456-8460 (Fax)
- WEATHERGUARD.COM
Attention: Please read and understand all instructions and warnings
Installation Guidelines
Tighten all 5/16 hardware to 13 ft-lb when ready. Tighten all 1/4 hardware to 76 in-lb when ready. This product is designed and intended for use on the following vehicles: 130 & 148 Ford Transit, 118 & 136 Ram ProMaster, and 135 Express/Savana.
Operation Guidelines
- Ladders transported on a vehicle should be properly supported and the overhang of the ladders beyond supporting points should be limited. Transporting a ladder with excessive overhang can result in reduced ladder life.
- Inspect your ladder before each use. Follow ANSI 14.2-2007 for direction on securing ladders to ladder racks.
- Payload should be centralized on the rack front to back whenever possible and securely tied to the side rails and the cross members.
- Payload should be evenly distributed as much as possible and the heavier items directly above the mounting feet. Failure to do so may cause damage to the rack and/or vehicle.
- Follow manufacturers’ roof loading guidelines. Misuse can result in injuries or death, damages to the vehicle and/or other vehicles, and will void WG warranty.
- It is the responsibility of the user to secure the load to the rack before transporting. Any modifications made to this product, or use of this product for any other purpose than its intended use, could create a hazardous condition that can cause serious personal injury or property damage.
- At the end of the first week of use, check all of the fasteners for proper tightness and then check every three months thereafter.
Hardware Kit
| Description | Qty |
|---|---|
| 5/16-18 x 5/8 Carriage Bolt | 8 |
| 5/16-18 x 7/8 Carriage Bolt | 22 |
| 5/16-18 x 1-1/4 Carriage Bolt | 12 |
| 5/16-18 x 1-3/4 Carriage Bolt | 6 |
| 5/16-18 x 2 Button Head Bolt | 28 |
| 5/16 Washer | 38 |
| 5/16-18 Nylon Lock Nut | 38 |
| 1/4-20 x 3/8 Set Screw | 2 |
| 1/2-13 x 2-3/4 Bolt | 2 |
| Bushing | 28 |
| Carriage Bolt Plate | 22 |
| Knob | 4 |
Tools Required
- 1/8 Allen Key/Socket
- 3/16 Allen Key/Socket
- 1/2 Socket
- 1/2 Wrench
- 3/4 Socket Ratchet
- Measuring Tape or Ruler
- Torque wrench
Parts List
- Ladder Stop – 4
- Mounting Foot – 6
- Roller Tube – 1
- Crossmember – 7
- Connecting Cap – 4
- Mounting Foot Bolt Plate – 6
- J-Bracket – 6
- Front Left End Rail – 1
- Front Right End Rail – 1
- Rear Left End Rail – 1
- Rear Right End Rail – 1
- Gutter Clamp – 6
Rack Assembly Instructions
- Install Mounting Channel Kit to the Van Roof following its instructions (for Chevrolet Express/GMC Savana, skip this step as no mounting kit is needed).
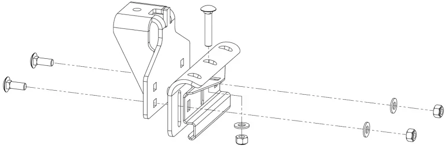
- Insert (2) Connecting Caps into Front Left End Rail (larger holes on the bottom outside). With the larger holes on the bottom outside, slide the Rear Left End Rail over the other end of the caps. Assemble together using (4) 5/16-18 x 5/8 carriage bolts, washers, and nylon lock nuts. Tighten to 150 in-lbs or 13 ft-lbs.
Note: Please refer to the user manual for more detailed instructions and guidelines on product usage and safety.
ABOUT COMPANY
- Weather Guard / WERNER CO. 420 E. Terra Cotta Ave. Crystal Lake, IL 60014 USA
- 800-456-7865 (Toll Free)
- 800-334-2981 (Fax)
- Weather Guard / WERNER CO. 9133 Leslie St. Unit 105 Richmond Hill, ON L4B4N1
- 888-562-2251 (Toll Free)
- 888-456-8460 (Fax)
INSTALLATION GUIDELINES
- WEATHER GUARD® safari racks are designed to work with WEATHER GUARD® Mounting Channel kits to provide the best support for your load and to take advantage of OEM provided roof mounting points. If you have not already installed the mounting channel kit to the van roof, install it now before proceeding.
- Review vehicle manufacturer’s roof mount recommendation.
- Perform the installation on a level surface.
- Always wear protective eyewear to keep debris out of your eyes when installing WEATHER GUARD® Van Products.
- Tighten all 5/16” hardware to 13 ft-lb when ready.
- Tighten all 1/4” hardware to 76 in-lb when ready.
- This product is designed and intended for use on the following vehicles: 130 & 148 Ford Transit, 118 & 136 Ram ProMaster, and 135 Express/Savana.
OPERATION GUIDELINES
- Ladders transported on a vehicle should be properly supported and the overhang of the ladders beyond supporting points should be limited. Transporting a ladder with excessive overhang can result in reduced ladder life. Inspect your ladder before each use. Follow ANSI 14.2-2007 for direction on securing ladders to ladder racks.
- Payload should be centralized on the rack front to back whenever possible and securely tied to the side rails and the cross members. Payload should be evenly distributed as much as possible and the heavier items directly above the mounting feet. Failure to do so may cause damage to the rack and/or vehicle.
- Follow manufacturers’ roof loading guidelines. Misuse can result in injuries or death, damages to the vehicle and/or other vehicles, and will void WG warranty.
- It is the responsibility of the user to secure the load to the rack before transporting.
- Any modifications made to this product, or use of this product for any other purpose than its intended use, could cre-ate a hazardous condition that can cause serious personal injury or property damage.
- At the end of the first week of use, check all of the fasteners for proper tightness and then check every three months thereafter.
HARDWARE KIT
| DESCRIPTION | QTY |
| 5/16-18 x 5/8″ Carriage Bolt | 8 |
| 5/16-18 x 7/8″ Carriage Bolt | 22 |
| 5/16-18 x 1-1/4″ Carriage Bolt | 12 |
| 5/16-18 x 1-3/4″ Carriage Bolt | 6 |
| 5/16-18 x 2″ Button Head Bolt | 28 |
| 5/16″ Washer | 38 |
| 5/16-18 Nylon Lock Nut | 38 |
| 1/4-20 x 3/8″ Set Screw | 2 |
| 1/2-13 x 2-3/4″ Bolt | 2 |
| Bushing | 28 |
| Carriage Bolt Plate | 22 |
| Knob | 4 |
TOOLS REQUIRED
- 1/8″ Allen Key/Socket
- 3/16″ Allen Key/Socket
- 1/2″ Socket
- 1/2″ Wrench
- 3/4″ Socket
- Ratchet
- Measuring Tape or Ruler
- Torque wrench
PARTS LIST

| DESCRIPTION | QTY |
| Ladder Stop | 4 |
| Mounting Foot | 6 |
| Roller Tube | 1 |
| Crossmember | 7 |
| Connecting Cap | 4 |
| Mounting Foot Bolt Plate | 6 |
| J-Bracket | 6 |
| Front Left End Rail | 1 |
| Front Right End Rail | 1 |
| Rear Left End Rail | 1 |
| Rear Right End Rail | 1 |
| Gutter Clamp | 6 |
RACK ASSEMBLY INSTRUCTIONS
- STEP 1.
Install Mounting Channel Kit to the Van Roof following its instructions (for Chevrolet Express/GMC Savana, skip this step as no mounting kit is needed). - STEP 2.
Insert (2) Connecting Caps into Front Left End Rail (larger holes on the bottom outside). With the larger holes on the bottom outside, slide the Rear Left End Rail over the other end of the caps. Assemble together us-ing (4) 5/16-18 x 5/8″ carriage bolts, washers, and nylon lock nuts. Tighten to 150 in-lbs or 13 ft-lbs.
- STEP 3.
Insert (2) Connecting Caps into Front Right End Rail (larger holes on the bottom outside). With the larger holes on the bottom outside, slide the Rear Right End Rail over the other end of the caps. Assemble together using (4) 5/16-18 x 5/8″ carriage bolts, washers, and nylon lock nuts. Tighten to 150 in-lbs or 13 ft-lbs.
- STEP 4.
Very loosely assemble a 5/16-18 x 7/8″ carriage bolt, plate, and knob to each of the Ladder Stops as shown.
- STEP 5.
Align crossmembers to the end rails with the rounded/blunt end facing the front of the rack (away from the Roller Brackets).
- STEP 6 – All vans
- Insert (2) 5/16-18 x 7/8″ carriage bolts and plates into bottom of the 2nd, 4th, and 6th crossmembers.
- Insert a Ladder Stop assembly into top of the front 1st, 3rd, 5th, and 7th crossmembers. Feel free to tighten the knobs now as they can be adjusted by hand at any time later.
- Assemble End Rails to Crossmembers using (28) 5/16-18 x 2″ button head bolts & (28) bushings. Tighten to 150 in-lbs or 13 ft-lbs
- Place Roller Tube between the Bearings and insert a 1/2-13 bolt through each Bearing and thread them into the ends of the Roller Tube. Tighten until the threads are fully engaged. Do NOT exceed 33 ft-lb.
- Thread a 1/4-20 set screw into each of the holes near the ends of the Roller Tube and tighten them to 76 in-lb to pre-vent the 1/2-13 bolts from loosening.

- STEP 7
Assemble a Mounting Foot to each of the previously-inserted carriage bolts in the bottom of the crossmembers using a washer and 5/16-18 nylon lock nut. Ensure the tab sits within the groove of the crossmember and tighten the nut until the foot is snug and flat against the crossmember. NOTE: For reference/starting dimensions for where to place the Mounting Feet for your vehicle, see the table and image below.
- STEP 8.1 – All vans except Express/Savana (for those vans, see Step 8.2 on next page)
- Assemble a J Bracket to each Mounting Foot as shown below using (2) 5/16-18 x 7/8″ carriage bolts, washers, and nylon lock nuts. Tighten until snug, but keep in mind that they may require adjustment during installation on the van.
- Proceed to Step 9.

- REFERENCE DIMENSIONS FOR MOUNTING FEET PLACEMENT IN STEP 7.
The following diagram and dimensions provide a decent starting point for placing the mounting feet along the cross-member. They are for reference only and will likely require adjustment upon the van roof to fit properly.
- STEP 8.2 – Express/Savana
Loosely assemble a J Bracket and Gutter Clamp to each Mounting Foot as shown below using (2) 5/16-18 x 7/8″ car-riage bolts, (1) 5/16-18 x 1-3/4″ carriage bolt, (3) washers and (3) nylon lock nuts. For the front and rear crossmember, use the bottom square holes in the Mounting Feet. For the center crossmember, use the top square holes in the Mount-ing Feet.
- STEP 9.
- With assistance, carefully lift rack assembly onto van roof. Set bottom of J Brackets on top of roof channels (Transit, ProMaster, and Sprinter vans) or within the gutter (Express/Savana vans).
- Position rack front-to-back such that the roller protects the back of the van.
- STEP 10.1 – Express/Savana
-Position the bottom of the J Brackets within the gutter and position the Gutter Clamps around the outside of the gutter. Tighten the 2 horizontal nuts and then the vertical nut in each Gutter Clamp to 150 in-lbs or 13 ft-lbs.
- STEP 10.2 – Transit, ProMaster, and Sprinter
- Insert a 5/16-18 x 1-1/4” carriage bolt into each mounting plate with the bolt’s thread on the side of the plate that says “TOP”. Insert two carriage bolt/plate assemblies per mounting foot into the channel and rotate 90 degrees clockwise.
- Lift the assembled ladder rack and place it on the carriage bolts. Use (2) 5/16” washers, (2) 5/16-18 nylon lock nuts, and a bolt plate to loosely fasten each mounting foot.

- STEP 11.
- Use a level to adjust rack position left-to-right and front-to-back as needed and then tighten all the nuts to 150 in-lbs or 13 ft-lbs.
- Adjust ladder stop positions left-to-right as desired and tighten knob.
- OPTIONAL STEP 12.
Adjust the load assist to a desired height by removing the clevis pin on both sides of the roller. Make sure the roller does not interfere with the rear view camera if the vehicle is equipped with one.
- OPTIONAL STEP 13.
If you want to remove the ladder stops later to allow for wider loads, loosen the knob, loosen the front pair of bolts at-taching the crossmember to the end rails, remove the rear pair of bolts attaching the crossmember to the end rails (be careful not to lose the bushings), tilt the crossmember up or down to allow the ladder stop to slide out of the groove in the crossmember. If desired, you can re-insert the stop in the bottom groove for safe keeping. Reattach and re-tighten the crossmember bolts.
MAX LOAD CAPACITY

REPLACEMENT PARTS

SAFETY INSTRUCTION
- WARNING
- This product can reduce the driver’s ability to clearly see roadways, vehicular or pedestrian traffic and other objects through the rear and side windows of the vehicle, which can cause an accident. Extra precautions should be taken when driving a vehicle with this product. Make all ad-justments necessary to ensure maximum visibility, including but not limited to, changing mirror and seating positions. State and local laws may prohibit obstruction of windows in a moving vehicle.
- These instructions are to be followed using the parts and fasteners supplied for proper installation. Any modifications or improper installation of this product will create a hazardous condition that could result in death, serious personal injury and/or property damage.
- CAUTION
Prior to drilling, so as not to cut electric wires, fuel lines, brake lines, etc., check behind and underneath drilling and mounting locations. To keep debris out of your eyes when checking the underside of the vehicle, or when drilling, always wear protective eye wear. Failure to heed this warn-ing will result in death or serious injury. - NOTICE
Any modification or unintended use of this product shall immediately void all manufacturer’s warranties. Manufacturer disclaims all liability for injuries to persons or property resulting from any modification to, or unintended use of this product.
LIITED WARRANTY
WERNER CO. LIMITED LIFETIME WARRANTY FOR WEATHER GUARD® PRODUCTS
WEATHER GUARD® Products — Limited Lifetime Warranty (Purchased on or after 1/1/2009)
WERNER CO. (the “Manufacturer”) warrants to the original purchaser only that WEATHER GUARD® Truck and Van Products (the “WEATHER GUARD® Product”) will be free from defects in material and workmanship from the date of purchase and continuing for the expected lifetime of the WEATHER GUARD® Product. A copy of the original sales receipt must be supplied to the Manufacturer at the time a warranty claim is made. This warranty terminates if the original purchaser transfers the WEATHER GUARD® Product to any other person.
- What is Covered
All WEATHER GUARD® Products identified above that are purchased on or after January 1, 2009. - What We Will Do to Correct Problems
Subject to the limitations and exclusions described in this limited warranty, the Manufacturer will remedy defects in materials or workmanship by providing one of the following remedies at its option and without charge to the original purchaser for parts or labor: (a) repairing the defective portion of the WEATHER GUARD® Product or (b) replacing the entire WEATHER GUARD® Product. In addition, the manufacturer may elect at its option, not to repair or replace the WEATHER GUARD® Product, but rather issue to the original purchaser a refund equal to the purchase price paid for the WEATHER GUARD® Product or a credit to be used toward the purchase of new WEATHER GUARD® Product. - What is Not Covered
This limited warranty expressly excludes:- Defects caused by normal wear and tear, cosmetic rust, scratches, accidents, unlawful vehicle operation, or modification to the prod-uct, or any types or repair of a WEATHER GUARD® Product other than those authorized or provided by the Manufacturer.
- Defects resulting from conditions beyond the Manufacturer’s control including, but not limited to misuse, overloading, or failure to as-semble, mount or use the WEATHER GUARD® Product in accordance with the Manufacturer’s written instructions or guidelines in-cluded with the WEATHER GUARD® Product or made available to the original purchaser.
- Damage to the contents of the box or vehicle.
- TO THE EXTENT PERMITTED BY LAW, IN NO EVENT SHALL THE MANUFACTURER BE LIABLE FOR ANY INCIDENTAL, SPE-CIAL, INDIRECT, OR CONSEQUENTIAL DAMAGES, INCLUDING ANY ECONOMIC LOSS, WHETHER RESULTING FROM NON-PERFORMANCE, USE, MISUSE OR INABILITY TO USE THE WEATHER GUARD® PRODUCT OR THE MANUFACTURER’S NEG-LIGENCE.
- No Other Express Warranty Applies
This Limited Lifetime Warranty is the sole and exclusive warranty for WEATHER GUARD® Products. No employee, agent, dealer, or other person is authorized to alter this warranty or make any other warranty on behalf of WERNER CO. - Notification Procedures
If the WEATHER GUARD® Product does not conform with the terms of this limited warranty, the original owner must promptly notify the Manufacturer in writing upon discovery of the nonconformity. In order to receive the remedies under this limited warranty, the warranty claim must describe the na-ture of the nonconformity, and a copy of the original sales receipt, invoice, bill or other proof of purchase must accompany the claim. Repairs or modi-fications made to the WEATHER GUARD® Product by other than the Manufacturer or its authorized agent will nullify this limited warranty. Coverage under this limited warranty is conditioned at all times upon the owner’s compliance with these required notification and repair procedures. Warranty claims must include reciprocal contact information and may be made via certified mail to:
CONTACT
- WERNER CO.
- ATTN: Weather Guard® Warranty Claims
- 555 Pierce Road, STE 300
- Itasca, IL 60143 USA
- weatherguard.com
- If you have any questions, please call toll free at 1-800-456-7865






























