Curtron PP-C-080-3084 Polar-Pro Flexible Swinging Door for Walk-In Coolers & Freezers, 30″ wide x 84″ high Owner’s Manual
Thank you for choosing a Curtron quality product.
Your POLAR-PRO™ Swinging Door was manufactured to your specific cooler or freezer doorway width and height. Although installation is not complicated, you will need a helper.
Do not use nails to attach the door panel brackets. 1/4” x 11/ 2” screws(6) and washers(6) are included.
CHECK YOUR ORDER
The thickness of your door jamb will determine which mounting method to use. While standing inside the cooler or freezer, measure from the back of the closed door to the inside wall surface. (See drawings below.)
- for INSIDE SURFACE MOUNT
2 Door Panels are attached to the inside wall surface.
- for IN-JAMB MOUNT
2 Door Panels are attached to the inside of the doorway opening using both door jambs.
INSIDE OF COOLER/FREEZER - for WALL/IN-JAMB MOUNT
2 Door Panels are placed on the inside of the doorway opening,but use the inside wall surface for mounting.
INSIDE SURFACE MOUNTING
CAUTION: Make sure that the door jamb is strong enough to support the weight and force of the door. If questionable, check with cooler/freezer manufacturer.
Do not disassemble the PVC panel from the bracket or remove the hinge pin from the mounting plate.
NOTE: There is a Left and Right Door Panel, unless otherwise specified.
Place the right bracket mounting plate with the PVC panel attached, against the inside right corner of the doorway opening. Mark the 6 holes. (See Fig. 1)
IMPORTANT: The panel must be able to move freely beneath the door header and there should be no gap between the door panel and the header. Remove the unit and drill the holes. NOTE: A 5/ 32” drill bit should be used.
Finally, put each unit in place and screw down tightly to the interior wall using the supplied 1/4” x 11/2” screws and washers. (See Fig. 2)
IN-JAMB MOUNTING
CAUTION: Make sure that the door jamb is strong enough to support the weight and force of the door. If questionable, check with cooler/freezer manufacturer.
Do not disassemble the PVC panel from the bracket or remove the hinge pin from the mounting plate.
NOTE: There is a Left and Right Door Panel unless otherwise specified.
First, remove the Wall Mounting Plate from the “U” Bracket. (See Fig. 3)
From inside the cooler/freezer, measure 21/4” in at the very top of the jamb and place a mark. Using a mason’s level, draw a straight plumb line 7” down from the mark. (See Fig.4 )
Place the “U” Bracket, with the PVC panel attached, against the jamb, touching the header and using the line to keep the panel vertically straight. Mark the 4 holes. Remove the unit and drill the holes. (See Fig. 5)
NOTE: A 5/32” drill bit should be used. Next, do the same procedure on the other side of the doorway opening. Finally, put each bracket/panel in place and screw down tightly to the door jamb using the supplied 1/4” x 11/2” screws and washers. (See Fig. 6)
WALL / IN-JAMB MOUNTING
This methods is primarily used for non-cooler/freezer doors
CAUTION: Make sure that the door jamb is strong enough to support the weight and force of the door. If questionable, check with cooler/freezer manufacturer.
Do not disassemble the PVC panel from the bracket or remove the hinge pin from the mounting plate.
NOTE: There is a Left and Right Door Panel unless otherwise specified. However, when using this mounting method, the panels are reversed from Method #1.
Place the right Wall Mounting Plate with the PVC panel attached, against the inside right corner of the doorway opening. Mark the 6 holes. (See Fig. 7)
IMPORTANT: The panel must be able to move freely beneath the door header and there should be no gap between the door panel and the header.
Remove the unit and drill the holes.
NOTE: A 5/ 32” drill bit should be used.
Finally, put each unit in place and screw down tightly to the interior wall using the supplied 1/4” x 11/2” screws and washers. (See Fig. 8)
FINAL ADJUSTMENTS
CENTERING
If the panels are not aligning at the center overlap, a simple adjustment can be made.
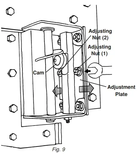
Loosen (DO NOT REMOVE) the 2 adjusting nuts. By moving the adjustment plate to one side or the other, it will force the panel to move in the opposite direction. (See Fig. 9) i.e. Move the plate to the right…the panel will go left. (See Fig. 10) Once both panels are exactly perpendicular to one another, tighten the adjustment nuts.

Fig.10
TENSION
If the door panels are not returning to a completely sealed position, increased tension might be needed.
To tighten or loosen the cam spring tension, first loosen the lock nut at the bottom of the mounting bracket. Using an allen wrench, move the tension screw clockwise to tighten or counterclockwise to loosen. Once the proper tension is determined, tighten the locknut.
SEALING
If the door panels are too long, the PVC panel will buckle, allowing cold air to escape. To remedy this, the bottom of the panel should be cut accordingly. A clearance of 1/8” is recommended. (See Fig 11)
OTHER TMI PRODUCTS POLAR-PROTM
- STRIP DOORS
- BULK PVC ROLLS & STRIPS
- MEGA-PRO™ SWINGING DOORS
- RIP-A-STRIP™
- ENCLOSURES
- INDUSTRIAL CURTAINS
- DOCK ACCESSORIES
- AIR DOORS
- DESIGN ENGINEERING
- TECHNICAL ASSISTANCE
- SPECIAL PACKAGING AND DELIVERY SERVICES
Support
TMI, LLC 5350 Campbells Run Road
Pittsburgh, PA 15205-9738 412.787.9750
Fax: 412.787.3665
Web Site: www.tmi-pvc.com
E-Mail: [email protected]
800-888-9750
![]()






















