WiZE VW46G3/ VWP46G3 Video Wall Bracket

Instruction

WARNING!
WARNING! SEVERE PERSONAL INJURY AND PROPERTY DAMAGE CAN RESULT FROM IMPROPER INSTALLATION OR ASSEMBLY. READ THE FOLLOWING WARNINGS BEFORE BEGINNING.
Do not use this product for any purpose not explicitly specified by Wize AV. Improper installation may cause property damage or personal injury. If you do not understand these directions, or have doubts about the safety of the installation, contact Wize AV Customer Service or call a qualified contractor. Wize AV is not liable for damage or injury caused by incorrect mounting, assembly, or use.
The hardware provided with this product, is exclusively intended for installation on walls made of solid wood, concrete, concrete block or solid wood columns with a maximum of 16 mm of drywall. For walls made of other materials, for example hollow bricks, please consult your installer and/or specialist supplier.
DO NOT EXCEED THE MAXIMUM WEIGHT CAPACITY FOR THIS PRODUCT
Maximum Weight Capacity

TOOLS REQUIRED

Wood bit 6mm – 7/32” Masonry bit 11mm – 7/16”. Socket wrench 13mm. 5mm Allen Key or bit. Hammer if necessary.
PACKAGE CONTENTS

INSTALL INSTRUCTIONS
Using stud finder locate centers of 2 studs.
Using level draw a vertical line at stud center.
Install only to wood studs or wood joists that are a minimum of 2”x4”, the wall or ceiling where the mount is being attached may have a maximum drywall thickness of 5/8”.
Use wall plate (C) to mark hole location on center line.
Use a 6mm – 7/32” wood bit to make a 65mm – 2.5” hole on marks.
mounts are designed to be installed to a concrete wall with a minimum thickness of 8” and minimum density of 2000psi and 8”x8”x16” cinder block which meets ASTM C-90 specifications. Do not drill into mortar joints. Do not install to a concrete wall or cinder block that has any type drywall or other finishing.
Level wall plate, then mark 6 hole locations.
Use 11 mm-7/16“ drill bit to drill 65mm – 2.5” holes on marks.
Insert (B) into both holes. Use a hammer to tap in if necessary.
Fasten wall plate to wall using screw (A) and washer (U).
Fasten wall plate to wall using screw (A) and washer (U).
Align mount bracket (C) to holes on back of TV. Fasten using supplied hardware with a screwdriver. Hand tools only.
Use spacers (R & S) between TV and mount if needed.
If screws bottom out use washers (not included) to eliminate slack.
Hook top of bracket over the top of wall mount then lower down and tilt toward wall. 
Remove key then push lock button. This will engage the lock pin, securing the bracket to the wall plate.
To extend bracket, PUSH the TV at the edges simultaneously. The bracket will disengage and POP the TV out. Pull out to extend fully.
To retract bracket, push TV at edges simultaneously until locking pins are re-engaged.
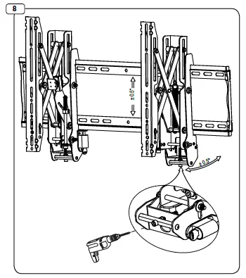
Using a 6mm Allen key, turn plumb adjustment screw. Turn screw clockwise to adjust the screen towards the wall and counterclockwise to adjust away from the wall.
Using a 6mm Allen key, turn height adjustment screw. Turn screw clockwise to raise screen and counterclockwise to lower screen.
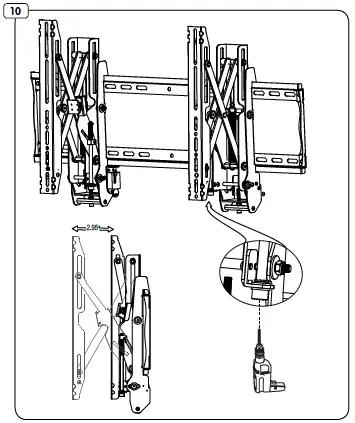
`Using a 6mm Allen key, turn adjustment screw. Turn screw counterclockwise to adjust screen out up to 2.95” and clockwise to retract screen.
For portrait mode, add extensions to bracket with screws (H). Repeat steps 3-8.
WARRANTY
Congratulations on the purchase of this Wize product! The product you now have in your possession is made of durable materials and is based on a design, every detail of which has been meticulously thought-out. That is why Wize AV products are covered by a 10-year warranty against defects in materials or manufacturing.
Wize AV disclaims any liability for modifications, improper installations, or installations over the specified weight range. To the maximum extent permitted by law, Wize AV disclaims any other warranties, expressed or implied, including warranties of fitness for a particular purpose and warranties of merchantability. Wize AV will not be liable for any damages arising out of the use of, or inability to use, Wize AV products. Wize AVbears no responsibility for incidental or consequential damages. This includes, but is not limited to, any labor charges for the repair of Wize AV products performed by anyone other than Wize AV.
Specifications are subject to change without prior notice.























