VOLTCRAFT VC-7055BT Bench Digital Multimeter

Safety Information
Safety Terms
Terms in this Manual. The following terms may appear in this manual:
Warning: Warning indicates the conditions or practices that could result in injury or loss of life.
Caution: Caution indicates the conditions or practices that could result in damage to this product or other property.
Terms on the Product. The following terms may appear on this product:
Danger: It indicates an injury or hazard may immediately happen.
Warning: It indicates an injury or hazard may be accessible potentially.
Caution: It indicates a potential damage to the instrument or other property might occur.
Safety Symbols
Symbols on the Product. The following symbol may appear on the product:

General Safety Requirements
Before any operations, please read the following safety precautions to avoid any possible bodily injury and prevent this product or any other products connected from damage. In order to avoid any contingent danger, this product is only used within the range specified.
- Use Proper Power Cord. Use only the power cord supplied with the product and certified to use in your country.
- Product Grounded. This instrument is grounded through the power cord grounding conductor. To avoid electric shock, the grounding conductor must be grounded. The product must be grounded properly before any connection with its input or output terminal.
- Limit operation to the specified measurement category, voltage, or amperage ratings.
- Check all Terminal Ratings. To avoid instrument damage and the risk of electric shock, check all the Measurement Limits and markers of this product. Refer to the user’s manual for the Measurement Limits before connecting to the instrument. Do not exceed any of the Measurement Limits defined in the following section.
- Do not operate without covers. Do not operate the instrument with covers or panels removed.
- Use Proper Fuse. Use only the specified type and rating fuse for this instrument.
- Avoid exposed circuit. Do not touch exposed junctions and components when the instrument is powered.
- Do not operate if in any doubt. If you suspect damage occurs to the instrument, have it inspected by qualified service personnel before further operations.
- Use your instrument in a well-ventilated area. Inadequate ventilation may cause increasing of temperature or damages to the device. Please keep well ventilated and inspect the intake regularly.
- Do not operate in wet conditions. In order to avoid short circuiting to the interior of the device or electric shock, please do not operate in a humid environment.
- Do not operate in an explosive atmosphere.
- Keep product surfaces clean and dry.
- Only the qualified technicians can implement the maintenance.
Measurement Limits
The protection circuitry of the multimeter can prevent damage to the instrument and protect against the danger of electric shock, when the Measurement Limits are not exceeded. To ensure safe operation of the instrument, do not exceed the Measurement Limits shown on the front panel, it is defined as follows:

The user-replaceable 10 A current-protection fuse is on the front panel. To maintain protection, replace fuse only with fuse of the specified type and rating. About the specified type and rating of the fuse, please refer to “7 Current Terminal Fuse” in “Front Panel Overview” on page 7.
Main Input Terminals (HI Input and LO Input) Measurement Limits
The HI and LO input terminals are used for voltage, resistance, continuity, frequency (period), capacitance, diode, and temperature test measurements. Two Measurement Limits are defined for these terminals:
- HI Input to LO Input Measurement Limit
The Measurement Limit from HI Input to LO Input is 1000 VDC or 750 VAC, which is also the maximum voltage measurement. This limit can also be expressed as 1000 Vpk maximum. - LO Input to Ground Measurement Limit
The LO input terminal can safely “float” a maximum of 500 Vpk relative to ground, where ground is defined as the Protective Earth Conductor in the AC mains power cord connected to the instrument.
As implied by the above limits, the Measurement Limit for the HI input terminal is a maximum of 1500 Vpk relative to ground when LO Input is at its maximum of 500 Vpk relative to ground.
Current Input Terminal (I) Measurement Limits
The Measurement Limit from the current input terminal (I) to the LO Input terminal is 10 A (DC or AC). Note that the current input terminals will always be at approximately the same voltage as the LO Input terminal, unless a current protection fuse is open.
Sense Terminals (HI Sense and LO Sense) Measurement Limits
The HI and LO sense terminals are used for four-wire resistance measurements.
The Measurement Limit from HI Sense to LO Input is 200 Vpk.
The Measurement Limit from HI Sense to LO Sense is 200 Vpk.
The Measurement Limit from LO Sense to LO Input is 2 Vpk.
Note: The 200 Vpk limit on the sense terminals is the Measurement Limit. Operational voltages in resistance measurements are much lower – up to ± 3 V in normal operation.
Measurement Category
The safety rating of the multimeter:
1000 V, CAT I
IEC Measurement Category I. The maximum measurable voltage is 1000 Vpk in the HI -LO terminal.
600 V, CAT II
IEC Measurement Category II. Inputs may be connected to AC mains power (up to 600 VAC) under Category II overvoltage conditions.
Measurement category definition
Measurement CAT I applies to measurements performed on circuits not directly connected to the AC mains. Examples are measurements on circuits not derived from the AC mains and specially protected (internal) mains- derived circuits.
Measurement CAT II applies to protect against transients from energy-consuming equipment supplied from the fixed installation, such as TVs, PCs, portable tools, and other household circuits.
Measurement CAT III applies to protect against transients in equipment in fixed equipment installations, such as distribution panels, feeders and short branch circuits, and lighting systems in large buildings.
Measurement CAT IV applies to measurements performed at the source of the low- voltage installation. Examples are electricity meters and measurements on primary over current protection devices and ripple control units.
Quick Start
General Inspection
After you get a new multimeter, it is recommended that you should make a check on the instrument according to the following steps:
- Check whether there is any damage caused by transportation.
If it is found that the packaging carton or the foamed plastic protection cushion has suffered serious damage, do not throw it away first till the complete device and its accessories succeed in the electrical and mechanical property tests. - Check the Accessories
The supplied accessories have been already described in the Appendix A: Enclosure of this Manual. You can check whether there is any loss of accessories with reference to this description. If it is found that there is any accessory lost or damaged, please get in touch with our distributor responsible for this service or our local offices. - Check the Complete Instrument
If it is found that there is damage to the appearance of the instrument, or the instrument cannot work normally, or fails in the performance test, please get in touch with our distributor responsible for this business or our local offices. If there is damage to the instrument caused by the transportation, please keep the package. With the transportation department or our distributor responsible for this business informed about it, a repairing or replacement of the instrument will be arranged by us.
Dimensions


Foot Stool Adjustment
Unfold the foot stool on the bottom of the multimeter.
Front Panel Overview

Figure 2-1 Front panel overview
| Item | Name | Description |
| 1 | LCD | Display the user interface |
| 2 | Menu selection Keys | Activate the corresponding menu |
| 3 | Operation Keys | |
| Save | Collect data in manual record. The instrument saves current reading each time the Save key is pressed. See page 11, Manual Record. |
| Record | Access menus of manual record and auto record. See page 11, Data Record Function. | |
| Run/Stop | Start or stop auto trigger. When the trigger is stopped, the displayed data will be held. | |
| Math | Perform math operations (Max/Min, dB/dBm) on the measurement results. | |
| Utility | Set the auxiliary system function, including Language, Backlight, Clock, Default. | |
| Port | Set Serial port. | |
| 4 | HI and LO Sense Terminals | Signal input terminals, used for four-wire resistance measurements. |
| 5 | HI and LO Input Terminals | Signal input terminals, used for voltage, resistance, continuity, frequency (period), capacitance, diode, and temperature test measurements. |
| 6 | Range/Direction Keys | When the Range softkey is shown on the right menu, you can press the key to switch between auto and manual range. Press to enable manual range, and increase or decrease the measurement range. When setting a parameter, press to move the cursor, press to increase or decrease the value. |
| 7 | Current Terminal Fuse | The rating is 10 A, 250 VAC. To replace the fuse: Turn off the multimeter and remove the power cord. Use a flat-blade screw driver to turn the fuse holder counter-clockwise, and pull out the fuse holder. Put the new specified fuse into the fuse holder, and insert the assembly back into the instrument, turning the fuse holder clockwise to lock it in place. |
| 8 | AC/DC Current Input Terminals | Signal input terminals, used for AC/DC current measurements. |
| 9 | Power button | Turn on/off the multimeter. |
| 10 | Measurement Function Keys | DC or AC voltage measurements DC or AC current measurements Resistance, continuity, and diode measurements Capacitance measurements Frequency/Period measurements Temperature measurements | |
| 11 | Dual | Press this key to display the function list on the right menu, select a function, if the function is supported, the reading will be displayed in the Vice Display. | |
| 12 | Dual Exit | Press the key to exit dual display mode. |

Figure 2-2 Rear panel overview
| Item | Name | Description |
| 1 | RS232 | Connect the PC through this port. |
| 2 | Line Fuse | The fuse rating is 250 V, F1AL. To replace the fuse, see page 15, Appendix C: Line Fuse Replacement. |
| 3 | AC Mains Input | AC mains input connector. |
| 4 | Chassis Ground Screw | To ground the chassis. |
| 5 | Instrument Cable Lock | You can lock the instrument to a fixed location using the security lock (please buy it yourself) to secure the instrument. |
User Interface

Trigger Mode
| Display | Description |
| Trigger | Auto trigger |
Figure 2-3 User interface

Power On
- Connect the instrument to the 90 – 240 V AC supply using the supplied power cord.
Warning: To avoid electric shock, the instrument must be grounded properly. - Press down the power button at the front panel, the screen shows the progress bar, and then the user interface will be displayed.
Measurement Connections
After selecting the desired measurement function, please connect the signal (device) under test to the multimeter according to the method below. To avoid instrument damage, do not discretionarily switch the measurement function when measuring.



Data Record Function
Data record function includes manual record and auto record. You can use any or both functions to record the data. The readings recorded in manual record or auto record will be saved into a same data table in the internal memory. The maximum number of readings is 1000. Once you have finished collecting data, you can view it in data table, and export it to a computer via RS232 port.
Manual record: Press the front panel SAVE key to save current reading to the data table of the internal memory.
Auto record: After setting number of points, sample interval, press the Start softkey to start recording. After recording, you can view the data saved in the data table of the internal memory.
Manual Record
- Collect data: The instrument saves current reading in the data table of the internal memory each time the front panel key is pressed. The icon will show up on the top of the display.
Note:- The measurement function can be switched during manual record.
- When the dual display is enabled, only the reading of main display function can be saved.
- View the manual record: Press the front panel key, press the Manual softkey to display the data table. Press keys to turn the page. (When the data table is shown, you can still save current reading by pressing the key.)
Note:- When the recording data exceeds the current range, the data will be marked as “overload”.
- When the relative operation is turned on, the recorded data will still be the original readings without relative operation.
- Clear the manual record: Press the Clear softkey to clear current manual record. (Note: The auto record data will also be cleared, since they share the same data table.)
Auto Record
- Configure the parameters: Press the front panel key, press the Auto softkey.
Press the Point softkey to specify the total number of readings to record. The range is 1 to 1000.
Press the Interval softkey to specify the time interval between readings. The range is 15 ms to 9999.999 s. - Record data: Press the Start softkey to start auto record. The icon will show up on the top of the display. Press the End softkey to stop recording, the recorded readings will be displayed in the data table. Press keys to turn the page.
Note:- The measurement function can be switched during auto record.
- In auto range, the relay switch may cause jitter, the data at this time is invalid. It will last about a few hundred milliseconds, and the data acquired in this period will be marked as “invalid”.
- When the dual display is enabled, only the reading of main display function can be saved.
Troubleshooting
- The instrument is powered on but no Display.
- Check if the power is connected properly.
- Check if the line fuse which is below the AC Mains Input is used appropriately and in good condition (see page 15, Appendix C: Line Fuse Replacement).
- Restart the instrument after the steps above.
- If the problem still exists, please contact us for our service.
- The reading does not change when a current signal is input.
- Check whether the test lead is correctly inserted into the current input terminals (I terminal and LO Input terminal).
- Check whether the current terminal fuse at the front panel is burned out. Please refer to “7 Current Terminal Fuse” in “Front panel overview” on page 7.
- Check whether the DCI or ACI measurement function is enabled.
- Check whether the DCI measurement function is used to measure AC current.
If you encounter other problems, try to reset the settings or restart the instrument. If it still cannot work properly, please contact us for our service, and provide your device information (press the front panel UTILITY key to view it).
Appendix
Appendix A: Enclosure
Standard Accessories (subject to final delivery):

Appendix B: General Care and Cleaning
General Care
Do not store or leave the instrument where the liquid crystal display will be exposed to direct sunlight for long periods of time.
Cleaning
To clean the instrument exterior, perform the following steps:
- To prevent electrical shock, disconnect the instrument from AC mains power and disconnect all test leads before cleaning.
- Clean the outside of the instrument using a wet soft cloth not dripping water. Do not make any scuffing when cleaning the LCD screen. To avoid damage to the instrument, do not use any corrosive chemical cleaning agent.
Caution: To avoid any damage to the instrument, do not exposed it to any sprays, liquids, or solvents.
Warning: Before power on again for operation, it is required to confirm that the instrument has already been dried completely, avoiding any electrical short circuit or bodily injury resulting from the moisture.
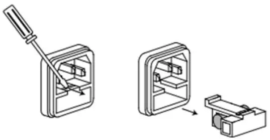
Appendix C: Line Fuse Replacement
The line fuse is in the plastic fuse box below the power line input on the rear panel.
Warning: Disconnect the line cord at the rear panel and remove all test leads connected to the instrument before replacing the line fuse. Failure to do so could expose the operator to hazardous voltages that could result in personal injury or death.
Use only the correct fuse type. Failure to do so could result in personal injury or instrument damage.
| Voltage | Fuse |
| 90 – 240 V AC | 250 V, F1AL |
To perform the line fuse replacement, follow these steps:
- Turn off the multimeter, remove all measurement leads and other cables from the instrument, including the power cord.
- Use a flat-blade screwdriver to remove the fuse box.

- Replace the fuse with a new one, which should match with the rating; install it into the fuse box, and push the fuse box back on to the rear panel.





















