INSTALLATION INSTRUCTIONS AND OWNER’S MANUAL
Counter-Depth Side by Side Refrigerator
IMPORTANT: INSTALLATION REQUIRES 2 OR MORE PEOPLE.
Do Not Throw Away — Additional important safety information included.
REFRIGERATOR SAFETY
Your safety and the safety of others are very important.
We have provided many important safety messages in this manual and on your appliance. Always read and obey all safety messages.
| This is the safety alert symbol. This symbol alerts you to potential hazards that can kill or hurt you and others. All safety messages will follow the safety alert symbol and either the word “DANGER” or “WARNING.” These words mean: | |
| You can be killed or seriously injured if you don’t immediately follow instructions. | |
| You can be killed or seriously injured if you don’t follow instructions. | |
| All safety messages will tell you what the potential hazard is, tell you how to reduce the chance of injury, and tell you what can happen if the instructions are not followed. | |
IMPORTANT SAFETY INSTRUCTIONS
WARNING: To reduce the risk of fire, electric shock, or injury when using your refrigerator, follow these basic precautions:
| Plug into a grounded 3 prong outlet | Use non-flammable cleaner. |
| Do not remove the ground prong. | Keep flammable materials and vapors, such as gasoline, away from the refrigerator. |
| Do not use an adapter. | Use two or more people to move and install the refrigerator. |
| Do not use an extension cord. | Disconnect power before installing ice maker (on ice maker kit ready models only). |
| Disconnect power before servicing. | Use a sturdy glass when dispensing ice (on some models). |
| Replace all parts and panels before operating. | Do not hit the refrigerator glass doors (on some models). |
| Remove doors from your old refrigerator. |
SAVE THESE INSTRUCTIONS
State of California Proposition 65 Warnings:
WARNING: This product contains one or more chemicals known to the State of California to cause cancer.
WARNING: This product contains one or more chemicals known to the State of California to cause birth defects or other reproductive harm.
Proper Disposal of Your Old Refrigerator
WARNING
Suffocation Hazard
Remove doors from your old refrigerator.
Failure to do so can result in death or brain damage.
IMPORTANT: Child entrapment and suffocation are not problems
of the past. Junked or abandoned refrigerators are still dangerous,even if they will sit for “just a few days.” If you are getting rid of your old refrigerator, please follow these instructions to help prevent accidents.
Before You Throw Away Your Old Refrigerator or Freezer:
■ Take off the doors.
■ Leave the shelves in place so that children may not easily climb inside.

Important information to know about disposal of refrigerants:
Dispose of refrigerator in accordance with Federal and Local regulations.
Refrigerants must be evacuated by a licensed, EPA certified refrigerant technician in accordance with established procedures.
INSTALLATION REQUIREMENTS
Tools and Parts
IMPORTANT:
■ Observe all governing codes and ordinances.
■ Installer: Leave Installation Instructions with homeowner.
■ Homeowner: Keep Installation Instructions for future reference and for the local electrical inspector’s use.
■ Keep cardboard shipping pieces or plywood under refrigerator until it is installed in the operating position.
■ Comply with installation specifications and dimensions.
■ Remove any moldings or decorative panels from kitchen cabinets that would not allow access to the refrigerator for service.
■ Contact a qualified electrical installer.
TOOLS NEEDED (on some models):
Gather the required tools and parts before starting installation.
Read and follow the instructions provided with any tools listed here.
■ Cordless drill
■ ⁵⁄₁₆” or adjustable wrench
■ ¹⁄₄” Nut driver and drill bit
■ ⁷⁄₁₆” and ¹⁄₂” Open-end wrenches
■ Two adjustable wrenches
■ Flat-blade screwdriver
■ ³⁄₈” and ¹⁄₂” Socket wrenches
PARTS NEEDED (on some models):
■ Your refrigerator dealer has a kit available with a ¹⁄₄” (6.35 mm) saddle-type shutoff valve, a union, and copper tubing.
■ Or you can purchase a ¹⁄₄” (6.35 mm) copper tubing with shutoff valve and a ¹⁄₄” (6.35 mm) compression fitting (coupling).
■ Depending on water line connections, you may also need a ¹⁄₄” (6.35 mm) nut and ¹⁄₄” (6.35 mm) ferrule.
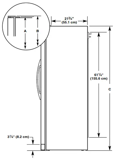
Product Dimensions
Top View

| Door | Depth | Depth | Depth |
| Style | A | B | C |
| Flat | 27¹⁄₂” | 2⁵⁄₈” (6.5 cm) | 30″ (76.3 cm) |
| (69.8 cm) | maximum* | maximum* | |
| Curved | 28⁵⁄₈” | 2⁵⁄₈” | 31¹⁄₈” |
| (72.5 cm) | (6.5 cm) | (79.1 cm) |
*Dimension may vary based on style of door handle.
The depth for the largest available handle is listed.
Front View

| Model Size | Height A |
| 69″ | 65³⁄₄” (166.9 cm) |
| 72″ | 68¹⁄₈” (172.9 cm) |
Side View
■ Height dimensions are shown with the leveling legs extended to the minimum height of ¹⁄₄” (6.35 mm) below the refrigerator.
NOTE: When leveling legs are fully extended to 1″ (25 mm) below the refrigerator, add ³⁄₄” (19 mm) to the height dimensions.
■ The power cord is 61¹⁄₄” (155.6 cm) long.
■ The water line attached to the back of the refrigerator is 78″ (198.1 cm) long.

| Model Size | Height A | Height B | Height C |
| 69″ | 68⁷⁄₈” | 68⁷⁄₈” | 68¹⁄₂” |
| (174.8 cm) | (174.9 cm) | (174.2 cm) | |
| 72″ | 71¹⁄₄” | 71¹⁄₄” | 71″ |
| (180.8 cm) | (180.9 cm) | (180.2 cm) |
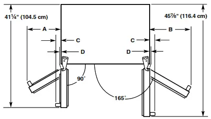
Opening Dimensions
■ Height dimensions are shown with the leveling legs extended to the minimum height of ¹⁄₄” (6.35 mm) below the refrigerator.
NOTE: When leveling legs are fully extended to 1″ (25 mm) below the refrigerator, add ³⁄₄” (19 mm) to the height dimensions.
■ In the following graphic, “A” represents the opening height required for standard cabinets. For full-overlay cabinet doors with a trim kit, add ¹⁄₈” (0.3 cm).
■ In the following graphic, “B” represents the distance needed to fully open the freezer door and “C” represents the distance needed to fully open the refrigerator door.

| Model Size | Height | Width | Width |
| and | A | B | C |
| Door Style | |||
| 69″ | 69″ | 13⁵⁄₈” | 18¹⁄₈” |
| Flat | (175.3 cm) | (34.5 cm) | (46.0 cm) |
| maximum* | maximum* | ||
| 72″ | 72″ | 13⁵⁄₈” | 18¹⁄₈” |
| Flat | (182.9 cm) | (34.5 cm) | (46.0 cm) |
| maximum* | maximum* | ||
| 69″ | 69″ | 13³⁄₄” | 18³⁄₈” |
| Curved | (175.3 cm) | (34.9 cm) | (46.4 cm) |
| 72″ | 72″ | 13³⁄₄” | 18³⁄₈” |
| Curved | (182.9 cm) | (34.9 cm) | (46.4 cm) |
*Dimension may vary based on style of door handle.
The width for the largest available handle is listed.
Door Swing Dimensions
■ Location must permit doors to open to a minimum of 165°.
■ In the following graphic, “A” represents the distance needed to fully open the freezer door and “B” represents the distance needed to fully open the refrigerator door.

| Dimension | Flat Doors | Curved Doors |
| A | 13⁵⁄₈” (34.5 cm) | 13³⁄₄” (34.9 cm) |
| maximum* | ||
| B | 18¹⁄₈” (46.0 cm) | 18³⁄₈” (46.4 cm) |
| maximum* | ||
| C | 2³⁄₄” (6.7 cm) | 3³⁄₄” (9.4 cm) |
| maximum* | ||
| D | ¹⁄₈” (0.2 cm) | 1¹⁄₄” (2.9 cm) |
*Dimension may vary based on style of door handle.
The width for the largest available handle is listed.
Location Requirements
![]() |
| Explosion Hazard Keep flammable materials and vapors, such as gasoline, away from refrigerator. Failure to do so can result in death, explosion, or fire. |
NOTES:
■ The refrigerator can be installed into a recessed opening, at the end of cabinets or as a freestanding refrigerator.
■ If you are installing the refrigerator to fit flush with the front of the base cabinets, all shoe moulding and baseboards must be removed from the rear of the refrigerator opening. Allow for 1″ (2.54 cm) of space behind the refrigerator.
■ Location should permit doors to open fully. See “Product Dimensions.”
■ This refrigerator is intended for use in a location where the temperature ranges from a minimum of 55°F (13°C) to a maximum of 110°F (43°C). The preferred room temperature range for optimum performance, which reduces electricity usage and provides superior cooling, is between 60°F (15°C) and 90°F (32°C). It is recommended that you do not install the refrigerator near a heat source, such as an oven or radiator.
■ Floor must support refrigerator weight (more than 600 lbs [272 kg]) and contents.
Electrical Requirements
![]() |
| Electrical Shock Hazard Plug into a grounded 3 prong outlet. Do not remove ground prong. Do not use an adapter. Do not use an extension cord. Failure to follow these instructions can result in death, fire, or electrical shock. |
Before you move your refrigerator into its final location, it is important to make sure you have the proper electrical connection.
Recommended Grounding Method
A 115 volt, 60 Hz, AC-only, 15- or 20-amp fused, grounded electrical supply is required. It is recommended that a separate circuit serving only your refrigerator be provided. Use an outlet that cannot be turned off by a switch. Do not use an extension cord.
NOTE: Before performing any type of installation or cleaning, or removing a light bulb, turn cooling off or turn the control (Thermostat, Refrigerator or Freezer Control depending on the model) to OFF, and then disconnect the refrigerator from the electrical source. When you are finished, reconnect the refrigerator to the electrical source and turn cooling on or reset the control (Thermostat, Refrigerator or Freezer Control depending on the model) to the desired setting. See “Using the Controls” in the User Instructions, User Guide, or Use & Care Guide.
Water Supply Requirements
Gather the required tools and parts before starting installation.
Read and follow the instructions provided with any tools listed here.
TOOLS NEEDED:
■ Flat-blade screwdriver
■ ⁷⁄₁₆” and ¹⁄₂” open-end or two adjustable wrenches
■ ¹⁄₄” nut driver
■ ¹⁄₄” drill bit
■ Cordless drill
NOTE: Your refrigerator dealer has a kit available with a ¹⁄₄” (6.35 mm) saddle-type shutoff valve, a union, and copper tubing. Before purchasing, make sure a saddle-type valve complies with your local plumbing codes. Do not use a piercing-type or ³⁄₁₆” (4.76 mm) saddle valve which reduces water flow and clogs more easily.
IMPORTANT:
■ All installations must meet local plumbing code requirements.
■ Use copper tubing and check for leaks. Install copper tubing only in areas where the household temperatures will remain above freezing.
Water Pressure
A cold water supply with water pressure of between 30 and 120 psi (207 and 827 kPa) is required to operate the water dispenser and ice maker. If you have questions about your water pressure, call a licensed, qualified plumber.
■ If your refrigerator has a water dispenser: After installation is complete, use the water dispenser to check the water pressure.
■ With the water filter removed, dispense 1 cup (237 mL) of water. If 1 cup of water is dispensed in 8 seconds or less, the water pressure to the refrigerator meets the minimum requirement.
■ If it takes longer than 8 seconds to dispense 1 cup of water, the water pressure to the refrigerator is lower than recommended. See “Problem Solver” for suggestions.
Reverse Osmosis Water Supply
IMPORTANT: The pressure of the water supply coming out of a reverse osmosis system going to the water inlet valve of the refrigerator needs to be between 30 and 120 psi (207 and 827 kPa).
If a reverse osmosis water filtration system is connected to your cold water supply, the water pressure to the reverse osmosis system needs to be a minimum of 40 to 60 psi (276 to 414 kPa). If the water pressure to the reverse osmosis system is less than 40 to 60 psi (276 to 414 kPa):
■ Check to see whether the sediment filter in the reverse osmosis system is blocked. Replace the filter if necessary.
■ Allow the storage tank on the reverse osmosis system to refill after heavy usage.
■ If your refrigerator has a water filter, it may further reduce the water pressure when used in conjunction with a reverse osmosis system. Remove the water filter. See “Water Filtration System” in the User Instructions, User Guide, or Use & Care Guide.
If you have questions about your water pressure, call a licensed, qualified plumber.
INSTALLATION INSTRUCTIONS
Unpack the Refrigerator
WARNING
Excessive Weight Hazard
Use two or more people to move and install refrigerator.
Failure to do so can result in back or another injury.
Remove the Packaging
Dispose of/recycle all packaging materials. Do not use sharp instruments, rubbing alcohol, flammable fluids, or abrasive cleaners to remove tape or glue. These products can damage the surface of your refrigerator.
IMPORTANT:
■ Use ¹⁄₂” socket wrench to remove skids (socket extension is recommended).
■ All four leveling legs must contact the floor to support and stabilize the full weight of the refrigerator.
When Moving Your Refrigerator:
Your refrigerator is heavy. When moving the refrigerator for cleaning or service, be sure to cover the floor with cardboard or hardboard to avoid floor damage. Always pull the refrigerator straight out when moving it. Do not wiggle or “walk” the refrigerator when trying to move it, as floor damage could occur.
Clean Before Using
After you remove all of the package materials, clean the inside of your refrigerator before using it. See the cleaning instructions.
Important information to know about glass shelves and covers:
Do not clean glass shelves or covers with warm water when they are cold. Shelves and covers may break if exposed to sudden temperature changes or impact, such as bumping. Tempered glass is designed to shatter into many small, pebble-size pieces. This is normal. Glass shelves and covers are heavy. Use both hands when removing them to avoid dropping.
Connect Water Supply
Read all directions before you begin.
IMPORTANT:
■ Plumbing shall be installed in accordance with the International Plumbing Code and any local codes and
ordinances.
■ The gray water tubing on the back of the refrigerator (which is used to connect to the household water line) is a PEX (cross-linked polyethylene) tube. Copper and PEX tubing connections from the household water line to the refrigerator are acceptable, and will help avoid off-taste or odor in your ice or water. Check for leaks. If PEX tubing is used instead of copper, we recommend the following Whirlpool Part Numbers:
W10505928RP (7 ft [2.14 m] jacketed PEX),
8212547RP (5 ft [1.52 m] PEX), or
W10267701RP (25 ft [7.62 m] PEX).
■ Install tubing only in areas where temperatures will remain above freezing.
TOOLS NEEDED:
Gather the required tools and parts before starting installation.
■ Flat-blade screwdriver
■ ⁷⁄₁₆” and ¹⁄₂” open-end wrenches or two adjustable wrenches
■ ¹⁄₄” nut driver
Connect to Water Line
IMPORTANT: If you turn the refrigerator on before the water line is connected, turn the ice maker OFF.
Style 1 (Recommended)
1. Unplug refrigerator or disconnect power.
2. Turn OFF main water supply. Turn ON the nearest faucet long enough to clear the line of water.
3. Use a quarter-turn shutoff valve or the equivalent, served by a
¹⁄₂” copper household supply line.
NOTE: To allow sufficient water flow to the refrigerator, a minimum ¹⁄₂” size copper household supply line is
recommended.

4. Now you are ready to connect the copper tubing to the shutoff valve. Use ¹⁄₄” (6.35 mm) OD soft copper tubing to connect the shutoff valve and the refrigerator.
■ Ensure that you have the proper length needed for the job.
Be sure both ends of the copper tubing are cut square.
■ Slip compression sleeve and compression nut onto copper tubing as shown. Insert end of tubing into outlet end squarely as far as it will go. Screw compression nut onto outlet end with adjustable wrench. Do not overtighten.

5. Place the free end of the tubing into a container or sink, and turn on main water supply to flush out tubing until water is clear. Turn off the shutoff valve on the water pipe.
NOTE: Always drain the water line before making the final connection to the inlet of the water valve to avoid possible water valve malfunction.
6. Bend the copper tubing to meet the water line inlet, which is located on the back of the refrigerator cabinet as shown. Leave a coil of copper tubing to allow the refrigerator to be pulled out of the cabinet or away from the wall for service.
Style 2
1. Unplug refrigerator or disconnect power.
2. Turn OFF main water supply. Turn ON nearest faucet long enough to clear line of water.
3. Locate a ¹⁄₂” (1.27 cm) to 1¹⁄₄” (3.18 cm) vertical cold water pipe near the refrigerator.
IMPORTANT:
■ Make sure it is a cold water pipe.
■ The horizontal pipe will work but drill on the top side of the pipe, not the bottom. This will help keep water away from the drill and normal sediment from collecting in the valve.
4. Determine the length of copper tubing you need. Measure from the connection on the lower rear corner of the refrigerator to the water pipe. Add 7 ft (2.1 m) to allow for cleaning. Use ¹⁄₄” (6.35 mm) O.D. (outside diameter) copper tubing. Be sure both ends of copper tubing are cut square.
5. Using a cordless drill, drill a ¹⁄₄” (6.35 mm) hole in the cold water pipe you have selected.

6. Fasten the shutoff valve to the cold water pipe with the pipe clamp. Be sure the outlet end is solidly in the ¹⁄₄” (6.35 mm) drilled hole in the water pipe and that the washer is under the pipe clamp. Tighten the packing nut. Tighten the pipe clamp screws slowly and evenly so the washer makes a watertight seal. Do not overtighten, or you may crush the copper tubing.
7. Slip the compression sleeve and compression nut on the copper tubing as shown. Insert the end of the tubing into the outlet end squarely as far as it will go. Screw the compression nut onto the outlet end with an adjustable wrench. Do not overtighten.
8. Place the free end of the tubing in a container or sink, and turn ON the main water supply. Flush the tubing until water is clear. Turn OFF the shutoff valve on the water pipe. Coil the copper tubing.
Connect to Refrigerator
Style 1
Unplug the refrigerator or disconnect power.
Remove and discard the short, black plastic part from the end of the water line inlet.
Thread the nut onto the end of the tubing. Tighten the nut by hand. Then tighten it with a wrench two more turns. Do not overtighten.
NOTE: To avoid rattling, be sure the copper tubing does not touch the cabinet’s sidewall or other parts inside the cabinet.

4. Install the water supply tube clamp around the water supply line to reduce strain on the coupling.
5. Turn shutoff valve ON.
6. Check for leaks. Tighten any connections (including connections at the valve) or nuts that leak.
Style 2
1. Unplug the refrigerator or disconnect power.
2. Remove and discard the plastic part that is attached to the inlet of the water valve.
3. Attach the copper tube to the valve inlet using a compression nut and sleeve as shown. Tighten the compression nut. Do not overtighten.
4. Use the tube clamp on the back of the refrigerator to secure the tubing to the refrigerator as shown. This will help avoid damage to the tubing when the refrigerator is pushed back against the wall.
5. Turn shutoff valve ON.
6. Check for leaks. Tighten any connections (including connections at the valve) or nuts that leak.

7. On some models, the ice maker is equipped with a built-in water strainer. If your water conditions require a second water strainer, install it in the ¹⁄₄” (6.35 mm) water line at either tube connection. Obtain a water strainer from your nearest appliance dealer.
Style 3
1. Unplug refrigerator or disconnect power.
2. Remove and discard the black nylon plug from the gray water tube on the rear of the refrigerator.
3. If the gray water tube supplied with the refrigerator is not long enough, a ¹⁄₄” x ¹⁄₄” (6.35 mm x 6.35 mm) coupling is needed in order to connect the water tubing to an existing household water line. Thread the provided nut onto the coupling on the end of the copper tubing.
NOTE: Tighten the nut by hand. Then tighten it with a wrench two more turns. Do not overtighten.

4. Turn shutoff valve ON.
5. Check for leaks. Tighten any nuts or connections (including connections at the valve) that leak.
Complete the Installation
![]() |
| Electrical Shock Hazard Plug into a grounded 3 prong outlet. Do not remove ground prong. Do not use an adapter. Do not use an extension cord. Failure to follow these instructions can result in death, fire, or electrical shock. |
- Plug into a grounded 3 prong outlet.
- Wait a few minutes. Check that the compressor is operating properly and that all lights are working.
NOTE: If the refrigerator does not operate, check that the circuit breaker is not tripped or that the household fuse has not blown. - Flush the water system. See “Water and Ice Dispensers” in the User Instructions or User Guide.
NOTE: Allow 24 hours to produce the first batch of ice. Allow 72 hours to completely fill ice container.
IMPORTANT: If construction will continue after the refrigerator has been installed, unplug the refrigerator or disconnect power.
Leveling and Door Closing
Your refrigerator has two adjustable front feet — one on the right and one on the left. In most cases, the refrigerator should be steady when both feet are touching the floor. If your refrigerator seems unsteady or if you want the doors to close more easily, adjust the refrigerator’s tilt using the instructions below:
- Move the refrigerator to its final location. Open both doors to 90°. Remove the base grille by removing the two screws, then pulling them out on the outside corners.
NOTE: The doors must only be opened to 90°. If they are opened all the way, the base grille will not come off. - The two leveling feet are located on the brackets on each side of the product.
NOTE: Having someone push against the top of the refrigerator takes some weight off the leveling feet. This makes it easier to make adjustments. - Use a ¹⁄₄” open-ended or adjustable wrench to adjust the leveling feet. Turn the leveling foot to the left to raise that side of the product, or turn it to the right to lower that side of the product.
NOTE: Both leveling feet should be snug against the floor, and the rollers should not touch the floor. This keeps the refrigerator from rolling forward when opening the doors. - Open both doors again and check that they close as easily as you like. If not, tilt the refrigerator slightly more to the rear by turning the leveling feet to the left. It may take several more turns, and you should turn both leveling feet the same amount.
- Use a bubble level to check the leveling of the refrigerator.
NOTE: Whenever you need to move the refrigerator, turn the leveling feet to the right until they are no longer touching the ground. This will allow the refrigerator to roll more easily.
Door Alignment
A refrigerator that is not level from side to side may appear to have doors that are not properly aligned. If the doors appear this way, use the instructions in the previous section to check the leveling.
The doors are designed to be slightly different heights when the refrigerator is empty, in order to account for the weight of food that will be placed on the doors. If the doors are still not aligned after checking the leveling nd loading the refrigerator with food, follow the steps below to adjust the door alignment.
1. If necessary, open both doors to 90° and remove the base grille.

2. Locate the alignment screw on the bottom hinge of the refrigerator door.

3. Use a ⁵⁄₁₆” open-ended or adjustable wrench to turn the screw. To raise the refrigerator door, turn the screw to the right. To lower the door, turn the screw to the left.
4. Check that the doors are even at the top. If necessary, continue to turn the alignment screw until the doors are aligned.
5. Open both doors to 90°. Replace the base grille.
FILTERS AND ACCESSORIES
Install Air Filter (on some models)
On some models, your refrigerator’s accessory packet includes an air filter, which must be installed prior to use. On some models, the air filter is already installed at the factory.

The air filter reduces the buildup of odors. This helps to maintain a cleaner environment inside the refrigerator.
Installing the Air Filter (on some models)
The filter should be installed behind the vented door, which is located (depending on your model) along either the rear or left interior wall near the top of the refrigerator compartment.

- Remove the air filter from its packaging.
- Lift open the vented door.
- Snap the filter into place.

- Close the vented door.
Installing the Filter Status Indicator (on some models)
The filter comes with a status indicator, which should be activated and installed at the same time the air filter is installed.

- Place the indicator face-down on a firm, flat surface.
- Apply pressure to the bubble on the back of the indicator, until the bubble pops to activate the indicator.
- Lift open the vented air filter door. On some models, there are notches behind the door.
- On models with notches:
■ Slide the indicator down into the notches, facing outward.
NOTE: The indicator will not easily slide into the notches if the rear bubble has not been popped.
■ Close the air filter door, and check that the indicator is visible through the rectangular hole in the door.
On models without notches:
■ Store the indicator in a visible place you will easily remember – either inside the refrigerator or elsewhere in your kitchen or home.
Replacing the Air Filter
The disposable air filter should be replaced every 6 months, whethe status indicator has completely changed from white to red.
To order a replacement air filter, see “Accessories” in the User Instructions or User Guide.
- Remove the old air filter by squeezing in on the side tabs.
- Remove the old status indicator.
- Install the new air filter and status indicator using the instructions in the previous sections.
Install Produce Preserver (on some models)
On some models, your refrigerator’s accessory packet includes a Produce Preserver, which should be installed prior to use. On some models, the Produce Preserver is already installed at the factory.
The Produce Preserver absorbs ethylene, allowing the ripening process of many produce items to slow down. As a result, certain produce items will stay fresh longer.
Ethylene production and sensitivity vary depending on the type of fruit or vegetable. To preserve freshness, it is best to separate produce with sensitivity to ethylene from fruits that produce moderate to high amounts of ethylene.
| Sensitivity to Ethylene | Ethylene Production | |
| Apples | High | Very High |
| Asparagus | Med. | Very Low |
| Berries | Low | Low |
| Broccoli | High | Very Low |
| Cantaloupe | Med. | High |
| Carrots | Low | Very Low |
| Citrus Fruit | Med. | Very Low |
| Grapes | Low | Very Low |
| Lettuce | High | Very Low |
| Pears | High | Very High |
| Spinach | High | Very Low |
Installing the Produce Preserver (on some models)
CAUTION: IRRITANT
MAY IRRITATE EYES AND SKIN. DANGEROUS FUMES FORM WHEN MIXED WITH OTHER PRODUCTS.
Do not mix with cleaning products containing ammonia, bleach or acids. Do not get in eyes, on skin or on clothing. Do not breathe dust. Keep out of reach of children.
FIRST AID TREATMENT: Contains potassium permanganate. If swallowed, call a Poison Control Center or doctor immediately. Do not induce vomiting. If in eyes, rinse with water for 15 minutes. If on skin, rinse with water.
The Produce Preserver pouches should be installed in their housing, which is located along an interior sidewall of the crisper or convertible drawer.

NOTE: For best performance, always use two pouches.
- Remove the Produce Preserver pouches from their packaging.
- Lift up on the housing in order to remove it from its mounting tab along the wall.
- Open the housing by pulling up and out on the back of the top of the housing.
- Place both pouches inside the housing, then snap the housing back together.
- Place the housing back on the mounting tab along the wall.
Installing the Status Indicator (on some models)
The Produce Preserver comes with a status indicator, which should be activated and installed at the same time the pouch is installed.

- Place the indicator face-down on a firm, flat surface.
- Apply pressure to the bubble on the back of the indicator, until the bubble pops to activate the indicator.
- Slide open the cap on the Produce Preserver housing.
- Place the indicator in the top of the housing, facing outward.
- Slide the cap closed, and check that the indicator is visible through the rectangular hole in the cap.
NOTE: The cap will not easily close if the indicator’s rear bubble has not been popped.
Replacing the Produce Preserver (on some models)
The disposable pouches should be replaced every 6 months, when the status indicator has completely changed from white to red.
To order replacements, see “Accessories” in the User Instructions or User Guide.
- Remove the old pouches from the Produce Preserver housing.
- Remove the old status indicator.
- Install the new pouches and status indicators using the instructions in the previous sections.
Changing the Water Filter
Do not use with water that is microbiologically unsafe or of unknown quality without adequate disinfection before or after the system. Systems certified for cyst reduction may be used on disinfected waters that may contain filterable cysts.
The water filter status light will help you know when to change your water filter. See “Water Filtration System” in the User Instructions or User Guide.
NOTE: If water flow to your water dispenser or ice maker decreases noticeably, change the filter sooner. The filter should be replaced at least every 6 months, depending on your water quality and usage.

- Locate the water filter in the top-right corner of the refrigerator compartment.
- Lift open the filter cover door. The filter will be released and then be ejected as the door is opened.
- When the door is completely open, pull the filter straight out.
NOTE: There may be some water in the filter. Some spilling may occur. Use a towel to wipe up any spills. - Take the new filter out of its packaging and remove the cap. Be sure the O-rings are still in place after the cap is removed.

- With the arrow pointing up, align the new filter with the filter housing and slide it into place. The filter cover door will automatically begin to close as the new filter is inserted.
- Close the filter cover door completely in order to snap the filter into place. You may need to press hard.
- After changing the filter, reset the filter status light. See “Water Filtration System” in the User Instructions or User Guide.
- Flush the water system. See “Water and Ice Dispensers” in the User Instructions or User Guide.
REFRIGERATOR CARE
Cleaning
![]() |
| Explosion Hazard Use nonflammable cleaner. Failure to do so can result in death, explosion, or fire. |
Both the refrigerator and freezer sections defrost automatically. However, clean both sections about once a month to avoid buildup of odors. Wipe up spills immediately.
IMPORTANT: Because air circulates between both sections, any odors formed in one section will transfer to the other. You must thoroughly clean both sections to eliminate odors. To avoid odor transfer and drying out of food, wrap or cover foods tightly.
To Clean Your Refrigerator:
NOTE: Do not use abrasive or harsh cleaners such as window sprays, scouring cleansers, flammable fluids, cleaning waxes, concentrated detergents, bleaches or cleansers containing petroleum products on plastic parts, interior and door liners or gaskets. Do not use paper towels, scouring pads, or other harsh cleaning tools.
- Unplug the refrigerator or disconnect power.
- Hand wash, rinse, and dry removable parts and interior surfaces thoroughly. Use a clean sponge or soft cloth and a mild detergent in warm water.
- Wash stainless steel and painted metal exteriors with a clean sponge or soft cloth and a mild detergent in warm water.
- There is no need for routine condenser cleaning in normal home operating environments. If the environment is particularly greasy or dusty, or there is significant pet traffic in the home, the condenser should be cleaned every 2 to 3 months to ensure maximum efficiency.
If you need to clean the condenser:
■ Remove the base grille. See the “Door Removal” instructions, either in the User Instructions or the Installation Instructions and Owner’s Manual or in the
separate instruction sheet provided with your refrigerator.
■ Use a vacuum cleaner with a soft brush to clean the grille, the open areas behind the grille, and the front surface area of the condenser.
■ Replace the base grille when finished. - Plug in the refrigerator or reconnect power.
Lights
IMPORTANT: The refrigerator and freezer compartments, air tower and dispenser lights are LEDs that cannot be changed by yourself. To order replacement LED lightings, call Whirlpool service. In the U.S.A., call 1-800-253-1301. In Canada, call 1-800-807-6777.
Light Styles:
The dispenser lights are mini LEDs that cannot be changed. The interior lights vary by model.
■ Some models have mini LEDs that cannot be changed.
■ Some models have full-size LED bulbs that can be changed. To order replacement LED bulbs, call 1-800-253-1301 (U.S.A.) or 1-800-807-6777 (Canada).

NOTE: Some LED replacement bulbs are not recommended for wet/damp environments. The refrigerator and freezer compartments are considered to be wet/damp environments. If using a brand of LED bulb other than the recommended Whirlpool LED bulb, read and follow all instructions on the replacement bulb’s packaging before installing it.
■ Some models have incandescent 40-watt bulbs that can be changed.

NOTE: Not all replacement bulbs will fit your refrigerator.
Do not use an incandescent bulb in excess of 40 watts.
To Change a Light Bulb:
- Unplug the refrigerator or disconnect power.
- Remove the light shield as explained in the following sections.
NOTE: To clean the light shield, wash it with warm water and liquid detergent. Before reinstalling, thoroughly rinse and dry the shield. - Replace the burned-out light bulb, as explained in the following sections.
- Reinstall the light shield, as explained in the following sections.
- Plug in the refrigerator or reconnect power.
Refrigerator Compartment – Upper Lights
■ Light Shield Removal:
Slide the light shield toward the rear of the refrigerator and remove it from the light housing.

Replacement Bulb:
■ If the burned-out light is a full-size LED bulb, replace it with Whirlpool part number W10574850A (a 2.0 watt LED bulb).
■ If the burned-out light is an incandescent bulb, replace it with an incandescent appliance bulb of the same size, shape and wattage (40-watt maximum).
Light Shield Reinstallation:
■ Align the light shield in the grooves at the bottom edge of the light housing, then slide it forward until it snaps into place.

Refrigerator Compartment – Lower Lights
Light Shield Removal:
■ Slide the light shield to the right to remove the left end from the wall slots; then, pull the right end out of its wall slots.

Replacement Bulb:
■ If the burned-out light is a full-size LED bulb, replace it with Whirlpool part number W10565137A (a 3.6 watt LED bulb).
■ If the burned-out light is an incandescent bulb, replace it with an incandescent appliance bulb of the same size, shape and wattage (40-watt maximum).
Light Shield Reinstallation:
■ Place the right end of the light shield into the wall slots, then snap the left end into its wall slots.

Freezer Compartment – Upper Light
Light Shield Removal:
■ Gently squeeze the front and the bottom-rear edge of the light shield to release the tabs from the wall slots, then pull the light shield forward.

Replacement Bulb:
■ If the burned-out light is a full-size LED bulb, replace it with Whirlpool part number W10565137A (a 3.6 watt LED bulb).
■ If the burned-out light is an incandescent bulb, replace it with an incandescent appliance bulb of the same size, shape and wattage (40-watt maximum).
Light Shield Reinstallation:
Align the light shield in its proper position, and snap the tabs into the wall slots.

Freezer Compartment – Lower Light
Light Shield Removal:
■ Slide the light shield to the left to remove the right end from the wall slots, then pull the left end out of its wall slots.

Replacement Bulb:
■ If the burned-out light is a full-size LED bulb, replace it with Whirlpool part number W10565137A (a 3.6 watt LED bulb).
■ If the burned-out light is an incandescent bulb, replace it with an incandescent appliance bulb of the same size, shape, and wattage (40-watt maximum).
Light Shield Reinstallation:
■ Place the left end of the light shield into the wall slots, then snap the right end into its wall slots.

Vacation and Moving Care
Vacations
If You Choose to Leave Refrigerator On While You Are Away:
- Use up any perishables and freeze other items.
- If your refrigerator has an automatic ice maker and is connected to the household water supply, turn off the water supply to the refrigerator. Property damage can occur if the water supply is not turned off.
- If you have an automatic ice maker, turn off the ice maker.
NOTE: Depending on your model, raise the wire shutoff arm to
OFF (up) position or press the switch to OFF (right). - Empty the ice bin.
If You Choose to Turn Refrigerator Off Before You Leave:
- Remove all food from the refrigerator.
- If your refrigerator has an automatic ice maker:
■ Turn off the water supply to the ice maker at least one day ahead of time.
■ When the last load of ice drops, raise the wire shutoff arm to the OFF (up) position or move the switch to the OFF (right) setting. - Depending on the model, turn the Refrigerator Control to OFF or turn to cool off. See “Using the Controls” in the User Instructions, User Guide, or Use & Care Guide.
- Clean, wipe and dry thoroughly.
- Tape rubber or wood blocks to the tops of both doors to prop them open far enough for air to get in. This stops odor and mold from building up.
Moving
When you are moving your refrigerator to a new home, follow these steps to prepare it for the move.
- If your refrigerator has an automatic ice maker:
■ Turn off the water supply to the ice maker at least one day ahead of time.
■ Disconnect the water line from the back of the refrigerator.
■ When the last load of ice drops, raise the wire shutoff arm to the OFF (up) position or move the switch to the OFF (right) setting. - Remove all food from the refrigerator and pack all frozen food in dry ice.
- Empty the ice bin.
- Depending on the model, turn the Refrigerator Control to OFF or turn cooling off. See “Using the Controls” in the User Instructions, User Guide, or Use & Care Guide.
- Unplug refrigerator.
- Clean, wipe, and dry thoroughly.
- Take out all removable parts, wrap them well, and tape them together so they don’t shift and rattle during the move.
- Depending on the model, raise the front of the refrigerator so it rolls more easily OR screw in the leveling legs so they don’t scrape the floor. See “Adjust the Doors” or “Door Removal, Leveling and Alignment.”
- Tape the doors closed and tape the power cord to the back of the refrigerator. When you get to your new home, put everything back and refer to the Installation Instructions for preparation instructions. Also, if your refrigerator has an automatic icemaker, remember to reconnect the water supply to the refrigerator.
PROBLEM SOLVER
First, try the solutions suggested here or visit our website to possibly avoid the cost of a service call.
![]() |
| Electrical Shock Hazard Plug into a grounded 3 prong outlet. Do not remove ground prong. Do not use an adapter. Do not use an extension cord. Failure to follow these instructions can result in death, fire, or electrical shock. |
GENERAL OPERATION Possible Causes and/or Recommended Solutions
Refrigerator will not operate
■ Not connected to an electrical supply – Plug the power cord into a grounded 3 prong outlet.
Do not use an extension cord.
■ No power to the electrical outlet – Plug in a lamp to see if the outlet is working.
■ Household fuse has blown or circuit breaker has tripped – Replace the fuse or reset the circuit breaker. If the problem continues, contact a licensed electrician.
■ Control or cooling is not turned on – Turn on the refrigerator control, or turn to cool on. See “Using the Controls” in the User Instructions or User Guide.
■ New installation – Following installation, allow 24 hours for the refrigerator and freezer to cool completely.
NOTE: Adjusting the temperature control(s) to the coldest setting will not cool either compartment (refrigerator or freezer) more quickly.
Motor seems to run too much
■ Your new refrigerator has an energy-efficient motor – The refrigerator may run longer than you’re used to, because the compressor and fans operate at lower speeds that are more energy-efficient. This is normal.
NOTE: Your refrigerator may run even longer if the room is warm, a large load of food is added, the doors are opened often, or if a door has been left open.
Refrigerator seems noisy
The compressor in your new refrigerator regulates temperature more efficiently and uses less energy than older models. During various stages of operation, you may hear normal operating sounds that are unfamiliar.
The following noises are normal:
■ Buzzing/Clicking – Heard when the water valve opens and closes to dispense water or fill the ice maker. If the refrigerator is connected to a water line, this is normal. If the refrigerator is not connected to a water line, turn off the ice maker.
■ Cracking/Crashing – Heard when ice is ejected from the ice maker mold.
■ Popping – Heard when the inside walls contract/expand, especially during initial cooldown.
■ Pulsating/Whirring – Heard when the fans/compressor adjusts to optimize performance during normal operation.
■ Rattling – Heard when water passes through the waterline, or due to the flow of refrigerant. Rattling may also come from items placed on top of the refrigerator.
■ Water running or gurgling – Heard when the ice melts during the defrost cycle and water runs into the drain pan.
■ Sizzling – Heard when water drips onto the heater during the defrost cycle.
GENERAL OPERATION Possible Causes and/or Recommended Solutions
Temperature is too warm
■ New installation – Following installation, allow 24 hours for the refrigerator and freezer to cool completely.
NOTE: Adjusting the temperature control(s) to the coldest setting will not cool either compartment (refrigerator or freezer) more quickly.
■ Doors are opened often or not closed completely – This allows warm air to enter the refrigerator.
Minimize door openings, keep the doors fully closed, and make sure both doors are properly sealed.
■ Air vents are blocked – Remove items that are immediately in front of the vents.
■ Large amount of warm food recently added – Allow several hours for the refrigerator to return to its normal temperature.
■ Controls are not set correctly for the surrounding conditions – Adjust the controls to a colder setting. Check the temperature again in 24 hours.
Temperature is too cold
■ Controls are not set correctly for the surrounding conditions – Adjust the controls to a warmer setting. Check the temperature again in 24 hours.
■ Top refrigerator shelf is colder than lower shelves – On some models, air from the freezer enters the refrigerator compartment through vents near the top refrigerator shelf. As a result, the top shelf can be slightly colder than lower shelves.
■ Air vents are blocked – Remove items that are immediately in front of the vents.
Interior moisture buildup
NOTE: Some moisture buildup is normal. Clean with a soft dry cloth.
■ Room is humid – A humid environment contributes to moisture buildup. Use the refrigerator only in an indoor location, with as little humidity as possible.
■ Doors are opened often or not closed completely – This allows humid air to enter the refrigerator. Minimize door openings, keep the doors fully closed, and make sure both doors are properly sealed.
Interior lights do not work
■ Doors have been open for an extended period of time – Close the doors to reset the lights.
■ Light bulb is loose in the socket or has burned out – On models with incandescent or full-size LED interior light bulbs, tighten or replace the bulb. See “Lights.”
NOTE: On models with mini LED lights, call for assistance or service if the interior lights do not illuminate when either door is opened. See the Warranty in the User Instructions or User Guide for contact information.
Dispenser lights do not work (on some models)
■ Dispenser light is turned off – On some models, if the dispenser light is set to OFF, the light will turn on only when a dispenser pad/lever is pressed. If you want the dispenser light to stay on continuously, select a different setting. See “Water and Ice Dispensers” in the User Instructions or
User Guide.
■ Dispenser light is set to AUTO or NIGHT LIGHT – On some models, if the dispenser light is set to AUTO or NIGHT LIGHT, make sure the dispenser light sensor is not blocked. See “Water and Ice Dispensers” in the User Instructions or User Guide.
NOTE: On models with mini LED lights, call for assistance or service if the dispenser lights do not operate correctly. See the Warranty in the User Instructions or User Guide for contact information.
![]() |
| Explosion Hazard Use nonflammable cleaner. Failure to do so can result in death, explosion, or fire. |
DOORS AND LEVELING
Possible Causes and/or Recommended Solutions
Doors are difficult to open
■ Gaskets are dirty or sticky – Clean the gaskets and contact surfaces with mild soap and warm water. Rinse and dry with a soft cloth.
Doors will not close completely
■ Door is blocked open – Move food packages away from the door. Make sure all bins and shelves are in their correct positions. Make sure all packaging materials have been removed.
Doors appear to be uneven
■ Doors need to be aligned, or the refrigerator needs to be leveled – See the leveling and door alignment instructions.
Refrigerator rocks and is not stable
■ Refrigerator is not level – To stabilize the refrigerator, remove the base grille and lower the leveling feet until they touch the floor. See the leveling and door alignment instructions.
| Cut Hazard Use a sturdy glass when dispensing ice. Failure to do so can result in cuts. |
ICE AND WATER
Possible Causes and/or Recommended Solutions
Ice maker is not producing ice, not producing enough ice, or producing small/hollow ice
■ Refrigerator is not connected to a water supply, or the water supply shutoff valve is not fully turned on – Connect the refrigerator to a water supply and make sure the water shutoff valve is fully open.
■ Kink in the water source line – A kink in the water line can reduce water flow, resulting in decreased ice production, small ice cubes, and/or hollow or irregularly-shaped ice. Straighten the waterline.
■ Ice maker is not turned on – Turn on the ice maker. See “Ice Maker and Storage Bin” in the User Instructions or User Guide.
■ New installation – After connecting the refrigerator to a water source, flush the water system. (See “Water and Ice Dispensers” in the User Instructions or User Guide.) Wait 24 hours for ice production to begin. Wait 72 hours for full ice production. Discard the first three batches of ice produce
■ Large amount of ice was recently removed – Allow sufficient time for the ice maker to produce more ice.
■ Ice is jammed in the ice maker ejector arm (on some models) – Remove ice from the ejector’s arm using a plastic utensil.
■ Inadequate water pressure – Verify that the household has adequate water pressure. See “Water Supply Requirements.”
■ Water filter is installed incorrectly – Make sure the filter is properly installed. See “Water Filtration System” in the User Instructions or User Guide. ■ A reverse osmosis water filtration system is connected to your cold water supply – This can decrease water pressure. See “Water Supply Requirements.”
NOTE: If questions remain regarding water pressure, contact a licensed, qualified plumber.
Ice dispenser will not operate properly
■ Doors not closed completely – Make sure both doors are firmly closed. (On some models, only the freezer door must be closed in order to operate the dispenser.)
■ New installation – After connecting the refrigerator to a water source, flush the water system. (See “Water and Ice Dispensers” in the User Instructions or User Guide.) Wait 24 hours for ice production to begin. Wait 72 hours for full ice production. Discard the first three batches of ice produced.
■ Ice maker is not turned on, or ice bin is not installed correctly – Turn on the ice maker and make sure the ice storage bin is firmly in position. See “Ice Maker and Storage Bin” in the User Instructions or User Guide.
■ Ice is clogged or frozen together in the ice storage bin, or ice is blocking the ice delivery chute – Remove or separate the clogged ice, using a plastic utensil if necessary. Clean the ice delivery chute and the bottom of the ice storage bin using a warm damp cloth; then, dry both thoroughly. To avoid clogging and to maintain a fresh supply of ice, empty the storage bin and clean both the storage bin and the delivery chute every 2 weeks.
■ Wrong ice has been added to the storage bin – Use only ice cubes produced by the current ice maker.
■ Dispenser is locked – Unlock the dispenser. See “Water and Ice Dispensers” in the User Instructions or User Guide.
■ Ice dispenser jams while dispensing crushed ice – For models with the ice storage bin on the door, temporarily switch from crushed ice to cubed ice to clear the jam.
■ Dispenser pad/lever has been pressed too long – Ice will automatically stop dispensing. Wait a few minutes for the dispenser to reset, then resume dispensing. Take large amounts of ice directly from the ice bin, not through the dispenser.
■ Water pressure to the home is not at or above 30 psi (207 kPa) – The water pressure to the home affects the flow from the dispenser. See “Water Supply Requirements.”
■ Water filter is clogged or incorrectly installed – Replace filter or reinstall it correctly. See “Water Filtration System” in the User Instructions or User Guide.
Ice or water has an off-taste, odor, or gray color
■ New plumbing connections – New plumbing connections can result in off-flavored or discolored ice or water. This problem should go away over time.
■ Ice has been stored too long – Discard the ice and wash the ice bin. Allow 24 hours for the ice maker to produce new ice.
■ Odor has transferred from food – Use airtight moisture-proof packaging to store food.
■ Use of non-recommended water supply line – Odors and tastes can transfer from certain materials used in non-recommended water supply lines. Use only a recommended water supply line. See “Water Supply Requirements.”
■ There are minerals (such as sulfur) in the water – A water filter may need to be installed in order to remove the minerals.
■ Water filter was recently installed or replaced – Gray or dark discoloration in ice or water indicates that the water filtration system needs additional flushing. See “Water and Ice Dispensers” in the User Instructions or User Guide.
Water dispenser will not operate properly
■ Doors not closed completely – Make sure both doors are firmly closed. (On some models, only the freezer door must be closed in order to operate the dispenser.)
■ Refrigerator is not connected to a water supply, or the water supply shutoff valve is not turned on – Connect the refrigerator to a water supply and make sure the water shutoff valve is fully open.
■ Kink in the water source line – A kink in the water line can reduce water flow to the dispenser. Straighten the water line.
■ Water pressure to the home is not at or above 30 psi (207 kPa) – The water pressure to the home affects the flow from the dispenser. See “Water Supply Requirements.”
■ New installation – After connecting the refrigerator to a water source, flush the water system. See “Water and Ice Dispensers” in the User Instructions or User Guide.
■ Dispenser is locked – Unlock the dispenser. See “Water and Ice Dispensers” in the User Instructions or User Guide.
■ Water filter is clogged or incorrectly installed – Replace filter or reinstall it correctly. See “Water
■ Filtration System” in the User Instructions or User Guide.
■ A reverse osmosis water filtration system is connected to your cold water supply – This can decrease water pressure. See “Water Supply Requirements.”
NOTE: If questions remain regarding water pressure, contact a licensed, qualified plumber.
ICE AND WATER
Possible Causes and/or Recommended Solutions
Water is leaking or dripping from the dispenser
NOTE: After dispensing, a few additional drops of water are normal.
■ Glass was not held under the dispenser long enough – Hold the glass under the dispenser for 2 to 3 seconds after releasing the dispenser pad/lever.
■ New installation or water filter was recently installed or replaced – Air in the water lines causes the water dispenser to drip. Flush the water system to remove the air in the water lines. See “Water and Ice Dispensers” in the User Instructions or User Guide.
■ Residual ice in the dispenser chute is melting – Make sure the ice chute is free of ice shavings or pieces.
Water is leaking from the back of the refrigerator
■ Water line connections are not fully tightened – Make sure all connections are firmly tightened. See “Connect Water Supply.”
Water from the dispenser is not cool enough (on some models)
NOTE: Water from the dispenser is chilled to 50°F (10°C).
■ New installation – Allow 24 hours after installation for the water supply to cool completely.
■ Recently dispensed a large amount of water – Allow 24 hours for the new water supply to cool completely.
■ Water has not been recently dispensed – The first glass of water may not be cool. Discard the first glass of water dispensed.
■ Refrigerator is not connected to a cold water pipe – Make sure the refrigerator is connected to a cold water pipe. See “Water Supply Requirements.”
WATER FILTER CERTIFICATIONS
State of California
Department of Public Health
Water Treatment Device
Certificate Number
10-2030

| Trademark/Model Designation | P5WB2L | |
| Manufacturer: | Whirlpool | |
| The water treatment device(s) listed on this certificate have met the testing requirements pursuant to Section 116830 of the Health and Safety Code for the following health-related contaminants: | ||
| Microbiological Contaminants and Turbidity Cysts | Inorganic/Radiological Contaminants Asbestos Lead | |
| Organic Contaminants Atrazine Lindane Toxaphcnc 2, 4 – D | ||
| Rated Service Capacity: 200 gal | Rated Service Flow: 0.5 gpm in | |
Conditions of Certification: | ||
PERFORMANCE DATA SHEET
Water Filtration System
Model P5WB2L/P4RFWB Capacity 200 Gallons (757 Liters)
System tested and certified by NSF International against NSF/ANSI Standard 42 for the reduction of Chlorine Taste and Odor, and Particulate Class I*; and against NSF/ANSI Standard 53 for the reduction of Live Cysts, Asbestos, Lead, Lindane, Toxaphene, Atrazine, and 2,4 – D.
This system has been tested according to NSF/ANSI Standards 42 and 53 for the reduction of the substances listed below.
The concentration of the indicated substances in water entering the system was reduced to a concentration less than or equal to the permissible limit for water leaving the system, as specified in NSF/ANSI Standards 42 and 53.
| Substance Reduction | NSF Reduction | Average | Influent Challenge | Maximum | Minimum % | Average % |
| Aesthetic Effects | Requirements | Influent | Concentration | Effluent | Reduction | Reduction |
| Chlorine Taste/Odor | 50% reduction | 2.0 mg/L | 2.0 mg/L ± 10% | 0.20 mg/L | 97 | 97.2 |
| Particulate Class I* | 85% reduction | 7,300,000 #/mL | At least 10,000 particles/mL | 75,000 #/mL** | 99 | 99.4 |
| Contaminant | NSF Reduction | Average | Influent Challenge | Maximum | Minimum % | Average % |
| Reduction | Requirements | Influent | Concentration | Effluent | Reduction | Reduction |
| Live Cysts† | 99.95% | 160,000/L | 50,000/L min. | 54/L† | 99.97 | 99.99 |
| Asbestos | 99% | 87 MFL | 107 to 108 fibers/L†† | 0.17 MFL | 99 | 99 |
| Lead: @ pH 6.5 Lead: @ pH 8.5 | 0.010 mg/L 0.010 mg/L | 0.160 mg/L 0.140 mg/L | 0.15 mg/L ± 10% 0.15 mg/L ± 10% | 0.001 mg/L 0.005 mg/L | 99.4 98.6 | 99.4 98.6 |
| Lindane | 0.0002 mg/L | 0.0019 mg/L | 0.002 mg/L ± 10% | 0.00002 mg/L | 98.9 | 99 |
| Toxaphene | 0.003 mg/L | 0.014 mg/L | 0.015 mg/L ± 10% | 0.001 mg/L | 93 | 93 |
| Atrazine | 0.003 mg/L | 0.0094 mg/L | 0.009 mg/L ± 10% | 0.0005 mg/L | 94.5 | 94.7 |
| 2,4 – D | 0.07 mg/L | 0.220 mg/L | 0.210 mg/L ± 10% | 0.028 mg/L | 87.5 | 96.1 |
Test Parameters: pH = 7.5 ± 0.5 unless otherwise noted. Flow = 0.5 gpm (1.9 Lpm). Pressure = 60 psig (413.7 kPa).
Temp. = 68°F to 71.6°F (20°C to 22°C). Rated service capacity = 200 gallons (757 liters).
■ It is important that operational, maintenance and filter replacement requirements be carried out for the product to perform as advertised. Property damage can occur if all instructions are not followed.
■ Use replacement filter P4RFWB, part #W10295370A. 2014 suggested retail price of $39.99 U.S.A./$49.99 Canada. Prices are subject to change without notice.
Style 1 – When the water filter status display changes from “GOOD” to “ORDER,” order a new filter. When the filter indicator reads “REPLACE,” it is recommended that you replace the filter.
Style 2 – When the filter indicator changes from green to yellow, order a new filter. When the indicator changes from yellow to red, it is recommended that you replace the filter.
Style 3 – When the filter indicator reads 10%, order a new filter. When the indicator reads 0%, it is recommended that you replace the filter.
Style 4 – Press FILTER to check the status of your water filter. If the filter indicator light is yellow, order a new filter. If the filter indicator light is red, it is recommended that you replace the filter.
■ After changing the water filter, flush the water system. See “Water and Ice Dispensers” or “Water Dispenser” in the User Instructions or User Guide.
■ These contaminants are not necessarily in your water supply. While testing was performed under standard laboratory conditions, actual performance may vary.
■ The product is for cold water use only.
■ The water system must be installed in compliance with state and local laws and regulations.
■ Do not use with water that is microbiologically unsafe or of unknown quality without adequate disinfection before or after the system. Systems certified for cyst reduction may be used on disinfected waters that may contain filterable cysts.
■ Refer to the “Warranty” section (in the User Instructions or User Guide) for the Manufacturer’s name, address and telephone number.
■ Refer to the “Warranty” section (in the User Instructions or User Guide) for the Manufacturer’s limited warranty.
Application Guidelines/Water Supply Parameters
| Water Supply | City or Well |
| Water Pressure | 30 – 120 psi (207 – 827 kPa) |
| Water Temperature | 33° – 100°F (0.6° – 37.8°C) |
| Service Flow Rate | 0.5 gpm (1.9 Lpm) @ 60 psi |
* Class I particle size: >0.5 to <1 um
** Test requirement is at least 100,000 particles/mL of AC Fine Test Dust.
† Based on the use of Cryptosporidium parvum oocysts
†† Fibers greater than 10 um in length
® NSF is a registered trademark of NSF International.


NOTE: The doors must only be opened to 90°. If they are opened all the way, the base grille will not come off.
NOTE: Having someone push against the top of the refrigerator takes some weight off the leveling feet. This makes it easier to make adjustments.

















