KLARSTEIN 10031846 Vanilly Sky Family Ice Cream Maker

Dear Customer,
Congratulations on purchasing this device. Please read the following instructions carefully and follow them to prevent possible damages. We assume no liability for damage caused by disregard of the instructions and improper use. Scan the QR code to get access to the latest user manual and more product information.
TECHNICAL DATA
| Item number | 10031846, 10031848 |
| Power supply | 220-240 V ~ 50-60 Hz |
| Power consumtion | 250 W |
| Capacity | 2.5 L |
SAFETY INSTRUCTIONS
- Read all the safety and operating instructions carefully and retain them for future reference.
- Ensure the voltage is compliant with the voltage range stated on the rating label, and ensure the earthing of the socket is in good condition.
- If the supply cord is damaged, it must be replaced by the manufacturer or its service agent or a similarly qualified person in order to avoid a hazard.
- Do not upend this product or incline it over a 45° angle.
- To protect against risk of electric shock, do not pour water on cord, plug and ventilation, immerse the appliance in water or any other liquid.
- Unplug the appliance after using or before cleaning.
- Keep the appliance 8cm from other objects to ensure good heat release.
- Do not use the accessories which are not recommended by the Manufacturer.
- This appliance can be used by children aged from 8 years and above and persons with reduced physical, sensory or mental capabilities or lack of experience and knowledge if they have been given supervision or instruction concerning use of the appliance in a safe way and understand the hazards involved. Children shall not play with the appliance. Cleaning and user maintenance shall not be made by children without supervision. Children should be supervised to ensure that they do not play with the appliance.
- Do not use the appliance close by flames, hot plates or stoves.
- Do not switch on the power button frequently (ensure 5 min. intervals at least) to avoid the damage of the compressor.
- Metal sheet or other electric objects are not allowed to be inserted into the appliance to avoid fire and short circuit.
- When take out the ice cream, do not knock the barrel or edge of the barrel to protect the barrel from damage.
- Do not switch on the power before install well the barrel or blender blade.
- The initial temperature of the ingredients is 25±5℃.Do not put the ingredients into freezer for pre-freeze, as it will easily make the blender blade blocked before the ice cream is in good condition.
- Do not remove the blender blade when the appliance is on working.
- Do not use outdoors. Never clean with scouring powders or hard implements.
- Do not store explosive substances such as aerosol cans with a flammable propellant in this appliance.
- This appliance is intended to be used in households and similar applications.
This appliance contains the coolant isobutane (R600a),a natural gas that is environmentally friendly. Although it is flammable, it does not damage the ozone layer and does not increase the greenhouse effect. The use of this coolant has, however, led to a slight increase in the noise level of the appliance. In addition to the noise of the compressor, you might be able to hear the coolant flowing around the system. This is unavoidable, and does not have any adverse effect on the performance of the appliance. Care must be taken during the transportation and setting up of the appliance that no parts of the cooling system are damaged. Leaking coolant can damage the eyes.
Special Notes
- When positioning the unit, make sure that the power cord is not pinched or damaged.
- Make sure that there are no multiple sockets or power supplies on the back of the unit.
To avoid contamination of food, please follow the instructions below:
- Regularly clean surfaces that may come into contact with food.
WARNING
When using, servicing and disposing of the unit, pay attention to the left symbol on the rear of the unit or on the compressor. This symbol warns of possible fi res. There are fl ammable substances in the refrigerant lines and in the compressor. Keep the appliance away from sources of fi re during use, maintenance and disposal.
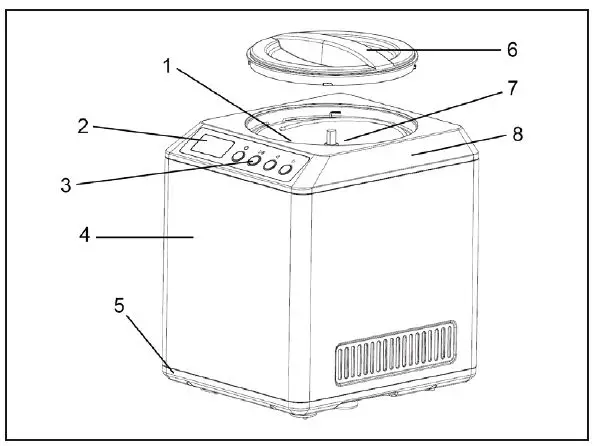
PRODUCT DESCRIPTION
- Removable bowl
- Display
- Control panel
- Housing
- Bottom plate
- Transparent lid
- Mixing blade
- Top lid

- Power
- Start/Pause
- Time setting
USE AND OPERATION
Function of Controls
Power
After power up, the machine enters standby mode. Then press the [POWER] button to enter the setting mode, prompting you to input the working time.
Start/Pause
After setting the working time, press this button to start the working mode. During operation, by pressing this button, the mixing will pause and the time countdown will pause as well.
Time setting
Use the arrow buttons to increase and decrease the working time.
Before first Use
Cleanness: Before use, thoroughly wash all parts that will come into contact with the ice cream (including the fixed bowl, removable bowl, mixing blade, transparent lid, refill lid, measuring cup and spoon). Warning: Please be sure the power cord is unplugged. Important: Always place the Ice Cream Maker upright on a flat surface in the order that the build-in COMPRESSOR can provide best performance.
Making Ice Cream
Keep cool function
To avoid melting when the ice cream is not placed well in time, the following design is supported: After the ice cream is finished and without any other operation, the machine will start up the keep cool function automatically, which can keep cool for one hour. One hour later, machine will enter standby state.
Motor self-protection function
When the ice cream becomes harder, the mixing motor might be blocked. Then the motor protection device makes the mixing motor stop working by detecting its temperature to ensure the life of the motor.
Controlling the Volume of the Ingredients
To avoid overflow and waste, please make sure that the ingredients do not exceed 60% of capacity of the removable bowl (Ice cream expands when being formed).
CARE AND CLEANING
CAUTION: The plug must be removed before cleaning to avoid electric shock.
- Take out the mixing blade, wipe it with a dampened cloth.
- Take out the removable bowl, clean it with a dampened soft cloth.
- Wipe the transparent lid and refill lid with a dampened cloth.
- Remove the dirty on the body or other places with a dampened cloth, and do not pour water on cord, plug and ventilation, immerse the appliance in water or any other liquid.
- Allow drying thoroughly with a dry cloth, then return the component to the home position.
DISPOSAL CONSIDERATIONS
If there is a legal regulation for the disposal of electrical and electronic devices in your country, this symbol on the product or on the packaging indicates that this product must not be disposed of with household waste. Instead, it must be taken to a collection point for the recycling of electrical and electronic equipment. By disposing of it in accordance with the rules, you are protecting the environment and the health of your fellow human beings from negative consequences. For information about the recycling and disposal of this product, please contact your local authority or your household waste disposal service.
MANUFACTURER & IMPORTER (UK)
Manufacturer:
Chal-Tec GmbH, Wallstrasse 16, 10179 Berlin, Germany.
Importer for Great Britain:
Berlin Brands Group UK Ltd PO Box 1145 Oxford, OX1 9UW United Kingdom




















