cybex GOLD Zeno Cycling Kit
WARNING
- Read and understand this owner’s manual and safety warnings before using this product. Failure to comply with the manufacturer’s instructions can lead to serious injury or death of the passenger/user.
- This seat unit is not suitable for children under 6 months unless used with an approved CYBEX baby accessory.
- Children must be at least 6 months old and able to sit upright unassisted.
- For cycling, the child must be old enough to wear a helmet and to sit upright unattended. Consult a pediatrician if the child is less than one year old.
- This cycling configuration is intended to transport children in daylight hours on sidewalks, light traffic public roads, and smooth paths. Do not:
- Use with excessive speed;
- Transport animals together with people;
- Use on rough off-road terrain;
- Exceed maximum weight limits;
- Store anything outside of the dedicated areas.
- Never leave the child unattended.
- Always use the restraint system.
- Ensure that all the locking devices are engaged before use.
- This product will become unstable if the manufacturer’s recommended load is exceeded. Do not use with children who exceed the weight limitations.
- Always make sure that the tires are sufficiently inflated. Never use this product with low tire pressure as this could result in loss of control. You can find the recommended inflation pressure embossed on each tire.
- Do not install a car seat or any other seating device not approved by CYBEX for this particular product.
- Using the product in unfavorable weather conditions can result in unsafe situations. Always use good judgment when deciding if conditions are safe to use the product.
- Do not allow any of the child’s body, clothing, shoelaces, or toys to come into contact with moving parts.
- A red reflector that complies with local regulations must be visible on the rear of this product when it is used for cycling.
- . Before each ride, ensure the attached trailer does not interfere with the braking, pedaling, or steering of the bicycle.
- When using this product as a bicycle trailer, please also follow the owner’s manual of the bicycle used for towing and follow their specifications regarding the maximum allowed full load for the bicycle.
- . Before using the product, check local regulations about where and how to use the product.
- . The pulling bicycle must be suitable for a bicycle trailer. It is recommended that the bicycle undergoes a safety check by a qualified bicycle mechanic before attaching it to the bicycle trailer.
- . Never ride a bicycle at night without adequate lighting. Obey all local legal requirements for lighting.
- . Bicycle trailers pulled by an EPAC/pedelec can be restricted by law. Obey all local legal requirements.
- Occupant(s) must always wear a helmet that complies with local regulations.
- . Use extreme caution while using the product as a bicycle trailer: never exceed 25 km / 15 mph, and slow down to less than 10 km / 6 mph around corners, on rough roads, and downhill.
- Be aware of the negative influence of the trailer on the braking distance, stability, and riding characteristics of the cycle when the trailer is attached.
- When this product is used as a trailer, the mesh cover should be closed to prevent debris from entering.
- The drawbar load shall be no less than 0.1 kg/0.22 lb and no greater than 8 kg/17.6 lb. Check this by measuring the weight at the tip of the drawbar with the loaded product attached to it.
- The user of this product must be aware of exposure hazards such as wind chill and heat exhaustion, either by less active children in prolonged exposure in colder temperatures or by extended periods in warmer temperatures without adequate ventilation or hydration.
- Always use the safety flag when cycling.
- When turning right, the angle between the towing bicycle and this product must not exceed 45°. When turning left, the angle must not exceed 90°.
- The nut on the rear axle of the bicycle must engage the threads for at least five full turns in order to ensure adequate clamping force for holding the rear wheel securely. Failure to tighten the axle nut adequately may result in accidentally loosening the rear wheel of the bicycle. If it is not possible to tighten the axle nut five full turns, consult a professional bicycle mechanic for the appropriate parts and assistance.
- When attaching the trailer hitch, always attach the backup safety strap to the bicycle. Do not use this product if you cannot attach the backup safety strap around your bicycle frame. Failure to install the backup safety strap may lead to the product separating from the bicycle.
- Never leave out the washer when fixing the trailer hitch to the bicycle as the trailer may separate from the bicycle.
- Do not use if any part of the product is broken, torn, or missing.
- Do not make any modifications to the product. If you have any complaints or problems, please contact your retailer.
- Examine this product regularly to see if any of the fasteners are bent, broken, missing, or loose. Tighten any loose fasteners and replace any damaged or missing fasteners.
- Do not use cleaning solvents. Clean only with mild soap and water.
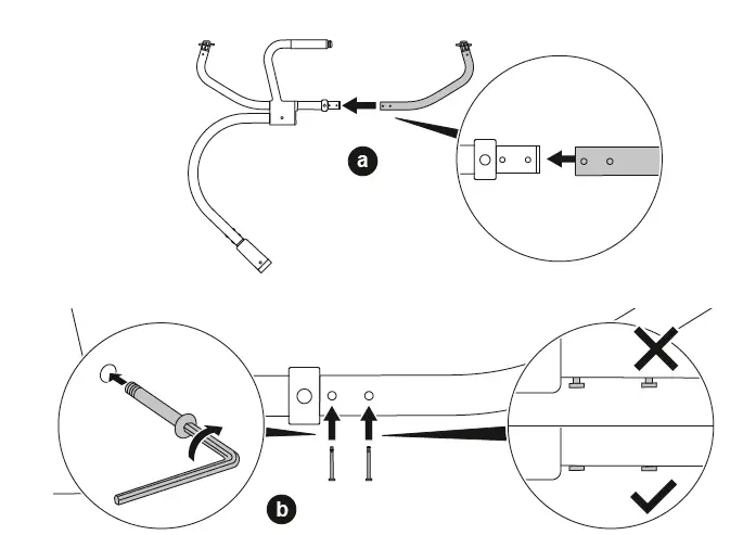
INSTALLATION INSTRUCTION


How To Use
How To Fix
CYBEX GmbH
Riedingerstr. 18 | 95448 Bayreuth | Germany
+49 (0) 921-78 511-0 | [email protected]
AMERICAS
Columbus Trading-Partners USA Inc.
1801 Commerce Dr. | Piqua, OH 45356 | USA
Customer Service 1-844-543-2020 | [email protected]
CANADA
Goodbaby Canada Inc.
2 Robert Speck Parkway, Suite 750 | Mississauga, ON L4Z 1H8 Customer Service / Service clients: 1-937-773-3971 [email protected]
www.cybex-online.com




































