
BHC010 Hair Dryer

User manual

Congratulations on your purchase, and welcome to Philips!
To fully benefit from the support that Philips offers, register your product at www.philips.com/welcome.
Important
Read this user manual carefully before you use the appliance and keep it for future reference.
- WARNING: Do not use this appliance near water.
- When the appliance is used in a bathroom, unplug it after use since the proximity of water presents a risk, even when the appliance is switched off.
WARNING: Do not use this appliance near bathtubs, showers, basins or other vessels containing water.- Always unplug the appliance after use.
- If the appliance overheats, it switches off automatically. Unplug the appliance and let it cool down for a few minutes. Before you switch the appliance on again, check the grilles to make sure they are not blocked by fluff, hair, etc.
- If the main cord is damaged, you must have it replacedby Philips, a service centre authorised by Philips or similarly qualified persons in order to avoid a hazard.
- This appliance can be used by children aged from 8 years and above and persons with reduced physical, sensory or mental capabilities or lack of experience and knowledge if they have been given supervision or instruction concerning use of the appliance in a safe way and understand the hazards involved. Children shall not play with the appliance. Cleaning and user maintenance shall not be made by children without supervision.
- For additional protection, we advise you to install a residual current device (RCD) in the electrical circuit that supplies the bathroom. This RCD must have a rated residual operating current not higher than 30mA. Ask your installer for advice.
- Do not insert metal objects into the air grilles to avoid electric shock.
- Never block the air grilles.
- Before you connect the appliance, ensure that the voltage indicated on the appliance corresponds to the local power voltage.
- Do not use the appliance for any other purpose than described in this manual.
- Do not use the appliance on artificial hair.
- When the appliance is connected to the power, never leave it unattended.
- Never use any accessories or parts from other manufacturers or that Philips does not specifically recommend. If you use such accessories or parts, your guarantee becomes invalid.
- Do not wind the main cord round the appliance.
- Wait until the appliance has cooled down before you store it.
- Do not pull on the power cord after using. Always unplug the appliance by holding the plug.
- Do not operate the appliance with wet hands.
- Always return the appliance to a service centre authorized by Philips for examination or repair. Repair by unqualified people could result in an extremely hazardous situation for the user.
Electromagnetic fields (EMF)
This Philips appliance complies with all applicable standards and regulations regarding exposure to electromagnetic fields.
Recycling
– Do not throw away the appliance with the normal household waste at the end of its life, but hand it in an official collection point for recycling. By doing this, you help to preserve the environment.
– Follow your country’s rules for the separate collection of electrical and electronic products. Correct disposal helps prevent negative consequences for the environment and human health.
Dry your hair
- Connect the plug to a power supply socket.
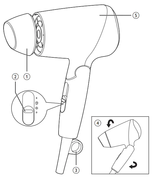
• For precise drying, attach the concentrator (1) onto the hairdryer (5).
• To disconnect the concentrator, pull it off the hairdryer. - Adjust the switch (2) to your preference.
Setting Temperature and speed Good for: 
Hot and strong airflow Fast drying 
Warm and gentle airflow Gentle drying 
Cool airflow Fixing your style - Switch to
to switch off the appliance.
After use:
- Switch off the appliance and unplug it.
- Place it on a heat-resistant surface until it cools down.
- Clean the appliance by damp cloth.
- Fold the appliance (4).
- Keep it in a safe and dry place, free of dust. You can also hang it with the hanging loop (3).
Guarantee and service
If you need information e.g. about replacement of an attachment or if you have a problem, please visit the Philips website at www.philips.com/support or contact the Philips
Customer Care Centre in your country (you find its phone number in the worldwide guarantee leaflet). If there is no Consumer Care Centre in your country, go to your local Philips dealer.

Specifications are subject to change without notice
© 2019 Koninklijke Philips N.V.
All rights reserved.
3000 043 56121
Register your product and get support at
www.philips.com/welcome![]()



















