User manual

Register your product and get support at www.philips.com/support
Important
Read and understand all instructions before you use your product. If damage is caused by failure to follow instructions, the warranty does not apply.
Safety
Risk of electric shock or fire!
- Before you make or change any connections, make sure that all devices are disconnected from the power outlet.
- Never expose the product and accessories to rain or water. Never place liquid containers, such as vases, near the product. If liquids are spilt on or into the product, disconnect it from the power outlet immediately. Contact Consumer Care to have the product checked before use.
- Never place the product and accessories near naked flames or other heat sources, including direct sunlight.
- Never insert objects into the ventilation slots or other openings on the product.
- Where the mains plug or an appliance coupler is used as the disconnect device, the disconnect device shall remain readily operable.
- Battery (battery pack or batteries installed) shall not be exposed to excessive heat such as sunshine, fire or the like.
- Disconnect the product from the power outlet before lightning storms.
- When you disconnect the power cord, always pull the plug, never the cable.
- Use the product in tropical and/or moderate climates.
Risk of short circuit or fire!
- For identification and supply ratings, see the type plate at the back or bottom of the product.
- Before you connect the product to the power outlet, ensure that the power voltage matches the value printed on the back or bottom of the product. Never connect the product to the power outlet if the voltage is different.
Risk of injury or damage to this product!
- For wall mounting, this product must be securely attached to the wall in accordance with the installation instructions. Use only the supplied wall mount bracket (if available). Improper wall mounting may result in accident, injury or damage. If you have any query, contact Consumer Care in your country.
- Never place the product or any objects on power cords or on other electrical equipment.
- If the product is transported in temperatures below 5°C, unpack the product and wait until its temperature matches room temperature before connecting it to the power outlet.
- Parts of this product can be made of glass. Handle with care to avoid injury and damage.
Risk of overheating!
- Never install this product in a confined space.Always leave a space of at least four inches around the product for ventilation. Ensure curtains or other objects never cover the ventilation slots on the product.
Risk of contamination!
- Do not mix batteries (old and new or carbon and alkaine, etc.).
- CAUTION: Danger of explosion if batteries are incorrectly replaced. Replace only with the same or equivalent type.
- Remove batteries if they are exhausted or if the remote control is not to be used for a long time.
- Batteries contain chemical substances, they should be disposed of properly.
Risk of swallowing batteries!
- The product/remote control may contain a coin/button-type battery, which can be swallowed. Keep the battery out of reach of children at all times! If swallowed, the battery can cause serious injury or death. Severe internal burns can occur within two hours of ingestion.
- If you suspect that a battery has been swallowed or placed inside any part of the body, seek immediate medical attention.
- When you change the batteries, always keep all new and used batteries out of reach of children. Ensure that the battery compartment is completely secure after you replace the battery.
- If the battery compartment cannot be completely secured, discontinue use of the product. Keep out of reach of children and contact the manufacturer.
![]()
This is CLASS II apparatus with double insulation, and no protective earth provided.![]()
AC voltage
![]()
Use only the power supplies listed in the user manual.
Care for your product
Use only microfiber cloth to clean the product.
Care of the environment
Disposal of your old product and battery
![]()
Your product is designed and manufactured with high quality materials and components, which can be recycled and reused.
![]()
This symbol on a product means that the product is covered by European Directive 2012/19/EU.
![]()
This symbol means that the product contains batteries covered by European Directive 2013/56/EU which cannot be disposed of with normal household waste. Inform yourself about the local separate collection system for electrical and electronic products and batteries. Follow local rules and never dispose of the product and batteries with normal household waste. Correct disposal of old products and batteries helps prevent negative consequences for the environment and human health.
Removing the disposable batteries
To remove the disposable batteries, see battery installation section.
For 5G WiFi Device
The device for operation in the band 51505350 MHz is only for indoor use to reduce the potential for harmful interference to co-channel mobile satellite systems.
Compliance
This product complies with the radio interference requirements of the European Community. Hereby, TPVision Europe B.V. declares that this product is in compliance with the essential requirements and other relevant provisions of Directive 2014/53/EU. You can find the Declaration of Conformity on www.p4c.philips.com.
Help and support
For extensive online support, visit www.philips.com/support to:
- download the user manual and the quick start guide
- watch video tutorials (available only for selected models)
- find answers to frequently answered questions (FAQs)
- email us a question
- chat with our support representative.
Follow the instructions on the website to select your language, and then enter your product model number. Alternatively, you can contact Consumer Care in your country. Before you contact, note down the model number and serial number of your product.You can find this information on the back or bottom of your product.
Caution FCC and IC statement for Users (USA and Canada only)
FCC INFORMATION
NOTE: This equipment has been tested and found to comply with the limits for a Class B digital device, pursuant to Part 15 of the FCC Rules. These limits are designed to provide reasonable protection against harmful interference in a residential installation. This equipment generates, uses, and can radiate radio frequency energy and, if not installed and used in accordance with the instructions, may cause harmful interference to radio communications.
However, there is no guarantee that interference will not occur in a particular installation. If this equipment does cause harmful interference to radio or television reception, which can be determined by turning the equipment off and on, the user is encouraged to try to correct the interference by one or more of the following measures:
- Reorient or relocate the receiving antenna.
- Increase the separation between the equipment and receiver.
- Connect the equipment into an outlet on a circuit different from that to which the receiver is connected.
- Consult the dealer or an experienced radio / TV technician for help.
IC-Canada: CAN IECES-3(B)/NMB-3(B)
This device contains license-exempt transmitter(s)/receiver(s) that comply with Innovation, Science and Economic Development Canada’s licence-exempt RSS(s). Operation is subject to the following two conditions:
- This device may not cause interference.
- This device must accept any interference,
including interference that may cause undesired operation of the device.
FCC&IC Warning:
- This equipment should be installed and operated with minimum distance 20cm between the radiator & your body.
- Changes or modifications to this unit not expressly approved by the party responsible for compliance could void the user’s authority to operate the equipment. “
Your Soundbar
Congratulations on your purchase, and welcome to Philips! To fully benefit from the support that Philips offers, register your Soundbar at www.philips.com/support.
What’s in the Box
Check and identify the items in the package:
| Soundbar | x 1 |
| Wireless Subwoofer | x 1 |
| Remote Control | x 1 |
| Power Cord * | x 4 |
| Wall Mount kit (Wall Brackets x2, Screws x2, Dowels x2) | x 1 |
| Quick Start Guide / Warranty Card / Safety Sheet / Wall Mount Template | x 1 |

* Power cord quantity and plug type vary by region.
- Images, illustrations and drawings shown on this User Manual are for reference only, actual product may vary in appearance.
Main unit
This section includes an overview of the main unit.
- – (Volume) button
Decrease the volume. - + (Volume) button
Increase the volume.
(Play/Pause) button
Start, pause or resume play.
(Source)/Bluetooth pairing button
• Select an input source for the Soundbar.
• Press and hold to activate the pairing function in Bluetooth mode or disconnect the existing paired Bluetooth device.
(Standby-On) buttonPower State Action Function On • Follow source state Semi Standby Press the
button once• Wi-Fi is still on.
• It still supports Play-Fi and Airplay2.Eco Standby Press and hold
button 5 seconds• Wi-Fi is off.
• The product enters the lower power consumption mode.
• Restarting the system will take a relatively longer time.- Display panel
- Remote Control Sensor
- Power LED
- Wi-Fi LED indicator (Yellow)
LED State Status Blink Wi-Fi Access Point (AP) mode Double blink Wi-Fi Protected Setup (WPS) mode Constant on Connected / Pairing successful
Connectors
This section includes an overview of the connectors available on your Soundbar.
USB
• Audio input from a USB storage device.
• Upgrade software of this product.- AUX
Audio input from, for example, an MP3 player (3.5mm jack). - OPTICAL
Connect to an optical audio output on the TV or a digital device.
(Wi-Fi Setup) button
• TriggerWi-Fi setup for Play-Fi.
• Press and hold the button for 3 seconds to active theWps mode.
• Press and hold the button for 8 seconds to active the AP mode.- HDMI OUT (eARC/ARC)
Connect to the HDMI input on the TV. - HDMI 1/ HDMI 2
Connect to the HDMI input on the TV. - AC~ Socket
Connect to the power supply. - Wall bracket slot
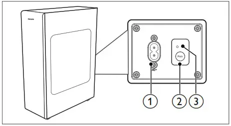
Wireless subwoofer
This section includes an overview of the Wireless subwoofer.
- AC~ Socket
Connect to the power supply. - Pair button
Press and hold to enter the pairing mode for the subwoofer. - Subwoofer indicator
Determine the status based on the wireless subwoofer indicator.LED State Status Fast blink Subwoofer in pairing mode Constant on Connected / Pairing successful Slow blink Connection / Pairing Failed
Remote control
This section includes an overview of the remote control.
- (Standby-On)
Power State Action Function On • Follow source state Semi Standby Press the
button once• Wi-Fi is still on.
• It still supports Play-Fi and Airplay2.Eco Standby Press and hold
button 5 seconds• Wi-Fi is off.
• The product enters the lower power consumption mode.
• Restarting the system will take a relatively longer time.
(Source)
• Select an input source for the Soundbar.
• Press and hold to activate the pairing function in Bluetooth mode or disconnect the existing paired Bluetooth device.
(Dolby)
Turn the Dolby ON/OFF.
(Mute)
Mute or restore volume.
(Play/Pause)
• Start, pause or resume play in USB / BT / PLAY-Fi mode.
• Confirm a selection.
(Cursors)
(Previous/Next)
• Skip to the previous or next track in USB / BT / PLAY-Fi mode.
• Navigate Left/Right in menu structure.
• Navigate Down/Up in menu structure.
(MENU)
Enter setup menu.
(Back)
• Return to previous menu. Exit menu.
• Press and hold the button for 10 seconds to reset the Wi-Fi module of soundbar to factory settings.
(Soundbar’s Volume)
Increase /decrease the soundbar’s volume.
(Subwoofer’s Volume)
Increase /decrease the subwoofer’s volume.
Prepare the Remote Control
- The provided Remote Control allows the unit to be operated from a distance.
- Even if the Remote Control is operated within the effective range 19.7 feet (6m), remote control operation may be impossible if there are any obstacles between the unit and the remote control.
- If the Remote Control is operated near other products which generate infrared rays, or if other remote control devices using infra-red rays are used near the unit, it may operate incorrectly. Conversely, the other products may operate incorrectly.
First-time use:
The unit has a preinstalled lithium CR2025 battery. Remove the protective tab to activate the remote control battery.
Replace the Remote Control Battery
The remote control requires a CR2025, 3V Lithium battery.
- Use tools (such as coin batteries/coins) to catch the groove of the battery box cover and turn counter-clockwise to
(unlock). - Remove the old battery, which is located in the lid, place the new CR2025 battery and pay attention to the correct polarity (+/-).
- Use the tools to catch the groove of the battery compartment cover and turn clockwise to
(lock), secure it into the remote control.
Precautions Concerning Batteries
- When the Remote Control is not to be used for a long time (more than a month), remove the battery from the Remote Control to prevent it from leaking.
- If the batteries leak, wipe away the leakage inside the battery compartment and replace the batteries with new ones.
- Do not use any batteries other than those specified.
- Do not heat or disassemble batteries.
- Never throw them in fire or water.
- Do not carry or store batteries with other metallic objects. Doing so could cause batteries to short circuit, leak or explode.
- Never recharge a battery unless it is confirmed to be a rechargeable type.
Placement
Place the subwoofer at least 1 meter (3 feet) away from your Soundbar, and ten centimeters away from the wall. For best results, place your subwoofer as shown below.
Wall mount
Note
- Improper wall mounting may result in accident, injury or damage. If you have any query, contact Consumer Care in your country.
- Before wall mounting, make sure the wall can support the weight of your Soundbar.
- Before wall mount, you need not remove the rubber feet at the bottom of the Soundbar, otherwise the rubber feet cannot be fixed back.
- Depending on the type of wall mounting your Soundbar, make sure that you use screws of a suitable length and diameter.
- Please check whether the USB port on the back of the Soundbar is connected to a USB device. If it is found that the connected USB device affects the wall-mount, you need to use another USB device of the appropriate size.
Screw length/diameter
Suggested wall mounting height
You are recommended to install the TV first before wall mounting the soundbar.With a TV preinstalled, wall mount the soundbar 50mm/2.0” in distance from the bottom of the TV.
- Drill 2 parallel holes (Ø 3-8mm each according to wall type) on the wall.
The distance between the holes are:
• 856mm / 33.7″ (TAB8405 / TAB8505)
• 1017mm / 40″ (TAB8805)
• 1076mm / 42″ (TAB8905)
You can use the wall mount template provided for helping the drilling holes position on the wall
Secure the dowels and screws in the holes. - Remove the screws (x4) from the main unit.
Attach the wall brackets (x2) to the main unit with the screws removed from the main unit. - Hang the Soundbar on the fastening screws.

Connect
This section helps you connect your Soundbar to a TV and other devices, and then set it up. For information about the basic connections of your Soundbar and accessories, see the quick start guide.
Note
- For identification and supply ratings, see the type plate at the back or bottom of the product.
- Before you make or change any connections, make sure that all devices are disconnected from the power outlet.
Dolby Atmos®
Dolby Atmos gives you Immersive listening experience by delivering sound in three dimensional space, and all the richness, clarity, and power of Dolby sound. For more information, please visit dolby.com/technologies/dolby-atmos
For using Dolby Atmos®
Dolby Atmos® is available only in HDMI ARC/ eARC mode. For the details of the connection, please refer to “HDMI Connection”.
- To use Dolby Atmos® in HDMI 1 /HDMI 2 / HDMI ARC mode, your TV has to support Dolby Atmos®.
- Make sure that “No Encoding” is selected for bitstream in the digital audio output of the connected external device (e.g. Blu-ray DVD player,TV etc.).
- While entering Dolby Atmos / Dolby Digital / PCM format, the soundbar will show DOLBY ATMOS / DOLBY AUDIO / PCM AUDIO / DOLBY SURROUND.
Note
- The full Dolby Atmos experience is only available when the Soundbar is connected to the source via a HDMI 2.0 cable.
- The Soundbar will still function when connected via other methods (such as a Digital Optical cable) but these are unable to support all of the Dolby features. Given this, our recommendation is to connect via HDMI, in order to ensure full Dolby support.
Connect to HDMI Socket
Some 4K HDR TVs require the HDMI input or picture settings to be set for HDR content reception. For further setup details on HDR display, please refer to the instruction manual of your TV.
Option 1: eARC/ARC (Audio Return Channel)
Your Soundbar supports HDMI with Audio Return Channel (eARC/ARC). If your TV is HDMI ARC compliant, you can hear the TV audio through your Soundbar by using a single HDMI cable.
- On your TV, turn on HDMI-CEC operations. For details, see the TV user manual.
• The HDMI ARC connector on the TV might be labeled differently. For details, see the TV user manual. - Using a High Speed HDMI cable, connect the HDMI OUT (eARC/ARC)-TO TV connector on your Soundbar to the HDMI ARC connector on the TV.
Note
- Your TV must support the HDMI-CEC and ARC function. HDMI-CEC and ARC must be set to On.
- The setting method of HDMI-CEC and ARC may differ depending on the TV. For details about ARC function, please refer to your TV owner’s manual.
- Make sure to use the HDMI cables can support the ARC function.
Option 2: Standard HDMI
If your TV is not HDMI ARC-compliant, connect your soundbar to the TV through a standard HDMI connection.
- Use an HDMI cable to connect the soundbar’s HDMI IN (1 or 2) socket to your external devices (e.g. games consoles, DVD players and blu ray).
- Use an HDMI cable to connect the soundbar’s HDMI OUT (eARC/ARC) socket to the TV’s HDMI IN socket.
Connect to Optical Socket

- Using an optical cable, connect the OPTICAL connector on your Soundbar to the OPTICAL OUT connector on the TV or other device.
• The digital optical connector might be labeled SPDIF or SPDIF OUT.
Connect to AUX Socket
a. Use a 3.5mm to 3.5mm audio cable
• Use a 3.5mm to 3.5mm audio cable (not included) to connect the TV’s headphone socket to the AUX socket on the unit.
b. Use a RCA to 3.5mm audio cable
• Use a RCA to 3.5mm audio cable (not included) to connect the TV’s audio output sockets to the AUX socket on the unit.
Connect to Power
- Before connecting the AC power cord, ensure you have completed all other connections.
- Risk of product damage! Ensure that the power supply voltage corresponds to the voltage printed on the back or the underside of the unit.
- Connect the mains cable to the AC~Socket of the unit and then into a mains socket
- Connect the mains cable to the AC~Socket of the subwoofer and then into a mains socket.
* Power cord quantity and plug type vary by regions.
Pair up with the subwoofer
Automatic Pairing Plug the Soundbar and the subwoofer into the mains sockets and then press on the unit or remote control to switch the unit to ON mode. The subwoofer and Soundbar will automatically pair.
Determine the status based on the wireless subwoofer indicator.
| LED State | Status |
| Fast blink | Subwoofer in pairing mode |
| Constant on | Connected / Pairing successful |
| Slow blink | Connection / Pairing Failed |
Tips
- Do not press Pair button on the rear of the subwoofer, except for manual pairing.
Manual Pairing
If no audio from the wireless subwoofer can be heard, manually pair up the subwoofer.
- Unplug both units from the mains sockets again, then plug them in again after 3 minutes.
- Press and hold the Pair button on the rear of the subwoofer for 5 seconds.
The Pair indicator on the subwoofer will rapidly blink. - Press and hold
for 5 seconds on the unit or remote control to switch the unit to ECO STANDBY mode - Then press
on the unit or remote control to switch the unit ON.
The Pair indicator on the subwoofer will become solid when successful. - If the Pair indicator still keeps blinking, repeat step 1-3.
Tips
- The subwoofer should be within 6 m of the Soundbar in an open area (the closer the better).
- Remove any objects between the subwoofer and the Soundbar.
- If the wireless connection fails again, check if there is a conflict or strong interference (e. g. interference from an electronic device) around the location. Remove these conflicts or strong interferences and repeat the above procedures.
Connect to Wi-Fi (Wireless Operation)
(For iOS and Android version)
By connecting this unit and mobile phones, tablets (such as iPad, iPhone, iPod touch, Android phones, etc.) to the same Wi-Fi network, you can then use the Philips Sound app powered by DTS Play-Fi to control the soundbar to listen to audio files.
- Connect your phone or tablet to the same Wi-Fi network that you want to connect your soundbar
- Download and install the Philips Sound app powered by DTS Play-Fi on a phone or tablet.
https://apps.tpvava.com/philipssound
• Make sure your router is turned on and working properly. - Press and hold
(Wi-Fi) button located at the back cabinet for 8 sec to trigger the Wi-Fi connection.
Until the speaker make a second tone and then release the button. - Wait until the Wi-Fi light indicator on front cabinet goes from a fast blink to a slow pulse. When it begins slow pulsing indicating that the speaker is entering the Wi-Fi setup mode.
- Launch the Philips Sound App powered by DTS Play-Fi. Follow the instructions in the App to connect this product to your Wi-Fi network.
Note
For iOS version only
Wi-Fi network used by iPhone should be switched temporarily to Play-Fi device AP and restart Philips Sound APP to complete the product’s Wi-Fi setup. See the steps below:
- After successful Wi-Fi connection, the Wi-Fi light indicatar on the front cabinet will stop pulsing and turn solid. Once you set up this product on your Wi-Fi network, you can control it from any smartphone or tablet on the same network.
When using the APP to play music, the display panel will show PLAY-FI. - After connection, you can change the device name. There are several names to choose from or create your own by choosing Custom Name at the end of the name list. Otherwise, it follows the default name.
- After connection, this product may perform a software update. Upgrade to the latest software when it is your first time set up. The software upgrade may take several minutes. Do not unplug your speaker, turn off your device, or leave the network during the update.
AirPlay setup
Use AirPlay to set up the Wi-Fi connection of iOS device (iOS7 or later) and soundbar.
- iOS device: Settings > Wi-Fi > select home network [Play-Fi device (xxxxxx)]
- Launch the Philips Sound App powered by DTS Play-Fi. Follow the instructions in the App to connect this product to your Wi-Fi network.
After successful Wi-Fi connection, the Wi-Fi light indicatar on the front cabinet will stop pulsing and turn solid. Once you set up this product on your Wi-Fi network, you can control it from any smartphone or tablet on the same network.
When using the APP to play music, the display panel will show PLAY-FI. - After connection, you can change the device name. There are several names to choose from or create your own by choosing Custom Name at the end of the name list. Otherwise, it follows the default name.
- After connection, this product may perform a software update. Upgrade to the latest software when it is your first time set up. The software upgrade may take several minutes. Do not unplug your speaker, turn off your device, or leave the network during the update.
Note
- After connection, the product may perform a software update. Upgrade is required after initial set up. Without the upgrade, not all product features can be available.
- When the first time set up is not successful, hold down the Wi-Fi button on soundbar for 8 seconds until the second tone can be heard and the Wi-Fi light is changed to slow pulse. Reset the Wi-Fi connection, restart the app and start the set up again.
- If you want to change from one network to another, you need to set up the connection again. Press hold down the
(Wi-Fi) button on the soundbar for 8 seconds to reset the Wi-Fi connection.
WPS mode
If your router has Wi-Fi Protected Setup (WPS), you can set up the connection without entering a password.
- Press and hold the Wi-Fi button for 4 seconds. You will hear a tone and the WiFi light will begin in double blink.
- Press the WPS button on your router. The button is normally marked with this WPS logo.

- Follow the instruction in Philips Sound App powered by DTS Play-Fi to start the pairing.
Note
- WPS is not a standard feature on all routers. If your router does not have WPS then use Standard Wi-Fi Setup.
- Press the
(Wi-Fi) button once if you want to exit the WPS mode or it will automatically exit after 2 minutes.
Use your Soundbar
This section helps you use the Soundbar to play audio from connected devices.
Before you start
- Make the necessary connections described in the quick start guide and the user manual.
- Switch the Soundbar to the correct source for other devices.
Turn ON and OFF
- When you first connect the unit to the main socket, the unit will be in STANDBY mode. The STANDBY indicator will light up white.
Power State Action Function On • Follow source state Semi Standby Press the
button once• Wi-Fi is still on.
• It still supports Play-Fi and Airplay2.Eco Standby Press and hold
button 5 seconds• Wi-Fi is off.
• The product enters the lower power consumption mode.
• Restarting the system will take a relatively longer time.
Auto Standby
The unit automatically turns to Standby mode after about 15 minutes if the TV or the external unit is disconnected (or USB, BT, Play-Fi function bit playback pause), switched off.
- To switch the unit off completely, remove the mains plug from the mains socket.
- Please turn the unit off completely to save energy when not in use.
Select Modes
- Press the
button repeatedly on the unit or on the remote control to select the AUX, OPTICAL, HDMI eARC/ARC, HDMI 1, HDMI 2, BT, USB mode.
The selected mode will show on the display.
Play-Fi is not an optional source. Play-Fi needs to be directly controlled by APP.
Adjust the Volume
Adjust the Soundbar’s Volume
- Press
(Volume) to increase or decrease a volume level.
• To mute sound, press Mute.
• To restore the sound, press Mute again or press Vol+/Vol- (Volume).
Adjust the Subwoofer’s Volume
- Press
(subwoofer) to increase or decrease the subwoofer’s volume level.
Dolby sound mode
Experience an immersive audio experience with Dolby sound modes.
- Press
button on the remote control to turn Dolby mode on or off.
• On: Create a Dolby listening experience.
• Off:Two-channel stereo sound. Ideal for listening to music.
Factory Reset
Reset device to default setting
- In standby mode, press the [
buttons on the remote control them in sequence, the display shows “RESET” to reset the factory default settings of the host. - Set is ON, press and hold the
button until the display shows “RESET” to reset the Wi-Fi module to the factory default settings.
The unit allows you to configure advanced settings to provide you with an even better experience.
- Press the
(MENU) button on the remote control to open the menu. - Select the content with
(Down / Up) on the remote controller.Display 
Description 
Select Equalizer (EQ) Effect 
Adjust the Bass Level 
Adjust the Treble Level 
Set the Audio Delay 
Adjust the Center Channel Volume (TAB8805, TAB8905 only) 
Adjust the Top Channel Volume (TAB8905 only) 
Set display brightness 
Auto turn off display 
Turn On/off the key tone - Press
(Enter) to confirm your selection. - Change the initial values for each of the settings with the cursors
(Left / Right) - Press
(Enter) to confirm your selection.
- To return to the previous screen/ exit the settings, press
(Back). - If no button is pressed within 5 seconds, the system will automatically exit the menu
EQ
Select predefined sound modes to suit your video and music: MOVIE, MUSIC, VOICE, STADIUM, CUSTOM.
- MOVIE: Create a surround listening experience. Ideal for watching movies.
- MUSIC: Create two-channel or multichannel stereo sound. Ideal for listening to music.
- VOICE: Create sound effect which makes human voice more clear and outstanding for listening.
- STADIUM: Create an atmosphere as if watching a sports game in a stadium.
- CUSTOM: Customize the sound based on your preferences. Need to be set via the Fine Tune App.
By default, the EQ is set to MOVIE.
BASS/TREBLE
Adjust the Bass/Treble Level.
BAS -5 ~ BAS +5
TRB -5 ~ TRB +5
By default, the Bass/Treble is set to 0.
AV SYNC
Set the Audio Delay.
- Video image processing, sometimes longer than the time required to process the audio signal. This is called “delayed.” Audio Delay feature is designed to remedy this delay.
- Set the audio delay, provided only for the current playback mode. (As provided in the HDMI ARC audio delay mode, the delay mode is valid only for the HDMI ARC).
AV00 ~ AV200
By default, the audio delay is set to 00.
CENT (CENTER)
(TAB8805,TAB8905 only) Adjust the Center Channel Volume
CTR -5 ~ CTR +5
By default, the center channel volume is set to 0.
TOP (TAB8905 only)
Adjust the Top Channel Volume
TOP +5 ~ TOP 5
By default, the top channel sound is set to 0.
DIM
Set display brightness.
DIM 03, DIM 02, DIM 01
By default, the dimmer is set to DIM 03.
DISPLAY
Set to turn off the display automatically (except the Wi-Fi LED indicator) after 3 seconds of idle when no user operation.
ON: Set to display on
OFF: Set to display off
By default, the display is set to ON.
KEY TONE
Turn On/off the key tone
ON: Set to ON
OFF: Set to OFF
By default, the key tone is set to off.
Bluetooth Operation
Through Bluetooth, connect the Soundbar with your Bluetooth device (such as an iPad, iPhone, iPod touch, Android phone, or laptop), and then you can listen to the audio files stored on the device through your Soundbar speakers.
- Press the
button repeatedly on the unit or on the remote control to switch the Soundbar to Bluetooth mode.
NO BT is displayed on the display panel. - On the Bluetooth device, switch on Bluetooth, search for and select Philips TAB8405 to start connection (see the user manual of the Bluetooth device on how to enable Bluetooth).
- Wait until you hear the voice prompt from the Soundbar.
If the successfully connected, BT is displayed on the display panel. - Select and play audio files or music on your Bluetooth device.
• During play, if a call is coming, music play is paused. Play resumes when the call ends.
• If your Bluetooth device supports AVRCP profile, on the remote control you can press
to skip to a track, or press to
ause/resume play. - To exit Bluetooth, select other source.
• When your switch back to Bluetooth mode, Bluetooth connection remains active.
• If you want to connect your Soundbar with another Bluetooth device, press and hold
on the remote control to disconnect the currently connected Bluetooth device.
Note
- A Bluetooth device which supports Bluetooth profile A2DP, AVRCP and with Bluetooth version as 4.2 + EDR.
- The maximum operational range between the Soundbar and a Bluetooth device is approximately 10 meters (30 feet).
- Compatibility with all Bluetooth devices is not guaranteed.
- The music streaming may be interrupted by obstacles between the device and Soundbar, such as wall, metallic casing that covers the device, or other devices nearby that operate in the same frequency.
AUX / OPTICAL / HDMI ARC Operation
Ensure that the unit is connected to the TV or audio device.
- Press the
button repeatedly on the unit or on the remote control to select the AUX, OPTICAL, HDMI eARC/ARC, HDMI 1, HDMI 2 mode. - Operate your audio device directly for playback features.
- Press the VOL +/- buttons to adjust the volume to your desired level.
Tip
- While in OPTICAL/HDMI ARC mode, if there’s no sound output from the unit and the status Indicator flashes, you may need to activate PCM or Dolby Digital Signal output on your source device (e.g.TV, DVD or Blu-ray player).
- The unit may not be able to decode all digital audio formats from the input source. In this case, the unit will mute. This is NOT a defect. Ensure that the audio setting of the input source (e.g.TV, game console, DVD player, etc.) is set to PCM or Dolby Digital (Refer to the user manual of the input source device for its audio setting details) with HDMI 1 / HDMI 2 / HDMI ARC / optical input.
- In HDMI mode, when the DOLBY ATMOS audio format is entered, the Soundbar display shows DOLBY ATMOS.
- When the DOLBY DIGITAL audio format is entered, if surround sound is turned on, the whispering wall display will display DOLBY SURROUND, if surround sound is turned off, it will display DOLBY AUDIO.
- When the PCM audio format is entered, the Soundbar display shows PCM AUDIO.
- When entering non-PCM or DOLBY DIGITAL audio formats, if there’s no sound output from the unit and the display show ERROR.
USB Operation
Enjoy audio on a USB storage device, such as an MP3 player and USB flash memory, etc.
- Insert the USB device.

- Press the
button repeatedly on the unit or on the remote control to select the USB mode. - During playback:
Button Action 
Start, pause or resume play. 
Skip to the previous or next track.
Tips
- This product may not be compatible with certain types of USB storage devices.
- If you use a USB extension cable, USB hub, or USB Multifunctional card reader, the USB storage device may not be recognized.
- Do not remove the USB storage device while reading files.
- The unit can support USB devices with up to 32 GB of memory.
- This unit can play MP3 / WAV / FLAC.
- Support a USB port: 5V 500mA.
Listen to Spotify
Use your phone, tablet or computer as a remote control for Spotify. Go to spotify.com/connect to learn how.
Upgrade Firmware
To get the best features and support, update your product with the latest firmware version.
Option 1:
Update firmware via Philips Sound App (Settings > PS Fine Tune)
The firmware for MCU and DSP can be upgraded to the latest version via Philips Sound App powered DTS Play-Fi. Please go to settings menu and select PS Fine Tune option to check it out. If the upgrade is released, the upgraded icon can be pressed to proceed automatically. Once this product is connected to Wi-Fi, it can receive over-the-air firmware update. Always upgrade with the latest firmware version to improve the performance of this product.
Option 2:
Update firmware via USB
- Check if there is the latest firmware version on www.philips.com/support. Search for your model and click on “Software and drivers”.
- Download the firmware into a USB flash drive.
- Follow the instruction for the firmware upgrade.
Product specifications
Note
- Specifications and design are subject to change without notice.
Bluetooth / Wireless
- Bluetooth Profiles:A2DP, AVRCP
- Bluetooth Version: 4.2 + EDR
- Frequency Band/Output Power: 2400 MHz ~ 2483.5 MHz / 5dBm
- 2.4G Wireless Frequency Range / Output Power: 2400 MHz~2483 MHz/ 6dBm
Network supported
- WiFi IEEE 802.11a/b/g/n/ac Wireless Frequency Band (Wi-Fi) / Radio Frequency Power Transmitted 2.4G Wi-Fi: 2400 MHz~2483.5 MHz / 20dBm 5.1G Wi-Fi: 5150 MHz~5350 MHz / 20dBm 5.8G Wi-Fi: 5725 MHz~5850 MHz / 14dBm
Main unit
- Power Supply: 100-240V~ 50/60Hz · Output Power : 120 W
- Power Consumption: 25 W
- Standby Consumption: < 0.5 W
- USB: 5V 500mA
- Frequency Response: 150Hz – 20KHz
- Audio Input Sensitivity: 500mV
- Speakers Impedance: 8 x 2
- Dimension (W x H x D ): 900 x 57 x 110 mm
- Weight: 2.4 kg
- Operating Temperature: 0°C – 45°C
Subwoofer
- Power Supply: 100-240 V~, 50-60 Hz
- Output Power: 60 W
- Power Consumption: 20 W
- Standby Power Consumption: < 0.5 W
- Frequency Response: 35Hz – 150Hz
- Impedance: 4
- Dimensions (W x H x D): 120 x 403 x 300 mm
- Weight: 4.8 kg
- Operating Temperature: 0°C – 45°C
Remote control
- Distance/Angle: 6m/30°
- Battery Type: CR2025
Supported audio formats
- HDMI eARC/ARC Dolby Digital, Dolby Digital plus, Dolby True HD, Dolby Atmos®, LPCM 2ch/Mch , Dolby MAT.
- HDMI IN1/ HDMI IN2 Dolby Digital, Dolby Digital Plus, Dolby True HD, Dolby Atmos®, LPCM 2ch/Mch , Dolby MAT.
- OPTICAL Dolby Digital, Dolby Digital plus, LPCM 2ch
- BLUETOOTH SBC
- USB MP3 / WAV / FLAC
- Video Video Enhancement: 4K Video Pass-through, Dolby Vision, HDR10, HDR10+,
Troubleshooting
Warning
- Risk of electric shock. Never remove the casing of the product.
To keep the warranty valid, never try to repair the product yourself. If you have problems using this product, check the following points before you request service. If you still have a problem, get support at www.philips.com/support.
Main unit
The buttons on the main unit do not work.
- Disconnect form the power supply for a few minutes, then connect again.
No power
- Ensure that the AC cord is properly connected.
- Ensure that there is power at the AC outlet.
- Press standby button on the remote control or Soundbar to turn the Soundbar on.
Sound
No sound from the soundbar speaker.
- Connect the audio cable from your soundbar to your TV or other devices. However, you do not need a separate audio connection when:
– the soundbar and TV are connected through HDMl ARC connection, or
– a device is connected to the HDMI IN connector on your soundbar. - On the remote control, select the correct audio input.
- Make sure that the soundbar is not muted.
- Reset this product to its factory settings (see `Apply factory settings).
No sound from the wireless subwoofer.
- Manually connect the subwoofer to the main unit.
- Increase the volume. Press Volume Up on the remote control or on the Soundbar.
- When using either of the Digital input, if there is no audio:
– Try setting the TV output to PCM or
– Connect directly to your Blu-ray/other source, some TVs do not pass through digital audio. - Your TV may be set to variable audio output. Confirm that the audio output setting is set to FIXED or STANDARD, not VARIABLE. Consult your TV’s user manual for more detailed information.
- If using Bluetooth, ensure that the volume on your source device is turned up and that the device is not muted.
- When the playback freezes and there is no sound in Wi-Fi mode, please check whether your home network is normal.
Distorted sound or echo.
- If you play audio fromTV through this product, make sure that theTV is muted.
Audio and video are not synchronized.
Press to synchronize the audio with the video.
Bluetooth
A device cannot connect with the soundbar.
- The device does not support the compatible profiles required for the soundbar.
- You have not enabled the Bluetooth function of the device. See the user manual of the device on how to enable the function.
- The device is not correctly connected. Connect the device correctly.
- The soundbar is already connected with another Bluetooth device. Disconnect the connected device, then try again.
Quality of audio play from a connected Bluetooth device is poor.
- The Bluetooth reception is poor. Move the device closer to the soundbar, or remove any obstacle between the device and the soundbar.
I can’t find the Bluetooth name of this unit on my Bluetooth device
- Ensure the Bluetooth function is activated on your Bluetooth device.
- Re-pair the unit with your Bluetooth device.
Wi-Fi
Wi-Fi Connection cannot be established.
- Check the availability of WLAN network on the router.
- Place the Wi-Fi router closer to the unit.
- Make sure the password is correct.
- Check the WLAN function or reboot the modem and Wi-Fi router.
Dolby Atmos
Cannot achieve outstanding Dolby Atmos effects.
- For non-HDMI connections (such as use of USB, Bluetooth, OPTICAL or AUDIO IN), limited height surround effects are generated. See the section of `Dolby Atmos’ about how to achieve best Dolby Atmos effects.
Play-Fi
Cannot discover the Play-Fi supported devices from the app.
- Make sure the device is connected to the Wi-Fi.
Cannot play Play-Fi music.
- Certain network service or contents available through the device may not be accessible in case the service provider terminates its service.
- When the first time set up is not successful, close the Philips Sound app powered by DTS Play-Fi. Restart the app.
- When the speaker was set as Stereo Pairs or Surround Sound, the speaker need to be disconnected in the App before use separately.
Remote control does not work
- Before you press any playback control button, first select the correct source.
- Reduce the distance between the remote control and the unit.
- Insert the battery with its polarities (+/-) aligned as indicated.
- Replace the battery.
- Aim the remote control directly at the sensor on the front of the unit.
This is a 15 mins power off function, one of the ERPII standard requirement for saving power
- When the unit’s external input signal level is too low, the unit will be turned off automatically in 15 minutes. Please increase the volume level of your external device.
The subwoofer is idle or the indicator of subwoofer do not light up
- Please unplug power cord from the mains sockect, and plug it in again after 3 minutes to reset the subwoofer.
Trademarks:

For DTS patents, see http://patents.dts.com. Manufactured unde license from DTS, Ins. (for companies headquartered in the U.S./Japan/ Taiwan) or under license from DTS Licensing Limited (for all other companies). DTS, PlayFi, and the DTS Play-Fi logo are registered trademarks or trademarks of DTS, Inc. in the United States and other countries. ©2020 DTS, Inc.ALL RIGHTS RESERVED.

The Wi-Fi CERTIFIEDTM Logo is a registered trademark of Wi-Fi Alliance®.

Chromecast built-in
Google, Google Play and Chromecast built-in are trademark of Google LLC. Google Assistant is not available in certain languages and countries.

To control this AirPlay 2 -endabled speaker, iOS 11. 4 or later is required. Use of the Works with Apple badge means that an accessory has been designed to work specifically with thetechnology identified in the badge and has been certified by trademarks of Apply Inc. , registered in the U. S. and other countries.
Apple® and AirPlay® are trademarks of Apple Inc., registered in the U.S. and other countries.

The Spotify Software is subject to third party licenses found here: www.spotify.com/connect/third-party-licenses
The terms HDMI, HDMI High-Definition Multimedia Interface, and the HDMI Logo are trademarks or registered trademarks of HDMI Licensing Administrator, Inc.
COMPATIBLE WITH

Dolby, Dolby Vision, Dolby Atmos, and the double-D symbol are registered trademarks of Dolby Laboratories Licensing Corporation. Manufactured under license from Dolby Laboratories. Confidential unpublished works. Copyright © 2012-2020 Dolby Laboratories.All rights reserved.

The Bluetooth® word mark and logos are registered trademarks owned by Bluetooth SIG, Inc. and any use of such marks by MMD Hong Kong Holding Limited is under license. Other trademarks and trade names are those of their respective owners.

Specifications are subject to change without notice. Please visit http://www.philips.com/support for the latest updates and documents. Philips and the Philips Shield Emblem are registered trademarks of Koninklijke Philips N.V. and are used under license. This product has been manufactured by and is sold under the responsibility of MMD Hong Kong Holding Limited. or one of its affiliates, and MMD Hong Kong Holding Limited. is the warrantor in relation to this product.


Suggested wall mounting height

* Power cord quantity and plug type vary by regions.






















