
FUSION® ApolloTM MS-ERX400
OWNER’S MANUAL

Getting Started
WARNING
See the Important Safety and Product Information guide in the product box for product warnings and other important information.
The ERX400 wired remote control is an optional accessory for compatible Fusion ® stereos. For a list of compatible stereos, go to garmin.com/account/register/ or consult your Fusion dealer.
To help you understand how the remote control works, this manual contains general operational instructions and information about settings for the remote control. The available features and functions of the remote control vary based on the stereo you are controlling and the types of sources connected to the stereo. For specific information about your stereo, and instructions for controlling and customizing the sources on your stereo, download the stereo owner’s manual on the Fusion website.
NOTE: This remote control must be connected to a Fusion PartyBus ™ network or directly to a compatible
Fusion and configured correctly. See the installation instructions provided with the remote control and with the other stereos on the network for network installation and configuration instructions.
Controls
Dial | • Turn to adjust the volume. • When adjusting the volume, press to switch between zones. • Turn to move through the menus or adjust a setting. • When in a menu, press to select the highlighted option. • Press and hold to activate certain functions such as opening the radio presets or muting all connected stereos from the mute screen (Muting all Connected Stereos, page 5). |
| • Press to turn on the remote control. • Press to mute and un-mute the audio. • Press and hold to turn off the stereo or all stereos on the network. • Press and hold for longer than 10 seconds to reset the remote control. NOTE: The stereo turns on and off when you turn the connected remote control on or off. | |
![]() | • Press to open the menu. • Press to return to the previous screen from the menu. • Press and hold to exit the menu. |
![]() | Press to select a source. TIP: You can turn the dial to browse, and press the dial to select the source. Press and hold to open the GROUPS menu when connected to a Fusion PartyBus network (Fusion PartyBus Networking, page 6). |
| • Press to skip to the previous track when using an applicable source. • Press and hold to rewind the track when using an applicable source. • AM/FM: ◦ Press to tune to the previous station or preset. ◦ Press and hold for faster tuning (manual mode only). • AUX: Press to decrease the gain. • SIRIUSXM source: ◦ In Live Mode, press to tune to the previous station or preset. ◦ In Live Mode, press and hold for faster tuning, in Manual mode only. ◦ In Replay Mode, press to skip to the previous track. ◦ In Replay Mode, press and hold to rewind the current track. • DAB source: ◦ Press to return to the previous DAB station in the ensemble. When you reach the beginning of the current ensemble, the stereo automatically changes to the last available station in the previous ensemble. ◦ Press and hold to return to the previous DAB ensemble. |
| • BT or USB: Press to pause or resume the current track. • AM/FM: ◦ Press to cycle through the tuning modes (auto, manual, and presets). ◦ Press and hold to save the current station as a preset. • SIRIUSXM source: ◦ Press and hold to switch between Replay Mode and Live Mode. ◦ In Live Mode, press to cycle through the tuning modes (Manual, Category, and Preset). ◦ In Replay Mode, press to pause and play. • DAB: ◦ Press to scan for DAB stations. ◦ Press and hold to save the current station as a preset. | |
| • Press to skip to the next track, when using an applicable source. • Press and hold to fast-forward the track when using an applicable source. • AM/FM: ◦ Press to tune to the next station or preset. ◦ Press and hold for faster tuning (manual mode only). • AUX: Press to increase the gain. • SIRIUSXM source: ◦ In Live Mode, press to tune to the next station or preset. ◦ In Live Mode, press and hold for faster tuning, in Manual mode only. ◦ In Replay Mode, press to skip to the next track, if applicable. ◦ In Replay Mode, press and hold to fast-forward the current track, if applicable. • DAB source: ◦ Press to advance to the next DAB station in the ensemble. When you reach the end of the current ensemble, the stereo automatically changes to the first available station in the next ensemble. ◦ Press and hold to advance to the next DAB ensemble. |
Using the Dial to Select Items
You can use the dial to highlight and select items on the screen.
- Turn the dial to highlight an item on the screen.
- Press the dial to select the highlighted option.
Entering Text
- In a field that allows you to enter text, select
to erase the existing characters. - If necessary, select
or
use numerals, symbols, or lower-case letters when available. - Turn the dial to choose a character, and press the dial to select it.
- Select to save the new text.
Remote Control Screen
The information displayed on the screen varies depending on the source selected. This example shows a track playing on a device connected using Bluetooth ® wireless technology.
- Source name
- Active zone and status icons (Network Status Icons, page 11)
- Track details (if available)
- Album art (if available from a compatible source)
- Elapsed time, track duration, and the current track number out of the total number of tracks in the playlist (if available)
Naming the Device
You should enter a unique name for this device so you can easily identify it when viewing devices on the Fusion PartyBus network.
NOTE: For further customization, you can provide unique names for the sources on each stereo and turn off unused sources. For more information, see the stereo owner’s manual.
- Select
> SETTINGS. - Select the device to rename.
- Select DEVICE NAME, and enter a unique name for the device.
Setting the Home Zone
The home zone is the speaker zone that you adjust by default when you turn the dial on the remote control.
The home zone can be assigned to any speaker zone on a compatible stereo on the Fusion PartyBus network.
When you set a home zone on the remote control, the remote control will be associated with that stereo for playback control as the default.
- Select
> SETTINGS. - Select the name of this remote control.
- Select ASSIGN HOME ZONE.
- Select a zone.
Selecting a Source
- Select
. - Turn the dial to highlight a source.
NOTE: If the device is part of a group, continue turning the dial to access the sources on other devices in the group (Fusion PartyBus Networking, page 6).
If a source cannot be shared with the group, it will appear gray and you cannot select it. - Press the dial to select the source.
Adjusting the Backlight Brightness
- Select
> BRIGHTNESS. - Adjust the brightness level.
NOTE: You can adjust the backlight brightness on this remote control only. If you want to adjust the brightness on other remote controls or stereos on the network, you must adjust the setting from each remote
control or stereo directly.
Adjusting the Volume
Using this remote control, you can control the volume of any zone on any stereo connected to the Fusion PartyBus network.
- Turn the dial to adjust the volume for the home zone on the stereo.
- If necessary, press the dial to switch between zones.
NOTE: If a stereo is part of a group, you can adjust the volume of all stereos in the group or individual zones on each stereo (Fusion PartyBus Networking, page 6).
Muting all Connected Stereos
You can quickly mute the audio from this stereo or from all stereos connected to the Fusion PartyBus network (Fusion PartyBus Networking, page 6).
- From any source, press.
The mute symbol appears and audio from this stereo is silenced.
NOTE: If the stereo is part of a group, the audio from all grouped stereos is silenced. - Press and hold the dial to select MUTE SYSTEM.
Audio from all connected stereos is silenced. - Press and hold the dial to select UNMUTE SYSTEM.
Audio is restored to all connected stereos.
Adjusting the Subwoofer Level
You can adjust the subwoofer level for each zone.
- Press the dial, and select a zone with a connected subwoofer.
- Press and hold the dial.
The SUB LEVEL adjustment for the zone appears. - Adjust the subwoofer level and press the dial to set it.
Maintaining Individual Zone Volume Levels
If you adjust the volume levels of individual zones so that some zones are louder than others, the individual zone volume settings are all affected when you adjust the volume for ALL zones. By default, if you adjust the volume for ALL to 00, this sets the volume levels for all zones to 00 and resets all individual zone volume adjustments. You can enable the KEEP VOLUME RATIOS option to retain individual zone volume adjustments when you adjust the volume for ALL to 00.
NOTE: This setting applies to volume adjustments on the stereo or a connected ERX400 remote control only. If you adjust the volume on the stereo using a connected Chartplotter or NRX remote control, the volume levels will still be reset.
TIP: For the best results when enabling this setting, you should set the power-on volume limit on the home zone stereo to 24. See the stereo Owner’s Manual for more information.
- Select
> SETTINGS. - Select the name of the remote control.
- Select KEEP VOLUME RATIOS.
Turning Off Devices on the Network
You can turn off this remote control and home zone stereo or you can turn off all devices connected to the network.
- Hold
. - Select an option:
• Select TURN OFF to turn off this remote control and its assigned home zone stereo.
• Select ALL OFF to turn off all devices connected to the network.
Fusion PartyBus Networking
The Fusion PartyBus networking feature allows you to connect multiple compatible stereos together on a network, using a combination of wired or wireless connections.
You can group a compatible stereo, such as the Apollo RA670 stereo, with other compatible stereos connected to the network. Grouped stereos can share available sources and control media playback on all of the stereos in the group, which allows for a synchronized audio experience across the vessel. You can quickly create, edit, and break up groups as needed from any compatible stereo or remote control on the network.
You can use compatible stereos and remote controls, whether they are grouped or not, to adjust the volume of the available speaker zones for any stereo on the network.
You should refer to the installation instructions provided with your remote control when constructing the Fusion PartyBus network.
Creating a Group
Before you can create a group, you must connect multiple compatible stereos to the Fusion PartyBus network. See the installation instructions provided with your stereo for information about installing and configuring the network.
NOTE: There are some limitations and other considerations when using stereos in groups. See Grouped Stereo Source Considerations, page 7for more information.
- Select
> GROUPS.
TIP: You can hold
from any screen to open the GROUPS menu. - Select the name of the stereo you want to be the primary stereo in the group.
- Select the stereos you want to add to the group.
- Select DONE.
From the source screen, you can select a source from any stereo in the group except a zone stereo, such as the Apollo SRX400 stereo or any sources that are disabled for use on the Fusion PartyBus network.
Editing a Group
- Select
> GROUPS. - Select the name of an existing group.
- Select the stereos you want to add to or remove from the group.
- Select DONE.
Leaving a Group
You can leave the Fusion PartyBus group to play local sources on the stereo.
- Select
> GROUPS. - Select the name of the existing group you want to leave.
- Select the stereos you want to remove from the group.
- Select DONE.
Grouped Stereo Functions
After you create a group of stereos, additional functions and options are available to all stereos in the group.
- After you create a group, all of the stereos in the group share the same synchronized display.
- You can select a source from any stereo in the group, with a few limitations (Grouped Stereo Source
Considerations, page 7), and the source will play simultaneously on all stereos in the group (Selecting a Source, page 5). - You can control playback (such as pausing and skipping tracks) on any stereo in the group, and it will affect all stereos in the group.
- You can adjust the volume for any zone on any stereo in the group.
TIP: When adjusting the volume, you can select ALL to adjust the volume of all the stereos in the group at the same time.
Grouped Stereo Source Considerations
When selecting sources to play over the network, you should observe these considerations.
- You cannot share an AirPlay ® source with grouped stereos. Using AirPlay 2 software, you can play content on multiple stereos on the network, but the stereos must not be grouped.
- When audio sources are streamed over a data network, there is a slight delay in the synchronized audio that may be noticeable if you are also using an external audio source.
◦ If you have a television with an Optical Out connection to a stereo and you continue to use the television speakers, there will be a delay between the audio from the television speakers and the optical audio streamed on the grouped stereos.
◦ If you synchronize a radio station and tune that same radio station on a non-networked stereo, there will be a delay between the audio from the non-networked stereo and the audio from the radio station streamed on the grouped stereos.
◦ You can remove this delay by changing the GROUP ENABLED setting for the source, but the source cannot be shared with grouped stereos.
NOTE: You cannot change the settings when a stereo is part of a group. You must remove the stereo from the group before you can change any settings.
General Settings
Select
, select the name of the remote control, and select SETTINGS.
NOTE: If you select the name of the currently-controlled stereo before you select SETTINGS, you can adjust the settings of the stereo instead of the remote control.
When a stereo is in a group, you cannot change the settings on that stereo.
The following setting descriptions apply to the remote control only. For information about stereo-specific settings, see the stereo owner’s manual.
DEVICE NAME: Assigns a name to the remote control for better identification on the network.
LANGUAGE: Sets the language used on the remote control.
POWER OPTIONS > POWER SAVE: Disables the LCD backlight after one minute of inactivity to save battery power.
ASSIGN HOME ZONE: Assign the default zone on a connected stereo for the remote control.
NETWORK: Adjusts network settings (Network Settings, page 8).
UPDATE: Update or reset the remote control (Update Options, page 8).
ABOUT: This shows the software version for the remote control.
Update Options
Select
, select the name of the device, and select SETTINGS > UPDATE.
ERX REMOTE: Updates the remote control from a stereo connected to the ETHERNET port or the Fusion
PartyBus network using a valid software update file on a USB flash drive connected to the stereo (Software Updates, page 9).
FACTORY RESET: Restores all settings to the factory default values.
Network Settings
Select
> SETTINGS, select the name of the remote control, then select NETWORK.
DHCP CLIENT: Sets the device as a DHCP client. This is the default setting for all devices that are not configured to be a DHCP server.
STATIC IP: This allows you to set a static IP address for the device (Setting a Static IP Address, page 9).
GARMIN MARINE NETWORK: Allows the device to be used on a Garmin ®Marine Network so it can be viewed and controlled by connected Garmin chart plotters.
RESET: Resets the network configuration on the remote control to factory defaults.
DETAILS: Shows information about the network configuration.
SAVE: This allows you to save changes to the network settings.
Setting the Device as a DHCP Client
This device is set as a DHCP client by default. When set as a DHCP client, the device is configured for use on a network with a DHCP server. If no DHCP server is present on the network, the device assigns its own local IP address after a short delay.
NOTE: Although the Fusion PartyBus devices can communicate with each other without a DHCP server on the network, the devices take longer to connect to each other when you first turn them on. It is highly recommended to have one properly configured DHCP server on the network for the best results.
- Select
> SETTINGS. - Select the name of this device.
- Select NETWORK > DHCP CLIENT > SAVE.
Setting a Static IP Address
If the stereo is configured as a static IP, it is automatically assigned the IP address of 192.168.0.1. You can change this IP address.
If the stereo is a DHCP client on the network and you do not want the DHCP server to automatically assign an IP address to the stereo, you can set a static IP address.
NOTE: Every device on the network must have a unique IP address. If you select a static IP address that is the same as the IP address on the network, the devices will not work properly.
- Select
> SETTINGS. - Select the name of the remote control.
- Select NETWORK > STATIC IP.
4 Select an option:
• To set the IP address, select IP, and enter the IP address.
• To set the subnet mask, select MASK, and enter the subnet mask.
NOTE: The subnet mask must match all other devices on the network to work properly. A typical subnet mask is 255.255.255.0.
• To set the default gateway IP address, select GATEWAY, and enter the gateway IP address.
NOTE: The default gateway is typically set as the IP address of the DHCP server on the network. - Select SAVE.
More Information
Registering Your Fusion Device
Help us better support you by completing our online registration today.
- Go to garmin.com/account/register/.
- Keep the original sales receipt, or a photocopy, in a safe place.
Cleaning the Device
- Dampen a soft, clean, lint-free cloth with fresh water.
- Gently wipe the device.
Software Updates
You must update the software for this device using a connected compatible stereo or using the Fusion-Link ™ app.
For best results, you should update the software in all Fusion devices regularly.
Updating the Remote Control Software Using a USB Flash Drive
You can update the remote control software using a USB flash drive through a compatible stereo on the network.
NOTICE
Do not turn off the device or disconnect the power during a software update. Turning off the power during a software update may cause the device to become unresponsive.
NOTE:
- You cannot update the software using a USB flash drive formatted using the NTFS file system. If you encounter problems updating the device, format the USB flash drive using FAT32 and try the update process again.
- The device may restart a few times when updating. This is normal.
- You can program only newer versions of software on the device.
- Go to the software page for your device on support.garmin.com and download the update file.
- Extract the contents of the .zip file to the root of your USB storage device.
The contents of the software update are contained in a folder named Garmin. - Insert the USB storage device in the USB port of a compatible Fusion PartyBus stereo on the network.
- On the ERX400, select
> SETTINGS. - Select the name of the remote control.
- Select UPDATE > ERX REMOTE.
TIP: If the stereo with the USB storage device has a screen, you can also start the remote control update process from the UPDATE settings menu of the stereo.
The stereo transfers the update file to the remote control over the network, the remote control updates the software, and then restarts.
Updating the Remote Control Software Using the Fusion-Link App
You must connect the Fusion-Link app to the network using a wireless router or wireless access point to update the software. You cannot update the software using a Bluetooth connection.
If the Fusion PartyBus network has a wireless router or wireless access point, you can update the remote control software using the Fusion-Link app, available for compatible Apple ® or Android ™ on the Apple App SM Store or the Google Play ™ store.
NOTICE
Do not turn off the device or disconnect the power during a software update. Turning off the power during a software update may cause the device to become unresponsive.
NOTE:
- The device may restart a few times when updating. This is normal.
- You can program only newer versions of software on the device.
- Connect your mobile device to a wireless router or wireless access point on the Fusion PartyBus network.
- Open the Fusion-Link app, and verify that you can see the remote control in the app.
3 If the Fusion PartyBus is not connected to the internet, disconnect the mobile device from the wireless router or access point. - In the Fusion-Link app, select
> CHECK FOR UPDATES > MS-ERX400 > Download.
The app downloads the software update file. - If the Fusion PartyBus is not connected to the internet, after the app finishes downloading the update file, reconnect the mobile device to the wireless router or access point on the Fusion PartyBus network.
- In the Fusion-Link app, select the name of the remote control.
- Select
> GENERAL > Software Updates > Online Software Update.
The app transfers the software update to the remote control over the Wi-Fi ® network, the remote control updates the software, and then it restarts.
Troubleshooting
The stereo does not respond to keypresses
- Hold until the stereo turns off, and turn it on again to reset the stereo.
- Disconnect power to the stereo for two minutes to reset the stereo.
Network Troubleshooting
If you cannot see or connect to Fusion PartyBus devices on the network, check the following:
- Verify that only one device, either a stereo or a router, is configured as a DHCP server.
- Verify that all Fusion PartyBus devices, network switches, routers, and wireless access points are conne ctedto the network and turned on.
- Verify that wireless Fusion PartyBus devices are connected to a wireless router or wireless access point on the network.
NOTE: Wired connections are more reliable than wireless connections. If possible, you should connect devices to the network using an Ethernet cable. - You may experience wireless interference if there are many nearby wireless access points. Change the channel on your router or wireless access point to test for and correct interference.
- Connecting a Bluetooth device to a stereo configured as a wireless access point or client may reduce wireless performance. Disconnect Bluetooth devices to test for and correct interference.
- If you configured static IP addresses, verify that every device has a unique IP address, that the first three sets of numbers in the IP addresses match, and that the subnet masks on every device are identical.
- If you have made configuration changes that might be causing networking issues, reset all network settings to the factory default values.
Network Status Icons
A network-status icon is shown on some screens of the device. You can refer to this table to understand the appearance of the icon and help diagnose issues with the Fusion PartyBus network.
The device is connected correctly to a network.
The device cannot detect the network. An Ethernet cable may not be connected or there may be other problems with the network.
Specifications
| Dimensions (W × H) | Dimensions (W × H) |
| Dust cover dimensions (W × H) | Dust cover dimensions (W × H) |
| Weight (excluding cable) | Weight (excluding cable) |
| Input voltage | Input voltage |
| Current (normal operation at 12 Vdc) | Current (normal operation at 12 Vdc) |
| Current (normal operation at 14.4 Vdc) | Current (normal operation at 14.4 Vdc) |
| Current (device off) | Current (device off) |
| Fuse | Fuse |
| Compass-safe distance | Compass-safe distance |
| Operating temperature | Operating temperature |
| Storage temperature | Storage temperature |
| Water rating | Water rating |
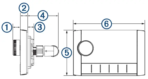
Dimensions
| Item | Measurement |
| 1. | 12.3 mm (0.48 in.) |
| 2. | 10 mm (0.39 in.) |
| 3. | 10.9 mm (0.43 in.) |
| 4. | 49.1 mm (1.93 in.) |
| 5. | 70 mm (2.76 in.) |
| 6. | 110 mm (4.32 in.) |
1The device withstands incidental exposure to water of up to 1 m for up to 30 min and is protected against powerful jets of water. For more information, go to www.garmin.com/waterrating.
Index
| B backlight 5 brightness 5 | M mute 5 |
| D device cleaning 9 registration 9 | N name 4 network 6, 7, 9, 11 |
| F factory settings 8 Fusion PartyBus network 8 | P power 6 product registration 9 |
| G groups 7 creating 6 editing 7 | R registering the device 9 |
| H home zone 4 | S settings 6, 8 software updates 10 source 5, 7 speaker zones 5 home 4 subwoofer 5 |
| I icons 11 | T tone 8 troubleshooting 11 |
| K keys 3, 8 | V volume, adjusting 5, 6 |
| L language 8 | W Wi-Fi technology 8 |
FUSION SUPPORT
New Zealand
09 369 2900
Australia
1300 736 012
Europe
+44 (0) 370 850 1244
USA
623 580 9000
Pacific
+64 9 369 2900





















